Urządzenie do badania oporów cięcia, zwłaszcza mięsa
Alternative title
Apparatus for testing cutting resistance
Type
Patent
Subtype
Utility model
Authors/Creators
Publisher
Urząd Patentowy Rzeczypospolitej Polskiej
Date
1998
Abstract PL
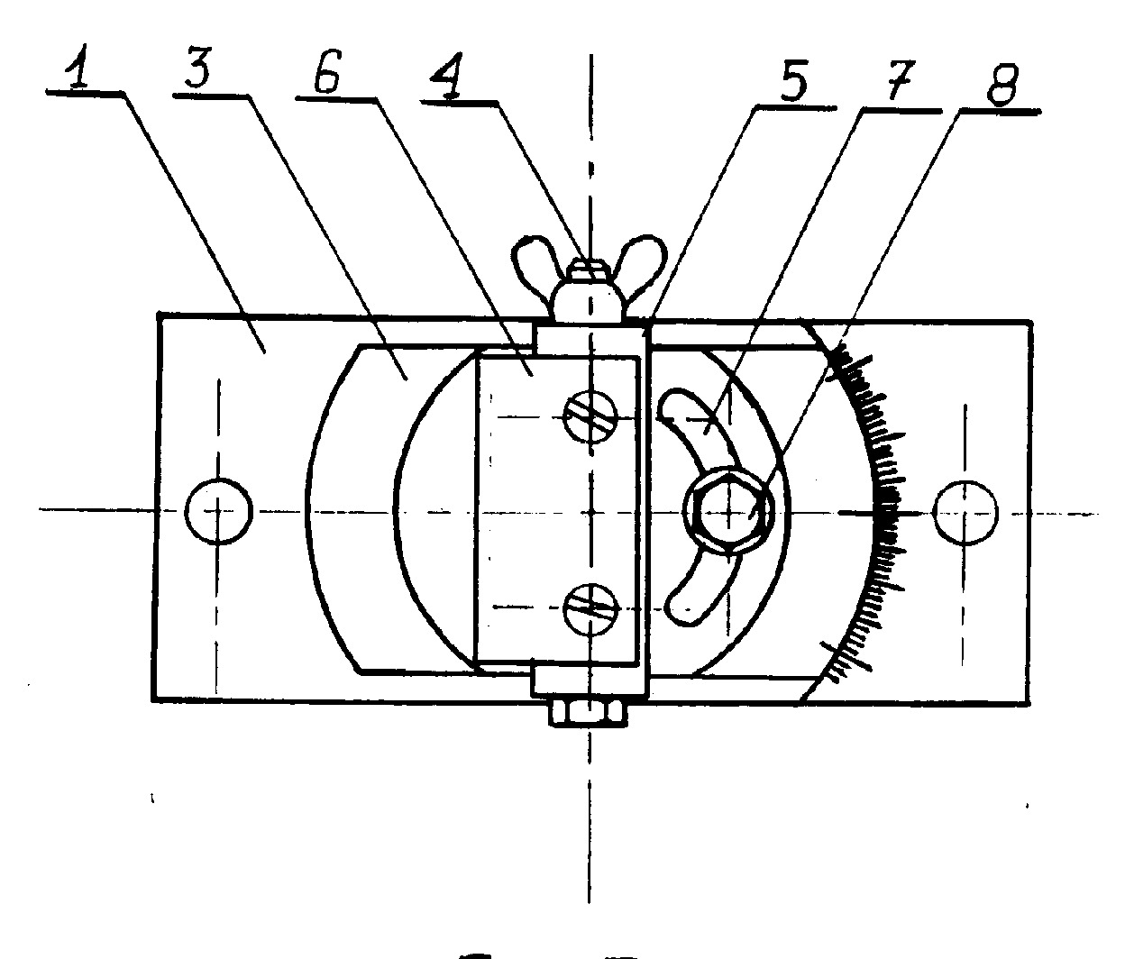
Urządzenie do badania oporów cięcia, zwłaszcza mięsa, zamocowane suwliwie na łożu, napędzane regulowanym siłownikiem hydraulicznym, składa się z płaskiej podstawy (1), na której umieszczona jest, zamocowana obrotowo na osi, symetryczna nadstawka (3) w kształcie odcinka koła, współpracująca podziałką na jednym z owali z podziałką kątową na podstawie (1), do której na płaszczyznach odcięć, protopadłych do podstawy, zamocowany jest obrotowo na śrubie (4) stolik (5) o przekroju poprzecznym w kształcie litery "c", obejmujący swoimi ramionami odcięcie nadstawki (3), a na blacie stolika (5) zamocowany jest nieruchomo nóż (6), przy czym przy jednym z owali nadstawki (3) wykonany jest przelotowy otwór nerkowy (7), współpracujący ze śrubą (8) w podstawie, unieruchamiającą nadstawkę (3).
Date of filing with the Polish Patent Office or with the competent office abroad
1998-11-06
Date of publication in ‘WUP’ or equivalent foreign bulletin
2003-02-28
Exclusive right number
Ru.059562
Statistics
Opielak, M., & Bratos, D. (1998). Urządzenie do badania oporów cięcia, zwłaszcza mięsa. Urząd Patentowy Rzeczypospolitej Polskiej. https://hdl.handle.net/20.500.14629/18123

Loading...
Files
miniaturka.jpg
JPG 135.28 KB
Licence
Accessibility issue?Request a WCAG-compliant file
Publication available in collections: