Mechanizm wychylania tablic reklamowych i ich odchylania
Alternative title
Mechanism for tilting and deflecting advertising boards
Type
Patent
Subtype
Invention
Authors/Creators
Publisher
Urząd Patentowy Rzeczypospolitej Polskiej
Date
2023
Abstract PL
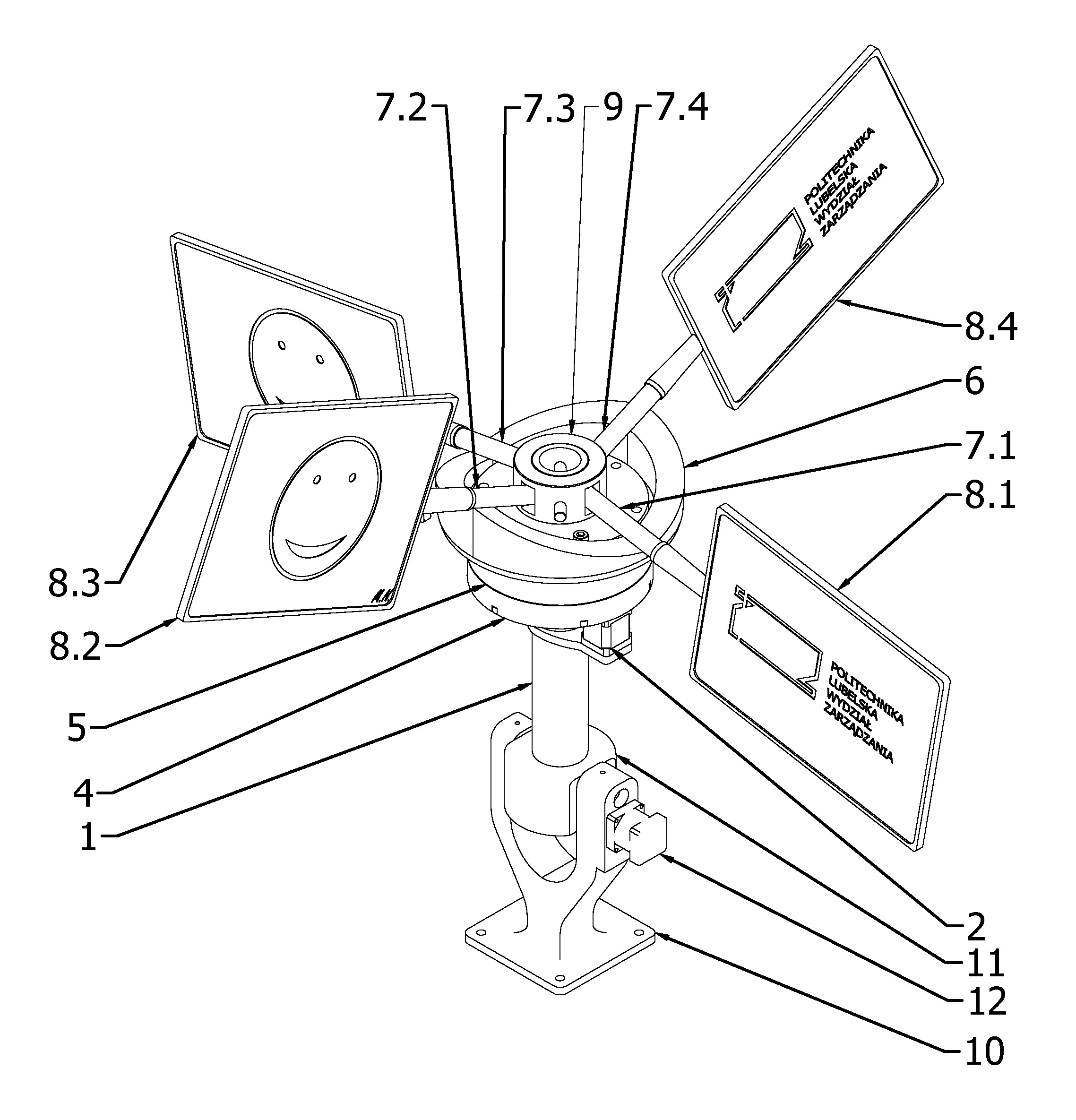
Przedmiotem zgłoszenia jest mechanizm wychylania tablic reklamowych i ich odchylania, zamocowany na słupie (1), do którego zamocowany jest silnik elektryczny (2). Charakteryzuje się on tym, że na wale silnika elektrycznego (2), ułożonego równolegle do słupa (1) zamocowane jest pierwsze koło zębate zazębione z wewnętrznym kołem zębatym (4), w osi którego znajduje się słup (1). Wewnętrzne koło zębate (4) połączone jest swoją górną podstawą z dolną podstawą pierwszej tulei (5) ułożyskowanej na słupie (1), której górna podstawa połączona jest z dolną podstawą tulei krzywkowej (6), w osi której znajduje się słup (1). Górna powierzchnia tulei krzywkowej (6) jest powierzchnią krzywkową, z którą styka się powierzchnia boczna pręta (7.1, 7.2, 7.3, 7.4), tudzież na jego pierwszym końcu zamocowana jest na stałe tablica reklamowa (8.1, 8.2, 8.3, 8.4). Drugi koniec pręta (7.1, 7.2, 7.3, 7.4) zamocowany jest za pomocą zawiasu do słupa (1) powyżej tulei krzywkowej (6). Słup (1) zamocowany jest w podstawie (10) mechanizmu posiadającej dwa równoległe ramiona, pomiędzy którymi zamocowany jest uchylnie uchwyt (11), który połączony jest z podstawą (10) za pomocą trzpieni zamocowanych współosiowo w bocznych ścianach uchwytu (11) i zamocowanych obrotowo w otworach znajdujących się w podstawie (10). Do bocznej ściany podstawy (10) zamocowany jest drugi silnik elektryczny (12) z wałem znajdującym się w wybraniu ściany bocznej podstawy (10). Do wału drugiego silnika elektrycznego (12) zamocowane jest koło ze znajdującym się od strony jego podstawy trzpieniem, ułożonym niewspółosiowo do osi koła. Trzpień znajduje się w rowku prowadzącym znajdującym się w ścianie bocznej uchwytu (11), zaś dłuższe ściany rowka prowadzącego są ułożone wzdłuż osi słupa (1). Opcjonalnie silnik elektryczny (2) jest silnikiem krokowym połączonym z modułem sterującym oraz silnik elektryczny (2) podłączony jest do modułu sterującego, który podłączony jest do czujnika ruchu. Drugi silnik elektryczny (12) jest silnikiem krokowym połączonym z modułem sterującym. Drugi silnik elektryczny (12) podłączony jest do modułu sterującego, który podłączony jest do czujnika ruchu.
Date of filing with the Polish Patent Office or with the competent office abroad
2023-12-19
Date of publication in ‘WUP’ or equivalent foreign bulletin
2025-03-17
Exclusive right number
Pat.246871
Statistics
Skowron, Ł., Gąsior, M., Rzepka, A., Przysucha, B., Laskowski, J. F., Skowron, S., & Cichorzewska, M. (2023). Mechanizm wychylania tablic reklamowych i ich odchylania. Urząd Patentowy Rzeczypospolitej Polskiej. https://hdl.handle.net/20.500.14629/18519

Loading...
Files
miniaturka.jpg
JPG 485.48 KB
Licence
Accessibility issue?Request a WCAG-compliant file
Publication available in collections: