Pojemnik ze wskaźnikiem wypełnienia, zwłaszcza dla osób niewidomych
Alternative title
Container with a fill indicator, in particular for blind persons
Type
Patent
Subtype
Invention
Authors/Creators
Publisher
Urząd Patentowy Rzeczypospolitej Polskiej
Date
2020
Abstract PL
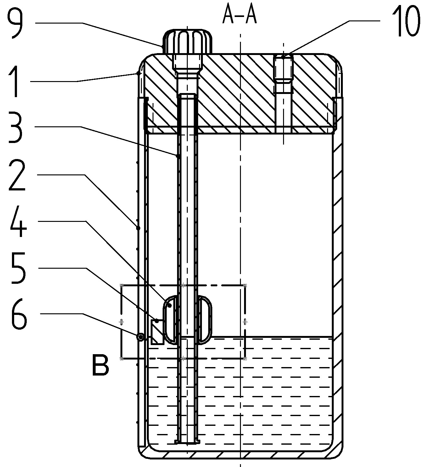
Przedmiotem zgłoszenia jest pojemnik ze wskaźnikiem wypełnienia, zwłaszcza dla osób niewidomych posiadający korpus, nakrętkę, pływak i magnes charakteryzuje się tym, że do nakrętki (1) w pobliżu ścianki korpusu (2) zamocowana jest prowadnica (3) skierowana w stronę dna korpusu (3), na której umieszczony jest przesuwnie pływak (4), do którego przymocowany jest magnes (5). Na ściance korpusu (3) znajduje się prowadnica, w której znajduje się element ferromagnetyczny (6). Na ściance korpusu (3) w sąsiedztwie prowadnicy znajduje się wypukła podziałka.
Date of filing with the Polish Patent Office or with the competent office abroad
2020-03-27
Date of publication in ‘WUP’ or equivalent foreign bulletin
2022-11-21
Exclusive right number
Pat.241695
Statistics
Nowicki, M., Pasierbiewicz, K., & Ciecieląg, K. (2020). Pojemnik ze wskaźnikiem wypełnienia, zwłaszcza dla osób niewidomych. Urząd Patentowy Rzeczypospolitej Polskiej. https://hdl.handle.net/20.500.14629/17532

Files
miniaturka.jpg
JPG 187.19 KB
Licence
Accessibility issue?Request a WCAG-compliant file
Publication available in collections: