Sposób wyciskania zewnętrznych i wewnętrznych stopni wałów drążonych
Alternative title
Type
Patent
Subtype
Invention
Authors/Creators
Publisher
Urząd Patentowy Rzeczypospolitej Polskiej
Date
2013
Abstract PL
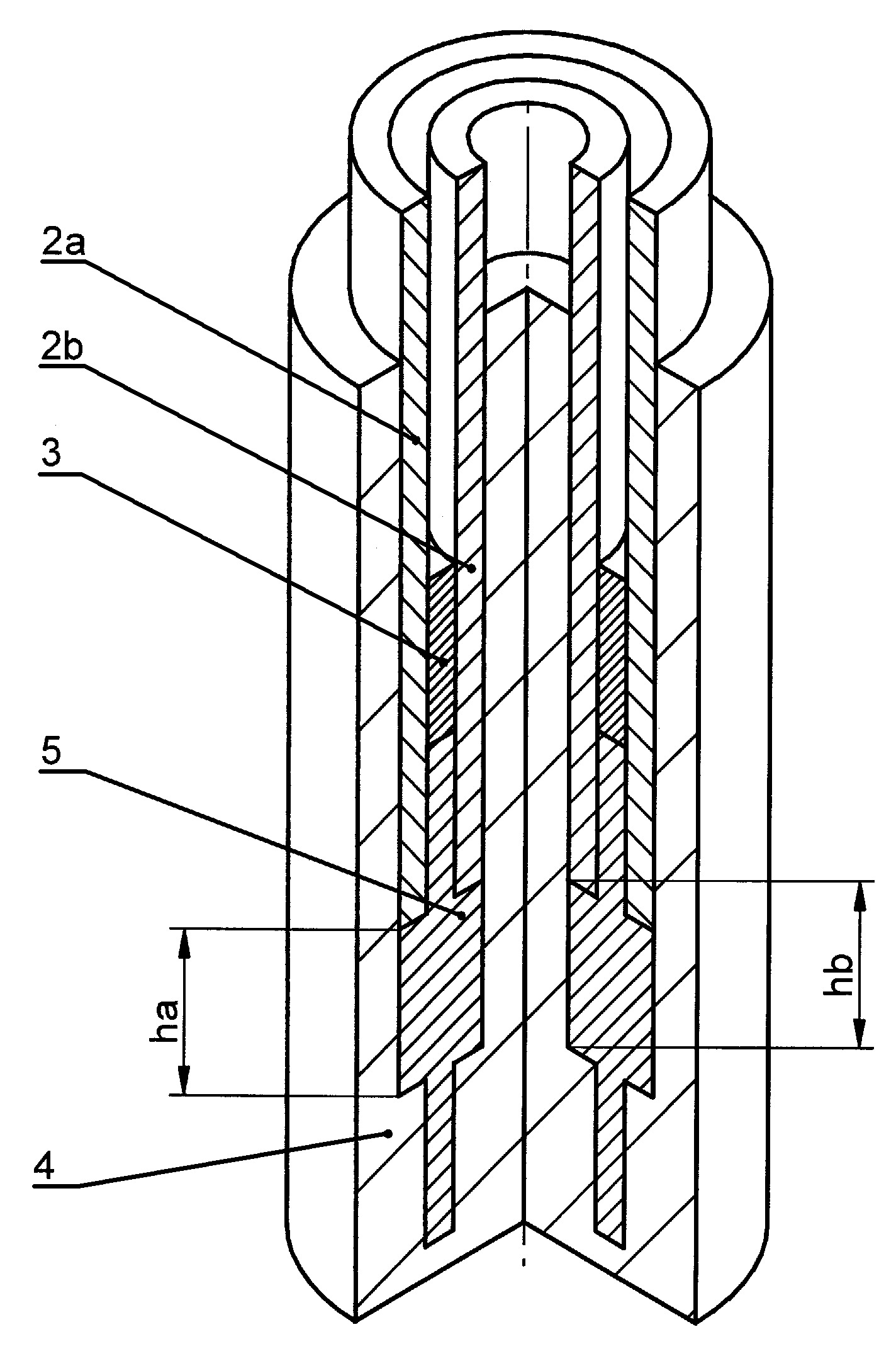
Sposób wyciskania zewnętrznych i wewnętrznych stopni wałów drążonych charakteryzuje się tym, że półfabrykat w kształcie odcinka rury o grubości ścianki rury i średnicy zewnętrznej rury umieszcza się współosiowo w matrycy (4) w kształcie stopniowanej wewnętrznie tulei. Następnie umieszcza się stempel (3) współosiowo do półfabrykatu, po czym ustawia się tuleję (2a) współosiowo do półfabrykatu w odległości w zakresie od połowy grubości ścianki rury do trzykrotnej wartości średnicy zewnętrznej rury od powierzchni czołowej matrycy (4) oraz ustawia się tuleję (2b) współosiowo do półfabrykatu w odległości w zakresie od połowy grubości ścianki rury do trzykrotnej wartości średnicy zewnętrznej rury od powierzchni czołowej matrycy (4). Następnie wprawia się w ruch postępowy stempel (3) z prędkością w zakresie od 0,001 m/s do 100 m/s i spęcza się półfabrykat oraz wyciska się promieniowo materiał półfabrykatu, następnie wprawia się w ruch postępowy tuleję (2a) oraz tuleję (2b) z prędkością w zakresie od 0,001 m/s do 100 m/s w kierunku przeciwnym do prędkości stempla (3) i zwiększa się długość (ha) i (hb) stopni wału (5) drążonego i uzyskuje się wał (5) drążony ze stopniami o długości (ha) oraz (hb).
Date of filing with the Polish Patent Office or with the competent office abroad
2013-07-09
Date of publication in ‘WUP’ or equivalent foreign bulletin
2017-01-31
Exclusive right number
Pat.224795
Winiarski, G., & Gontarz, A. (2013). Sposób wyciskania zewnętrznych i wewnętrznych stopni wałów drążonych. Urząd Patentowy Rzeczypospolitej Polskiej. https://hdl.handle.net/20.500.14629/16866

Loading...
Files
miniaturka.jpg
JPG 383.09 KB
Licence
Accessibility issue?Request a WCAG-compliant file
Publication available in collections: