Mechanizm odchylania uchwytu wiszącej tablicy reklamowej w dwóch osiach
Alternative title
Mechanism for tilting the hanging advertising board holder in two axes
Type
Patent
Subtype
Invention
Authors/Creators
Publisher
Urząd Patentowy Rzeczypospolitej Polskiej
Date
2023
Abstract PL
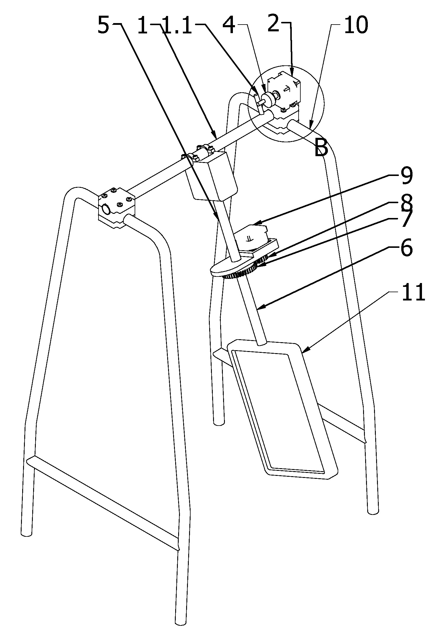
Przedmiotem zgłoszenia jest mechanizm odchylania uchwytu wiszącej tablicy reklamowej w dwóch osiach, zawierający poziomo ułożoną belkę znajdującą się pomiędzy podporami, przy czym do belki zamocowany jest uchwyt w postaci pręta skierowanego ku dołowi, do którego zamocowana jest tablica reklamowa. Charakteryzuje się on tym, że belka (1), zamocowana jest obrotowo wokół jej osi pomiędzy podporami. Do podpory zamocowany jest pierwszy silnik elektryczny (2) z wałem ułożonym równolegle do osi belki (1). Do wału pierwszego silnika elektrycznego (2) zamocowane jest koło ze znajdującym się od strony jego podstawy trzpieniem, ułożonym niewspółosiowo do osi koła. Belka (1) posiada trzpień (1.1) ułożony prostopadle do jej osi i stykający się w pozycji wyjściowej z trzpieniem zamocowanym do podstawy koła, tudzież do dolnego końca uchwytu (5) zamocowany jest obrotowo wokół jego osi pręt (6), na którym osadzony jest pierwsze koło (7) przekładni sprzężone z drugim kołem (8) przekładni, osadzonym na wale drugiego silnika elektrycznego (9) zamocowanego do uchwytu (5), przy czym osie pręta (6) oraz drugiego silnika elektrycznego (9) są korzystnie równoległe. Korzystnie pierwszy silnik elektryczny (2) oraz drugi silnik elektryczny (9) są silnikiem krokowym połączonym z modułem sterującym.
Date of filing with the Polish Patent Office or with the competent office abroad
2023-04-26
Date of publication in ‘WUP’ or equivalent foreign bulletin
2024-04-08
Exclusive right number
Pat.244971
Statistics
Skowron, Ł., Gąsior, M., Szymoniuk, B., Bojanowska, A., Laskowska, A., Jusiuk, P., & Sulimierska, A. (2023). Mechanizm odchylania uchwytu wiszącej tablicy reklamowej w dwóch osiach. Urząd Patentowy Rzeczypospolitej Polskiej. https://hdl.handle.net/20.500.14629/17906

Files
miniaturka.jpg
JPG 248.72 KB
Licence
Accessibility issue?Request a WCAG-compliant file
Publication available in collections: