Układ do detekcji oszronienia sieci trakcyjnej
Alternative title
System for detecting overhead contact line frost
Type
Patent
Subtype
Invention
Authors/Creators
Publisher
Urząd Patentowy Rzeczypospolitej Polskiej
Date
2020
Abstract PL
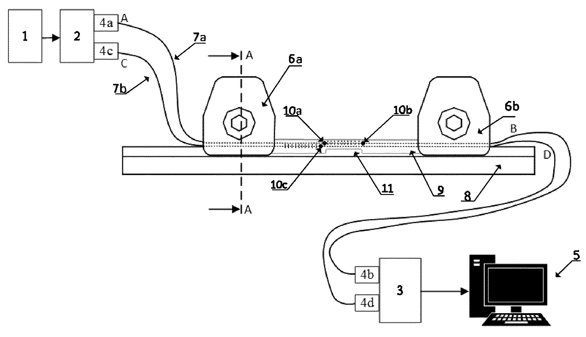
Przedmiotem wynalazku jest układ detekcji oszronienia sieci trakcyjnej, zawierający diodę superluminescencyjną (1) połączoną ze sprzęgaczem kierunkowym (2), do którego podłączony jest pierwszym końcem światłowód jednomodowy (7a) z naniesioną siatką Bragga, podłączony drugim końcem do interrogatora (3), który sprzężony jest z modułem komputerowym (5). W układzie tym pierwszy światłowód jednomodowy (7a) w części z naniesioną siatką Bragga zamocowany jest do płytki kontrolnej (9). Układ ten charakteryzuje się tym, że pierwszy światłowód jednomodowy (7a) z naniesioną siatką Bragga zamocowany jest do płytki kontrolnej (9) w miejscu przewężenia (11) w dwóch punktach mocowania (10a i 10b). Sprzęgacz kierunkowy (2), połączony jest z pierwszym końcem drugiego światłowodu jednomodowego (7b) z naniesioną siatką Bragga, który zamocowany jest do płytki kontrolnej (9) w jednym punkcie mocowania (10c), natomiast jego drugi koniec podłączony jest do interrogatora (3). Końce płytki kontrolnej (9) przymocowane są do przewodu jezdnego (8) za pomocą elementów mocujących zawieszenie sieci trakcyjnej (6a i 6b) z przewodem jezdnym (8).
Date of filing with the Polish Patent Office or with the competent office abroad
2020-06-23
Date of publication in ‘WUP’ or equivalent foreign bulletin
2021-10-11
Exclusive right number
Pat.238845
Statistics
Zieliński, D., Hołyszko, P., & Skorupski, K. (2020). Układ do detekcji oszronienia sieci trakcyjnej. Urząd Patentowy Rzeczypospolitej Polskiej. https://hdl.handle.net/20.500.14629/18036

Files
miniaturka.jpg
JPG 204.57 KB
Licence
Accessibility issue?Request a WCAG-compliant file
Publication available in collections: