Wiatrak reklamowy z obracanymi i rozsuwanymi tablicami
Alternative title
Advertising windmill with rotating and extendable boards
Type
Patent
Subtype
Invention
Authors/Creators
Publisher
Urząd Patentowy Rzeczypospolitej Polskiej
Date
2023
Abstract PL
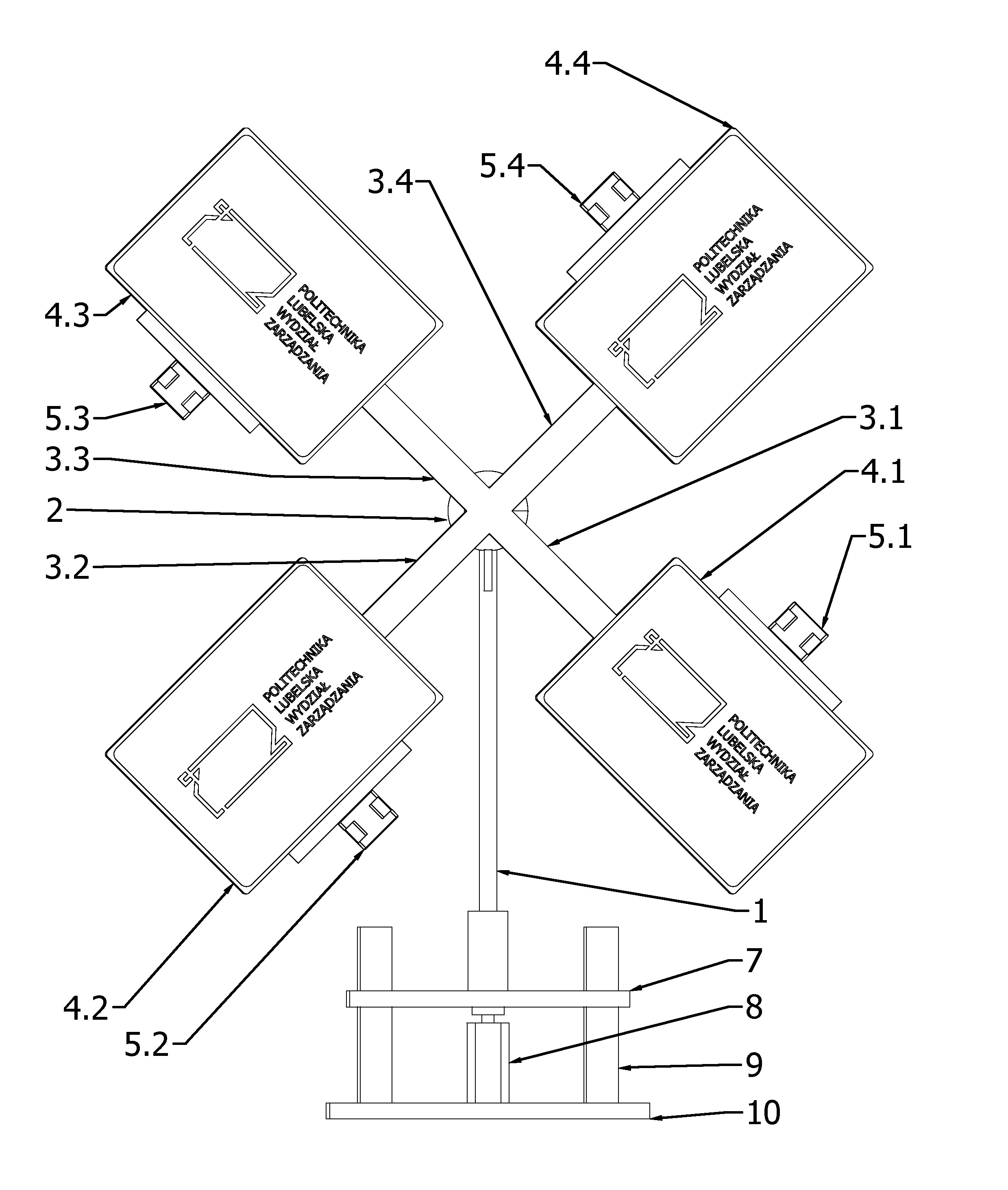
Przedmiotem zgłoszenia jest wiatrak reklamowy z obracanymi i rozsuwanymi tablicami, zamocowany na słupie (1), do którego zamocowany jest silnik elektryczny (2). Charakteryzuje się on tym, że na wale silnika elektrycznego (2), o osi ułożonej prostopadle do osi słupa (1) zamocowane są pierwszymi końcami ramion (3.1, 3.2, 3.3, 3.4). Oś każdego z ramion (3.1, 3.2, 3.3, 3.4) ułożona jest prostopadle do osi silnika elektrycznego (2). W drugiej końcowej części każdego z ramion (3.1, 3.2, 3.3, 3.4) zamocowana jest obrotowo, za pomocą osi i tulei tablica reklamowa (4.1, 4.2, 4.3, 4.4), o osi obrotu ułożonej równolegle do osi pierwszego silnika elektrycznego (2), tudzież do każdego z ramion (3.1, 3.2, 3.3, 3.4) zamocowany jest osobny drugi silnik elektryczny (5.1, 5.2, 5.3, 5.4), którego wał poprzez przekładnię, korzystnie zębatą, kątową połączony jest z tuleją tablicy reklamowej (4.1, 4.2, 4.3, 4.4), przy czym tuleja osadzona jest na osi. Słup (1) zamocowany jest w dolnej części w pierwszej podstawie (7), która zamocowana jest za pomocą siłownika (8) i słupy prowadzące (9) do drugiej podstawy (10).
Date of filing with the Polish Patent Office or with the competent office abroad
2023-10-27
Date of publication in ‘WUP’ or equivalent foreign bulletin
2024-12-23
Exclusive right number
Pat.246252
Statistics
Skowron, Ł., Gąsior, M., Wit, B., Cichorzewska, M., Mieszajkina, E., Walczak-Skałecka, A., & Sobka, M. (2023). Wiatrak reklamowy z obracanymi i rozsuwanymi tablicami. Urząd Patentowy Rzeczypospolitej Polskiej. https://hdl.handle.net/20.500.14629/18617

Files
miniaturka.jpg
JPG 531.82 KB
Licence
Accessibility issue?Request a WCAG-compliant file
Publication available in collections: