Urządzenie do badania odporności na korozję naprężeniową materiałów metalicznych
Alternative title
Apparatus for testing metallic materials for their resistance to stress corrosion
Type
Patent
Subtype
Invention
Authors/Creators
Publisher
Urząd Patentowy Rzeczypospolitej Polskiej
Date
2001
Abstract PL
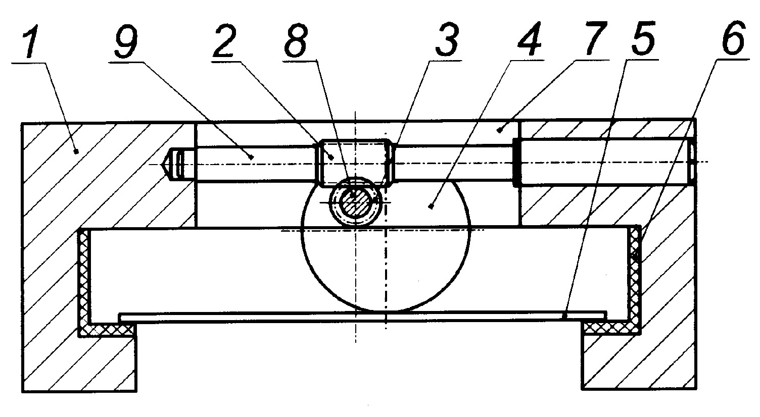
Urządzenie do badania odporności na korozję naprężeniową materiałów metalicznych składa się z korpusu (1) symetrycznego, w kształcie litery "C", w dłuższym boku którego wykonany jest centralnie prostokątny otwór (7), w którym umieszczony jest mimośrodowo napinacz (4), wykonany z materiału niemetalicznego, osadzony na wałku (8) ślimacznicy (3), usytuowanym prostopadle do dłuższej części korpusu (1), zaś ślimacznica (3) współpracuje ze ślimakiem (2) osadzonym na wałku (9) usytuowanym wzdłużnie do korpusu (1), ponadto poziome końce ramion korpusu (1) stanowią podparcie (6) próbki (5) i wykonane są z materiału niemetalicznego.
Date of filing with the Polish Patent Office or with the competent office abroad
2001-03-14
Date of publication in ‘WUP’ or equivalent foreign bulletin
2007-07-31
Exclusive right number
Pat.194834
Pałka, K., & Weroński, A. (2001). Urządzenie do badania odporności na korozję naprężeniową materiałów metalicznych. Urząd Patentowy Rzeczypospolitej Polskiej. https://hdl.handle.net/20.500.14629/17052

Loading...
Files
miniaturka.jpg
JPG 161.47 KB
Licence
Accessibility issue?Request a WCAG-compliant file
Publication available in collections: