Piła z zębami o zwiększonej powierzchni chłodzącej
Alternative title
Saw with teeth with an increased cooling surface
Type
Patent
Subtype
Invention
Authors/Creators
Publisher
Urząd Patentowy Rzeczypospolitej Polskiej
Date
2019
Abstract PL
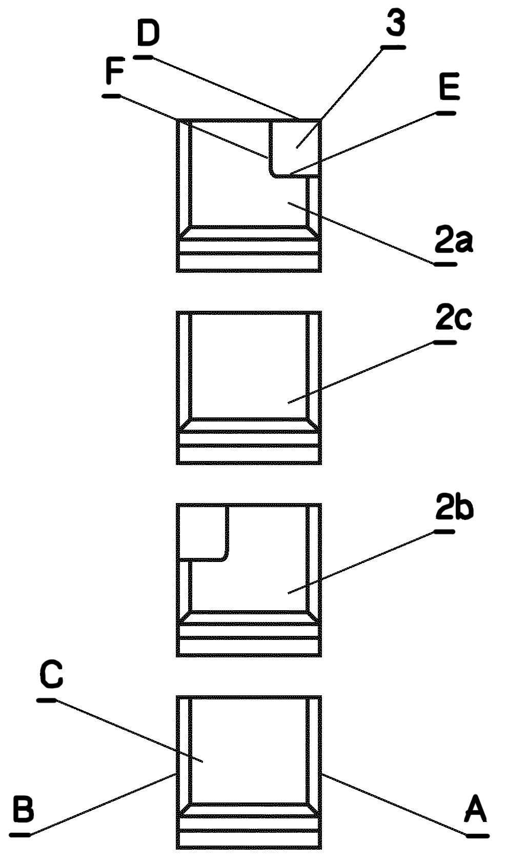
Przedmiotem zgłoszenia jest piła z zębami o zwiększonej powierzchni chłodzącej posiadająca zęba. Charakteryzuje się on tym, że piła na pierwszym zębie (2a) i drugim zębie (2b) w tylnej części płaszczyzny przyłożenia (C) posiada prostokątne zagłębienie (3), które w co drugim zębie (2a) znajduje się od prawej bocznej płaszczyzny zęba (A) a w co drugim zębie (2b) znajduje się od lewej bocznej płaszczyzny zęba (B). Zagłębienie (3) otwarte jest od przodu i wyznaczone przez pierwszą płaszczyznę (D) prostopadłą do płaszczyzny przyłożenia (C). Tył zagłębienia (3) wyznaczony jest przez drugą płaszczyznę (E) prostopadłą do płaszczyzny przyłożenia (C) i prostopadłą do płaszczyzn bocznych (A, B) zęba. Bok zagłębienia (3) ograniczony jest przez trzecią płaszczyznę (F) prostopadłą do płaszczyzny przyłożenia (C) i równoległą do płaszczyzn bocznych (A, B) zęba.
Date of filing with the Polish Patent Office or with the competent office abroad
2019-12-09
Date of publication in ‘WUP’ or equivalent foreign bulletin
2024-10-28
Exclusive right number
Pat.245881
Statistics
Przystupa, K. (2019). Piła z zębami o zwiększonej powierzchni chłodzącej. Urząd Patentowy Rzeczypospolitej Polskiej. https://hdl.handle.net/20.500.14629/17940

Files
miniaturka.jpg
JPG 152.08 KB
Licence
Accessibility issue?Request a WCAG-compliant file
Publication available in collections: