Urządzenie do sekwencyjnego oczyszczania i odzysku ciepła ze spalin emitowanych z komina
Alternative title
Device for sequential cleaning and recovery of heat from waste gases emitted from a chimney
Type
Patent
Subtype
Invention
Authors/Creators
Publisher
Urząd Patentowy Rzeczypospolitej Polskiej
Date
2018
Abstract PL
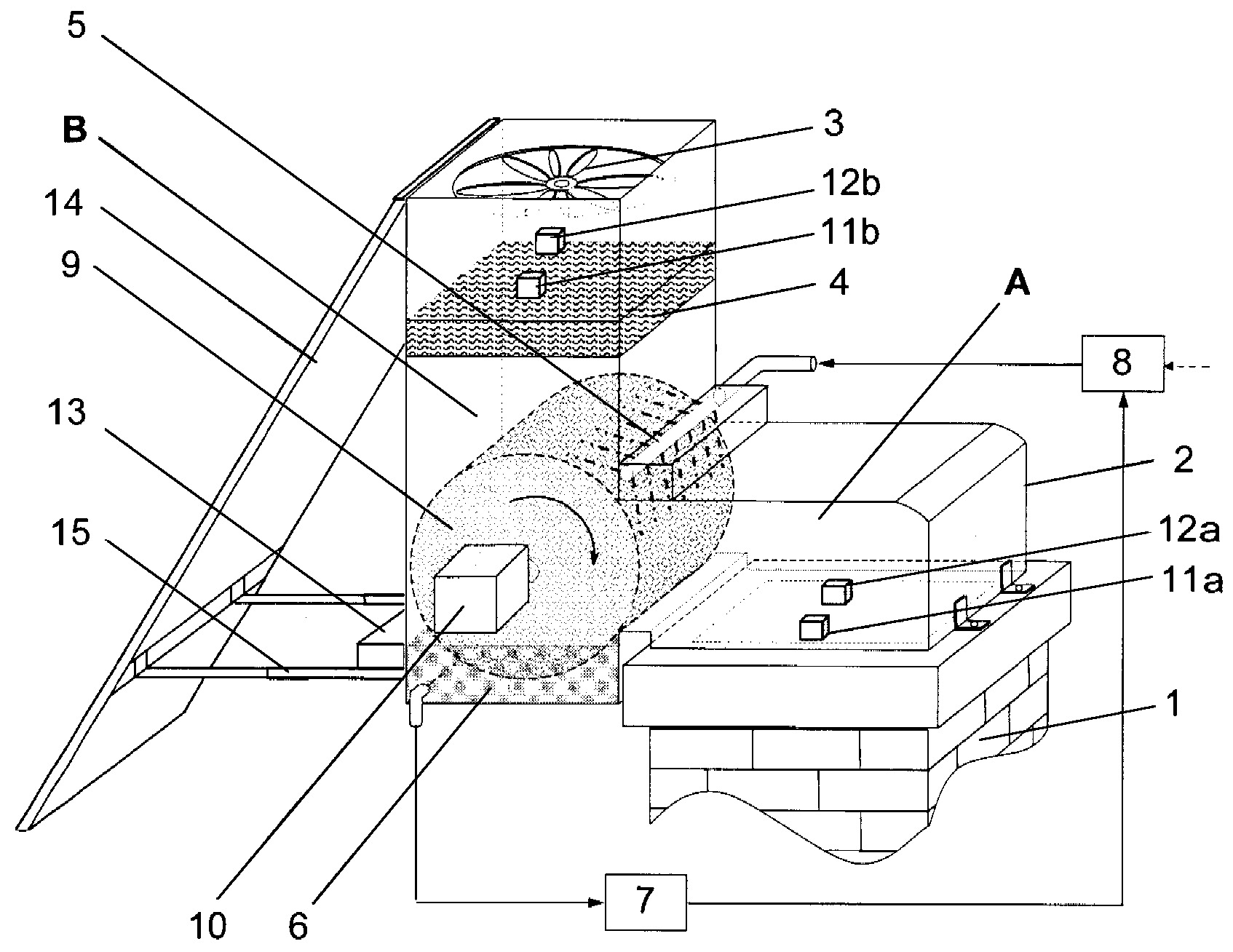
Urządzenie do sekwencyjnego oczyszczania i odzysku ciepła ze spalin imitowanych z komina składa się z zamontowanej na kominie (1) obudowy urządzenia (2), w której znajduje się sekcja odprowadzająca spaliny (A) i sekcja oczyszczająca spaliny (B). W sekcji oczyszczającej spaliny (B) znajduje się od strony wylotu wentylator (3) oraz filtr (4) i zraszacz roztworu absorpcyjnego z substancją buforową (5), pod którymi znajduje się zbiornik cieczy (6), który połączony jest z wymiennikiem ciepła (7), który z kolei połączony jest poprzez urządzenie regenerujące ciecz (8) ze zraszaczem roztworu absorpcyjnego z substancją buforową (5). W zbiorniku cieczy (6) zanurzony jest częściowo filtr ceramiczny piankowy w kształcie walca (9), którego górna część zakrywa wlot z sekcji odprowadzającej spaliny (A) do sekcji oczyszczania spalin (B). Filtr ceramiczny piankowy w kształcie walca (9) połączony jest w swojej osi prostopadłej do kierunku przepływu spalin z wałem napędowym silnika (10).
Date of filing with the Polish Patent Office or with the competent office abroad
2018-07-06
Date of publication in ‘WUP’ or equivalent foreign bulletin
2019-08-30
Exclusive right number
Pat.232868
Statistics
Połednik, B. (2018). Urządzenie do sekwencyjnego oczyszczania i odzysku ciepła ze spalin emitowanych z komina. Urząd Patentowy Rzeczypospolitej Polskiej. https://hdl.handle.net/20.500.14629/17269

Files
miniaturka.jpg
JPG 350.94 KB
Licence
Accessibility issue?Request a WCAG-compliant file
Publication available in collections: