Sposób kucia kul
Alternative title
Method for forging of balls
Type
Patent
Subtype
Invention
Authors/Creators
Publisher
Urząd Patentowy Rzeczypospolitej Polskiej
Date
2017
Abstract PL
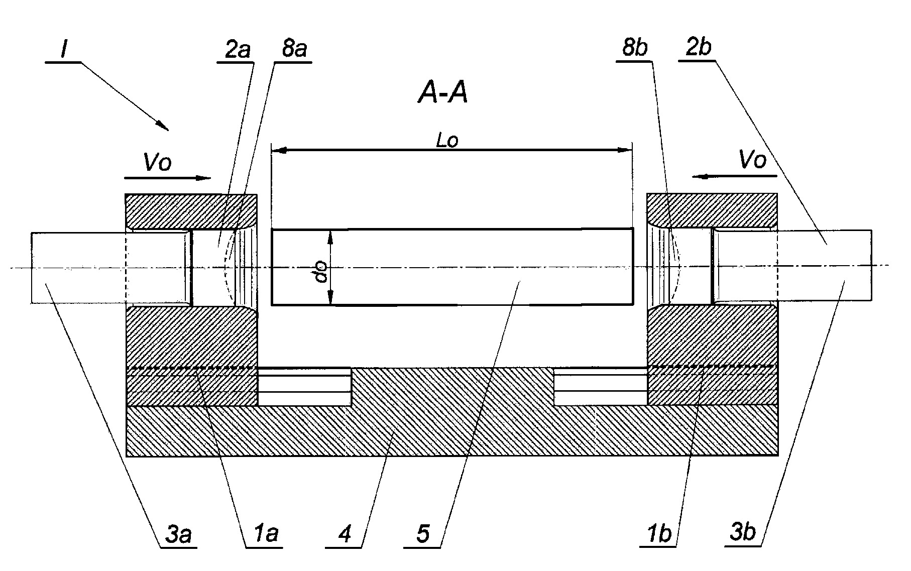
Sposób kucia kul, zwłaszcza z prętów walcowych polega na tym, że półfabrykat (5) w kształcie odcinka pręta o przekroju kołowym i średnicy (do) mniejszej od średnicy kutej kuli oraz o długości (Lo) wielokrotnie większej od średnicy kutej kuli nagrzewa się powyżej temperatury rekrystalizacji, następnie wprowadza się półfabrykat (5) do przestrzeni roboczej pierwszego zestawu narzędzi, składającego się z dwóch matryc (1a i 1b) oraz dwóch stempli (3a i 3b), po czym wprawia się dwie matryce (1a i 1b) w przeciwbieżny ruch postępowy z jednakową prędkością (Vo) i przemieszcza się dwie matryce (1a i 2b) po prowadnicy (4) w kierunku półfabrykatu (5) i wprowadza się skrajne odcinki półfabrykatu (5) do otworów cylindrycznych (2a i 2b) dwóch matryc (1a i 1b), następnie zatrzymuje się ruch postępowy dwóch matryc (1a i 1b), po czym wprawia się w przeciwbieżny ruch postępowy dwa stemple (3a i 3b) i przemieszcza się z jednakową prędkością V1 dwa stemple (3a i 3b) w otworach cylindrycznych (2a i 2b) dwóch matryc (1a i 1b) w kierunku półfabrykatu (5), następnie oddziałuje się na półfabrykat (5) wklęsłymi powierzchniami (8a i 8b) dwóch stempli (3a i 3b), po czym spęcza się swobodnie środkowy odcinek półfabrykatu (5) i jednocześnie wysuwa się skrajne odcinki półfabrykatu (5) z otworów cylindrycznych (2a i 2b) dwóch matryc (1a i 1b) i kształtuje się półwyrób o wypukłej powierzchni bocznej do kształtu baryłki i o sferycznych powierzchniach czołowych.
Date of filing with the Polish Patent Office or with the competent office abroad
2017-11-30
Date of publication in ‘WUP’ or equivalent foreign bulletin
2020-11-30
Exclusive right number
Pat.236099
Pater, Z., Tomczak, J., & Bulzak, T. (2017). Sposób kucia kul. Urząd Patentowy Rzeczypospolitej Polskiej. https://hdl.handle.net/20.500.14629/17227

Loading...
Files
miniaturka.jpg
JPG 360.79 KB
Licence
Accessibility issue?Request a WCAG-compliant file
Publication available in collections: