Sposób wyciskania zewnętrznego kołnierza
Alternative title
Type
Patent
Subtype
Invention
Authors/Creators
Publisher
Urząd Patentowy Rzeczypospolitej Polskiej
Date
2013
Abstract PL
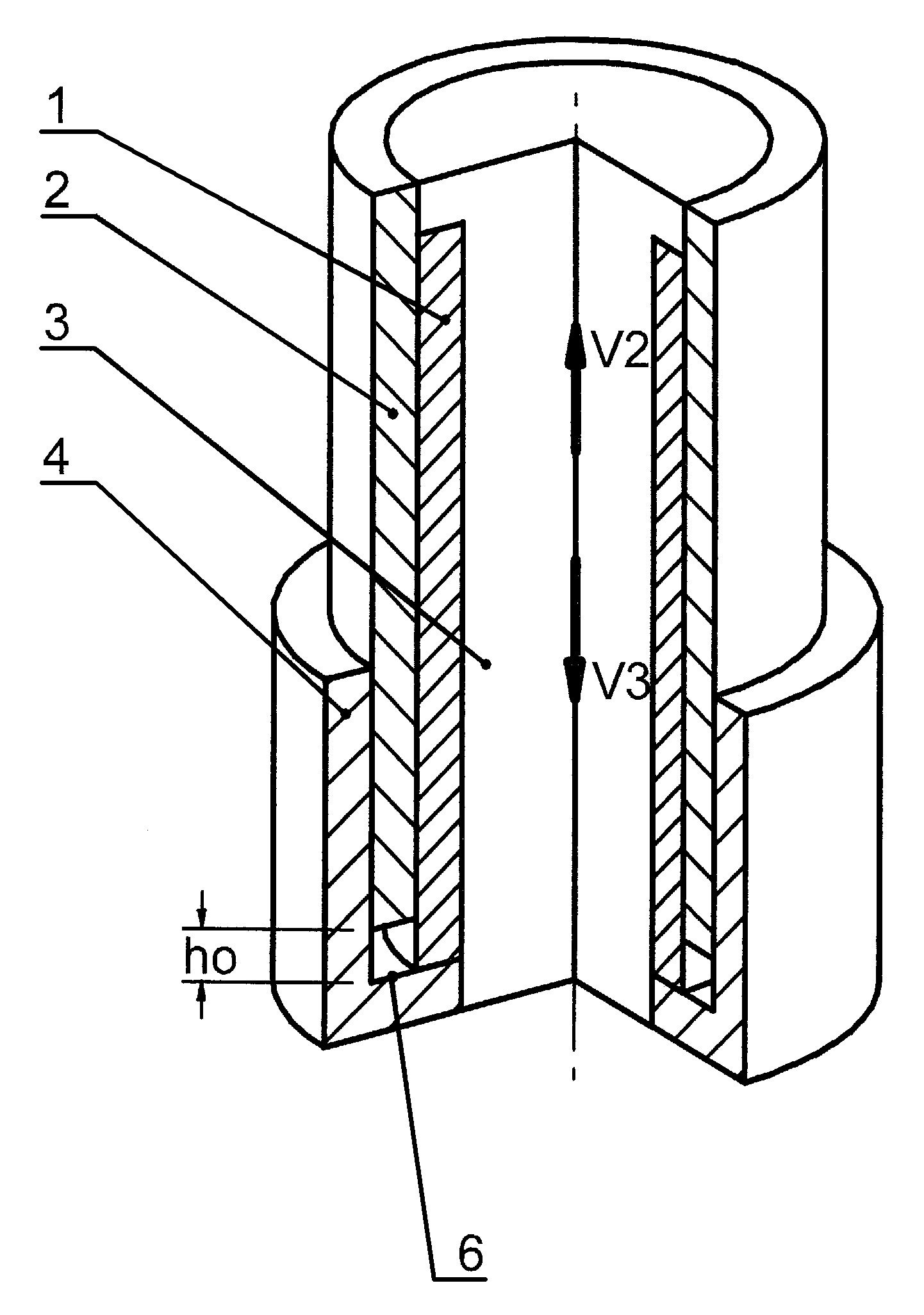
Sposób wyciskania zewnętrznego kołnierza, zwłaszcza na końcu rury charakteryzuje się tym, że półfabrykat (1) w kształcie odcinka rury o grubości g ścianki rury i średnicy D zewnętrznej rury umieszcza się współosiowo w matrycy (4) w kształcie stopniowanej wewnętrznie tulei, następnie umieszcza się stempel (3) wewnątrz półfabrykatu (1), po czym ustawia się tuleję (2) współosiowo do stempla (3) w odległości (ho) w zakresie od połowy grubości ścianki rury do trzykrotnej wartości średnicy zewnętrznej rury od powierzchni (6) czołowej matrycy (4), następnie wprawia się w ruch postępowy stempel (3) z prędkością (V3) w zakresie od 0,001 m/s do 100 m/s i spęcza się półfabrykat (1) oraz wyciska się promieniowo materiał półfabrykatu (1), następnie wprawia się w ruch postępowy tuleję (2) z prędkością (V2) w zakresie od 0,001 m/s do 100 m/s w kierunku przeciwnym do prędkości (V3) stempla (3) i zwiększa się długość kołnierza wału drążonego i uzyskuje się wał drążony z kołnierzem. Półfabrykat (1) w kształcie odcinka rury umieszcza się współosiowo w matrycy (4), która ma przekrój kołowy lub niekołowy i kształtuje się kołnierz o przekroju poprzecznym kołowym lub niekołowym wału drążonego, którego pole powierzchni przekroju poprzecznego jest stałe na całej długości kołnierza wału drążonego. Półfabrykat (1) w kształcie odcinka rury umieszcza się współosiowo w matrycy (4), której pole powierzchni przekroju poprzecznego jest zmienne na długości kołnierza wału drążonego.
Date of filing with the Polish Patent Office or with the competent office abroad
2013-07-09
Date of publication in ‘WUP’ or equivalent foreign bulletin
2016-12-30
Exclusive right number
Pat.224498
Statistics
Winiarski, G., & Gontarz, A. (2013). Sposób wyciskania zewnętrznego kołnierza. Urząd Patentowy Rzeczypospolitej Polskiej. https://hdl.handle.net/20.500.14629/16867

Loading...
Files
miniaturka.jpg
JPG 284.19 KB
Licence
Accessibility issue?Request a WCAG-compliant file
Publication available in collections: