Transformator z magazynem bezwładnościowym i sposób jego sterowania
Alternative title
Transformer with inertial storage and method of its control
Type
Patent
Subtype
Invention
Authors/Creators
Publisher
Urząd Patentowy Rzeczypospolitej Polskiej
Date
2020
Abstract PL
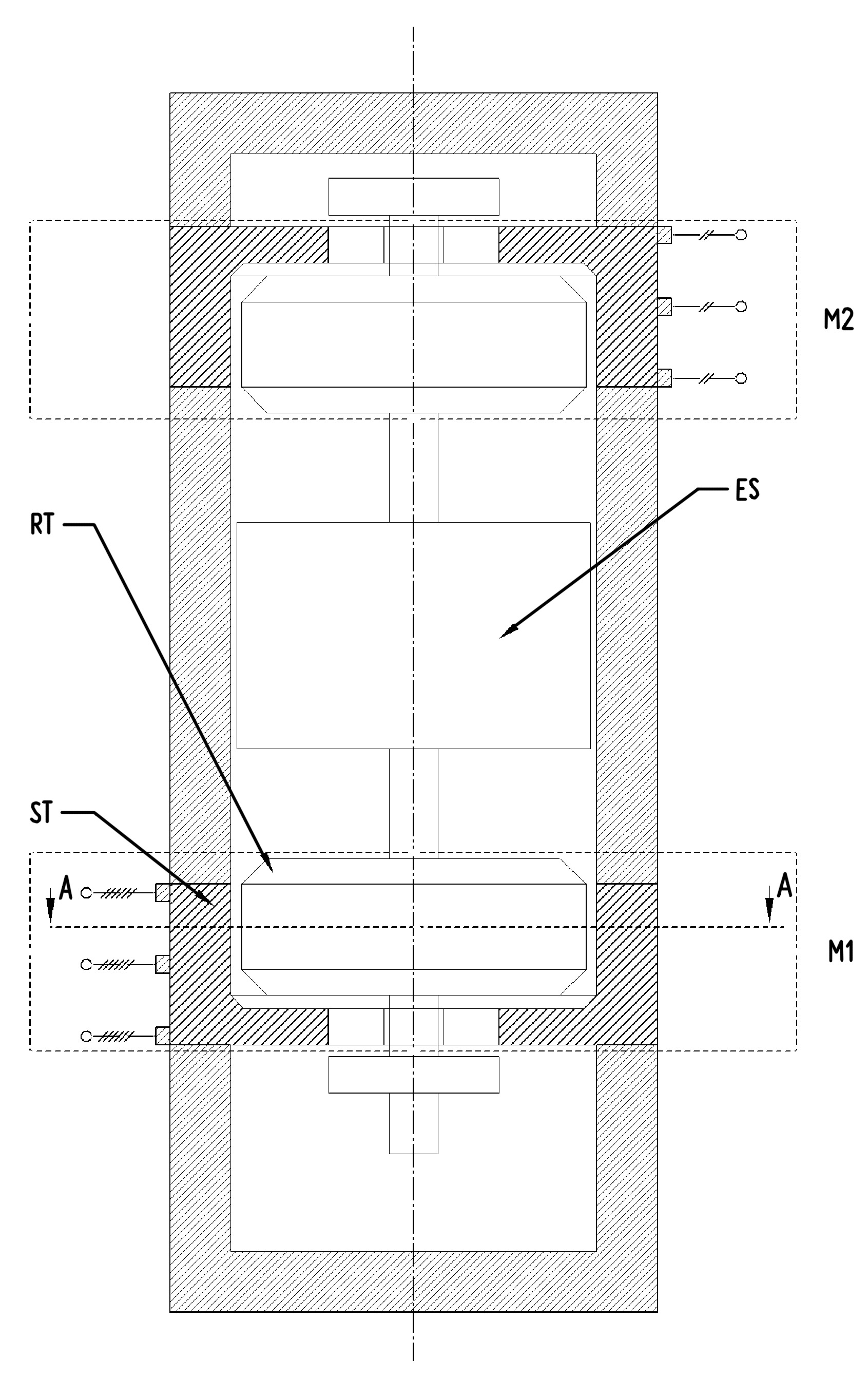
Przedmiotem zgłoszenia schematycznie przedstawionym na rysunku jest transformator z magazynem bezwładnościowym posiadający transformator mechaniczny zawierający dwie maszyny synchroniczne, wał oraz masę bezwładnościową HTES. Charakteryzuje się on tym, że składa się z trójfazowej, dziewięciouzwojeniowej maszyny synchronicznej M1 w układzie połączeń otwartych, która składa się z wirnika RT i stojana ST, na którym na parę biegunów pierwszej fazy nawinięte są pierwsze uzwojenie A1 - A4, drugie uzwojenie A2 - A5, trzecie uzwojenie A3 - A6, na parę biegunów drugiej fazy nawinięte są czwarte uzwojenie, piąte uzwojenie, szóste uzwojenie, na parę biegunów trzeciej fazy nawinięte są siódme uzwojenie, ósme uzwojenie, dziewiąte uzwojenie. Wał dziewięciouzwojeniowej maszyny synchronicznej M1 połączony jest z wałem trójfazowej maszyny synchronicznej M2 przez masę wirującą ES przy czym układ ten ułożyskowany jest w szczelnej obudowie, do której podłączona jest pompa. W trójfazowej, dziewięciouzwojeniowej maszynie synchronicznej M1 każdy układ trzech faz IPPA, IPPB, IPPC podłączony jest według następującego systemu: początek pierwszego uzwojenia A1 połączony jest z wyjściem WPA11 przekształtnika jednofazowego DC/AC P1, koniec pierwszego uzwojenia A4 połączony jest z wyjściem WPA12 przekształtnika jednofazowego DC/AC P1, początek drugiego uzwojenia (A2) połączony jest z wyjściem WPA13 przekształtnika jednofazowego DC/AC P2, koniec drugiego uzwojenia A5 połączony jest z wyjściem WPA14 przekształtnika jednofazowego DC/AC P2, początek trzeciego uzwojenia A3 połączony jest z wyjściem WPA15 przekształtnika jednofazowego DC/AC P3, koniec trzeciego uzwojenia A6 połączony jest z wyjściem WPA16 przekształtnika jednofazowego DC/AC P3. Pierwszy przekształtnik P1 połączony jest szynami prądu stałego z czwartym przekształtnikiem P4, drugi przekształtnik P2 połączony jest szynami prądu stałego z piątym przekształtnikiem P5, zaś trzeci przekształtnik P3 jest połączony szynami prądu stałego z szóstym przekształtnikiem P6. Czwarty przekształtnik AC/DC P4 połączony jest złączem P4H z przyłączem do sieci IPA oraz połączony jest złączem P4N ze złączem P5H piątego przekształtnika AC/DC P5, którego złącze P5N połączone jest ze złączem P6H szóstego przekształtnika AC/DC P6, zaś złącze P6N przekształtnika szóstego P6 połączone jest z wyjściem neutralnym INA. Uzwojenia drugiej maszyny synchronicznej M2 połączone są do siódmego przekształtnika AC/DC P7, który połączony jest szynami prądu stałego z ósmym przekształtnikiem AC/DC P8. Wyjścia IPSA, IPSB, IPSC, IPSN ósmego przekształtnika AC/DC P8 połączone są do trójfazowego wyjścia układu.
Date of filing with the Polish Patent Office or with the competent office abroad
2020-01-09
Date of publication in ‘WUP’ or equivalent foreign bulletin
2021-02-22
Exclusive right number
Pat.236796
Statistics
Zieliński, D., Fatyga, K., Stefańczak, B., & Kwaśny, Ł. (2020). Transformator z magazynem bezwładnościowym i sposób jego sterowania. Urząd Patentowy Rzeczypospolitej Polskiej. https://hdl.handle.net/20.500.14629/17691

Loading...
Files
miniaturka.jpg
JPG 743.49 KB
Licence
Accessibility issue?Request a WCAG-compliant file
Publication available in collections: