Wyzwalacz krystalizacji zasobnika ciepła utajonego, zwłaszcza stosowanego do podgrzewacza parownika gazu LPG
Alternative title
Trigger for crystallization of latent heat accumulator, especially used for the LPG gas vaporizer heater
Type
Patent
Subtype
Invention
Authors/Creators
Publisher
Urząd Patentowy Rzeczypospolitej Polskiej
Date
2021
Abstract PL
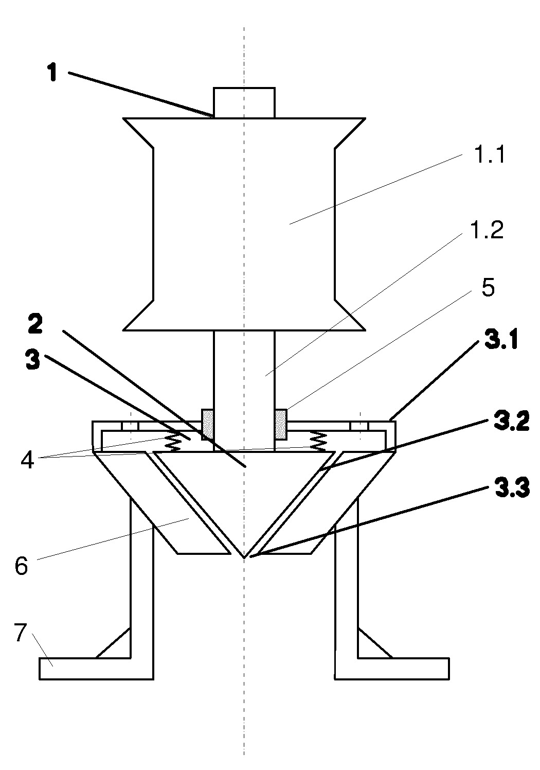
Przedmiotem wynalazku jest wyzwalacz krystalizacji zasobnika ciepła utajonego, zwłaszcza stosowanego do podgrzewacza parownika gazu LPG. Charakteryzuje się on tym, że składa się z siłownika (1), do którego końca zamocowany jest element w kształcie stożka (2) znajdującego się w zamkniętej komorze (3), której pusta przestrzeń posiada zarys stożka ściętego posiadającego pierwszą podstawę (3.1), jedną stożkową ściankę (3.2) o linii tworzącej równoległej do linii tworzącej stożka (2) i otwór wylotowy (3.3) w miejscu drugiej podstawy.
Date of filing with the Polish Patent Office or with the competent office abroad
2021-11-16
Date of publication in ‘WUP’ or equivalent foreign bulletin
2023-08-14
Exclusive right number
Pat.243375
Statistics
Pietrykowski, K., Grabowski, Ł., & Gęca, M. J. (2021). Wyzwalacz krystalizacji zasobnika ciepła utajonego, zwłaszcza stosowanego do podgrzewacza parownika gazu LPG. Urząd Patentowy Rzeczypospolitej Polskiej. https://hdl.handle.net/20.500.14629/17230

Files
miniaturka.jpg
JPG 104.63 KB
Licence
Accessibility issue?Request a WCAG-compliant file
Publication available in collections: