Uchwyt ustalająco-mocujący, zwłaszcza połączenie klejowe
Alternative title
Stabilizing and fixing holder, preferably for a glue connection
Type
Patent
Subtype
Invention
Authors/Creators
Publisher
Urząd Patentowy Rzeczypospolitej Polskiej
Date
2017
Abstract PL
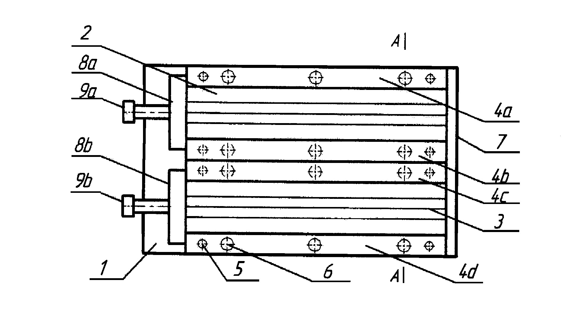
Uchwyt ustalająco - mocujący, zwłaszcza połączenie klejowe posiadający płytę prostopadłościenną składa się z części dolnej (1) korpusu w kształcie płyty prostopadłościennej, która ma dwa symetrycznie położone rowki (3) o przekroju trójkątnym, zaś w części górnej (2) korpusu posiada cztery elementy (4a, 4b, 4c i 4d) w kształcie ceowników, które górną część mają krótszą od części dolnej, przy czym elementy (4a, 4b, 4c i 4d) dolną częścią są ustalone za pomocą kołków ustalających (5) walcowych, rozmieszczonych symetrycznie na końcach elementów (4a, 4b, 4c i 4d) są zamocowane za pomocą śrub (6) mocujących, umieszczonych symetrycznie na elementach natomiast część górna (2) korpusu posiada płytę (7) oporową kształtową, przymocowaną na stałe do części górnej (2) korpusu oraz z drugiej strony posiada elementy dociskowe (8a i 8b) w kształcie płytki dociskowej kształtowej ze śrubami (9a i 9b) mocującymi.
Date of filing with the Polish Patent Office or with the competent office abroad
2017-12-04
Date of publication in ‘WUP’ or equivalent foreign bulletin
2019-11-29
Exclusive right number
Pat.233728
Rudawska, A. (2017). Uchwyt ustalająco-mocujący, zwłaszcza połączenie klejowe. Urząd Patentowy Rzeczypospolitej Polskiej. https://hdl.handle.net/20.500.14629/17790

Loading...
Files
miniaturka.jpg
JPG 190.27 KB
Licence
Accessibility issue?Request a WCAG-compliant file
Publication available in collections: