Sposób i urządzenie do badania odporności materiałów na zużycie erozyjne
Alternative title
Method of and apparatus for determining resistance of materials to erosive wear
Type
Patent
Subtype
Invention
Authors/Creators
Publisher
Urząd Patentowy Rzeczypospolitej Polskiej
Date
1996
Abstract PL
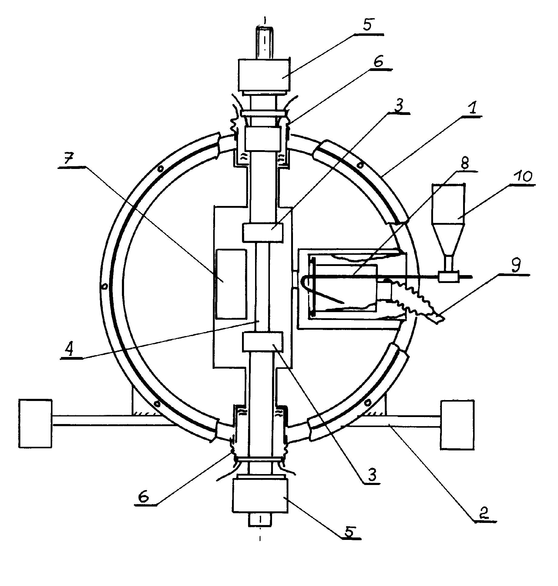
Przedmiotem wynalazku jest sposób i urządzenie do badania odporności na zużycie erozyjne materiałów w warunkach wpływu temperatur obciążeń w kontrolowanych atmosferach. Urządzenie składa się z walcowej komory (1) ze zdejmowalnymi pokrywami. Wewnątrz większej pokrywy znajduje się okienko obserwacyjne oraz przepusty próżniowe do wyprowadzenia sygnału termopary, zainstalowanej w komorze (1) oraz do zasilania urządzenia grzejnego (7). Płaską próbkę (4) badanego materiału mocuje się w uchwytach (3), chłodzonych przepływem wody lub gazu, mających przeguby (5) kulowe. Górny uchwyt (3) jest połączony z czujnikiem siły maszyny wytrzymałościowej, a dolny uchwyt (3) połączony jest z ruchomą belką tej maszyny. Komora (1) badawcza związana jest na stałe z kolumnami maszyny wytrzymałościowej za pomocą podpory (2) z uchwytami. Uchwyty (3) przechodzą przez tuleje, wspawane w pobocznicę komory (1) badawczej, a miejsce przeprowadzenia uchwytów zabezpieczone są materiałem z włókien ceramicznych i mieszkami (6) sprężystymi. Pył, używany w próbie erozji, podawany jest z zasobnika (10) do dyszy, zasilanej sprężonym powietrzem i w rurce (8) akceleracyjnej doznaje przyspieszenia.
Date of filing with the Polish Patent Office or with the competent office abroad
1996-09-12
Date of publication in ‘WUP’ or equivalent foreign bulletin
2000-12-29
Exclusive right number
Pat.180097
Statistics
Hejwowski, T. (1996). Sposób i urządzenie do badania odporności materiałów na zużycie erozyjne. Urząd Patentowy Rzeczypospolitej Polskiej. https://hdl.handle.net/20.500.14629/17442

Loading...
Files
miniaturka.jpg
JPG 286.91 KB
Licence
Accessibility issue?Request a WCAG-compliant file
Publication available in collections: