Urządzenie do skróconego startu i lądowania statku powietrznego, zwłaszcza wiatrakowca
Alternative title
Apparatus for shortened takeoff and landing aircraft especially gyroplane
Type
Patent
Subtype
Invention
Authors/Creators
Publisher
Urząd Patentowy Rzeczypospolitej Polskiej
Date
2014
Abstract PL
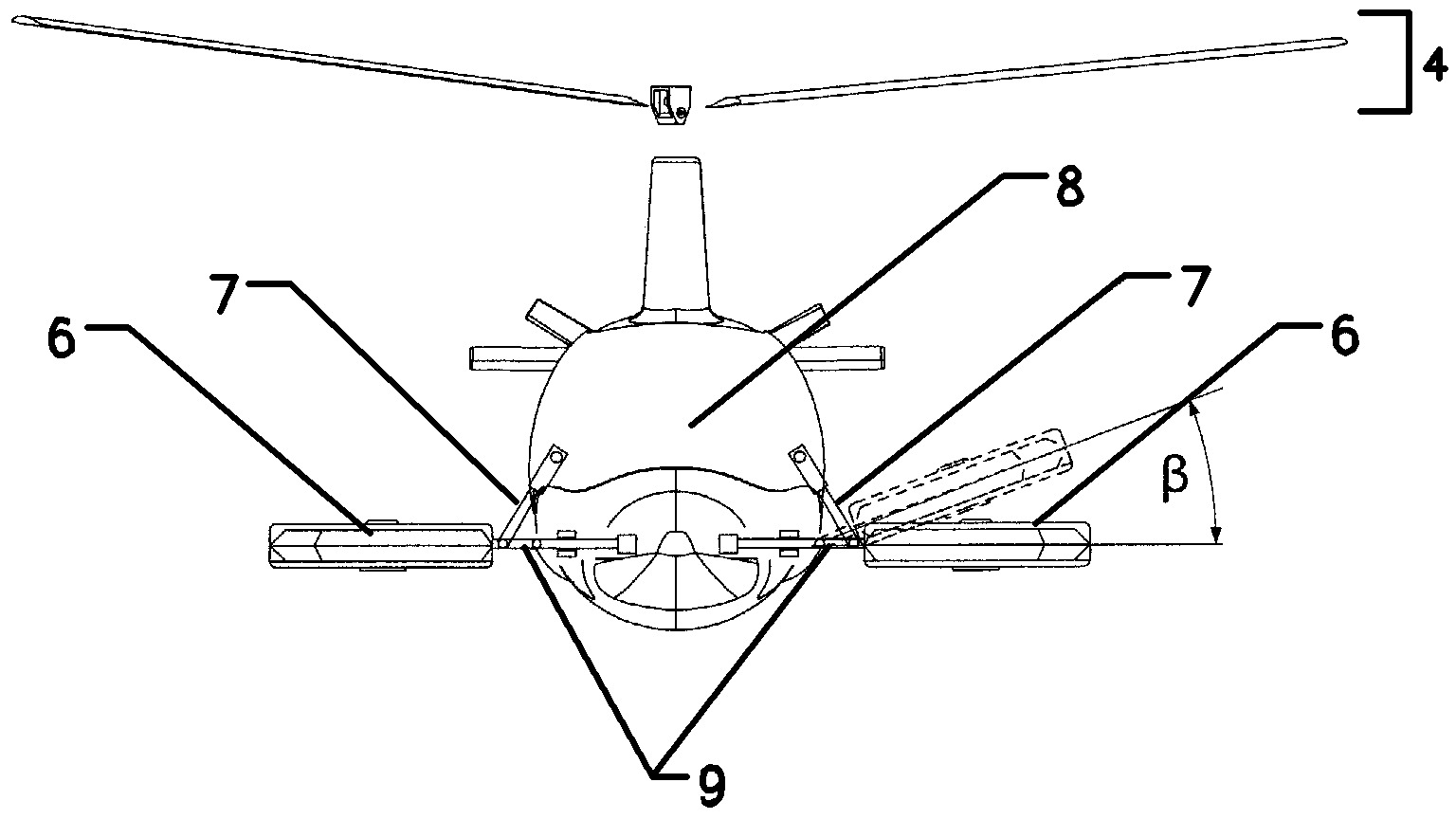
Urządzenie do skróconego startu i lądowania składa się z zespołów (6) napędowych, które zamocowane są do kadłuba (8) za pomocą osi (9) mocujących obrotowo - odchylnych. Do osi (9) mocującej i obrotowo - odchylnej zamocowane są przegubowo siłowniki (7), które wychylają zespoły w płaszczyźnie poprzecznej o kąt (ß) od 0° do 360°. W części przedniej albo tylnej kadłuba (8) zamocowany jest zespół napędowy o poziomym działaniu siły ciągu, który połączony jest z wirnikiem (4) nośnym za pomocą podzespołu rozruchowego.
Date of filing with the Polish Patent Office or with the competent office abroad
2014-04-11
Date of publication in ‘WUP’ or equivalent foreign bulletin
2018-04-30
Exclusive right number
Pat.228491
Statistics
Wendeker, M., Czyż, Z., & Pietrykowski, K. (2014). Urządzenie do skróconego startu i lądowania statku powietrznego, zwłaszcza wiatrakowca. Urząd Patentowy Rzeczypospolitej Polskiej. https://hdl.handle.net/20.500.14629/17593

Loading...
Files
miniaturka.jpg
JPG 121.21 KB
Licence
Accessibility issue?Request a WCAG-compliant file
Publication available in collections: