Sposób i urządzenie do wywijania kołnierza z rolkami prowadzącymi
Alternative title
Method and a device for flanging with guide rollers
Type
Patent
Subtype
Invention
Authors/Creators
Publisher
Urząd Patentowy Rzeczypospolitej Polskiej
Date
2013
Abstract PL
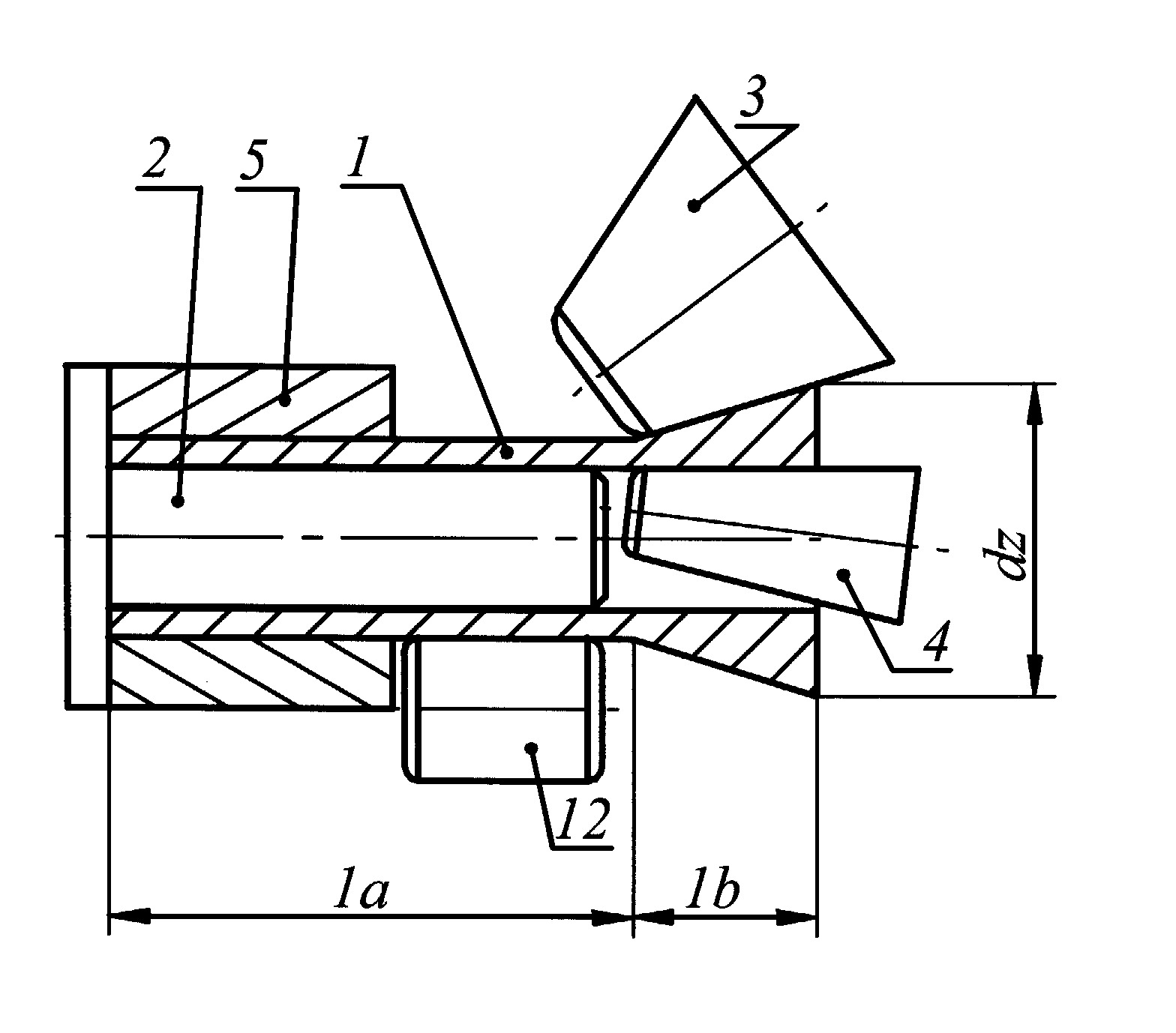
Przedmiotem wynalazku jest sposób i urządzenie do wywijania kołnierza z rolkami prowadzącymi, charakteryzujący się tym, że półfabrykat (1) - posiada dwie strefy pierwszą strefę (1a) w kształcie rury, drugą strefę (1b) w kształcie stożka ściętego o średnicy (dz) zewnętrznej mniejszej od średnicy kołnierza, umieszcza się na trzpieniu (2) o średnicy mniejszej od średnicy wewnętrznej pierwszej strefy (1a) półfabrykatu (1), a następnie zaciska się pierwszą strefę (1a) półfabrykatu (1) matrycą (5) dzieloną, po czym do wnętrza drugiej strefy (1b) półfabrykatu (1) wprowadza się narzędzie (4) wewnętrzne w kształcie stożka ściętego i umieszcza się narzędzie (3) zewnętrzne w kształcie stożka ściętego, które stycznie przylega do zewnętrznej powierzchni drugiej strefy (1b) półfabrykatu (1), następnie narzędzie (4) wewnętrzne wprawia się w ruch obrotowy o zmiennej prędkości wokół własnej osi symetrii i narzędzie (3) zewnętrzne wprawia się w ruch obrotowy o zmiennej prędkości obrotowej wokół własnej osi symetrii, po czym narzędzie (3) zewnętrzne i narzędzie (4) wewnętrzne zaczynają się dodatkowo obracać ze stałą prędkością odpowiednio wokół osi prostopadłych do osi półfabrykatu (1), przy czym prędkość obrotowa narzędzia (4) wewnętrznego jest większa od prędkości obrotowej narzędzia (3) zewnętrznego, zaś narzędzie (3) zewnętrzne przemieszcza się wzdłuż własnej osi symetrii i wprawia się rolki (12) prowadzące w ruch obrotowy o stałej prędkości wokół własnych osi symetrii, po czym następuje wywinięcie kołnierza.
Date of filing with the Polish Patent Office or with the competent office abroad
2013-05-23
Date of publication in ‘WUP’ or equivalent foreign bulletin
2015-08-31
Exclusive right number
Pat.219935
Statistics
Winiarski, G., & Gontarz, A. (2013). Sposób i urządzenie do wywijania kołnierza z rolkami prowadzącymi. Urząd Patentowy Rzeczypospolitej Polskiej. https://hdl.handle.net/20.500.14629/16875

Files
miniaturka.jpg
JPG 161.8 KB
Licence
Accessibility issue?Request a WCAG-compliant file
Publication available in collections: