Urządzenie i sposób pomiaru wilgotności, zwłaszcza pojedynczych nasion rzepaku
Alternative title
Device and method of moisture measurement, especially of single rape seeds
Type
Patent
Subtype
Invention
Authors/Creators
Publisher
Urząd Patentowy Rzeczypospolitej Polskiej
Date
2022
Abstract PL
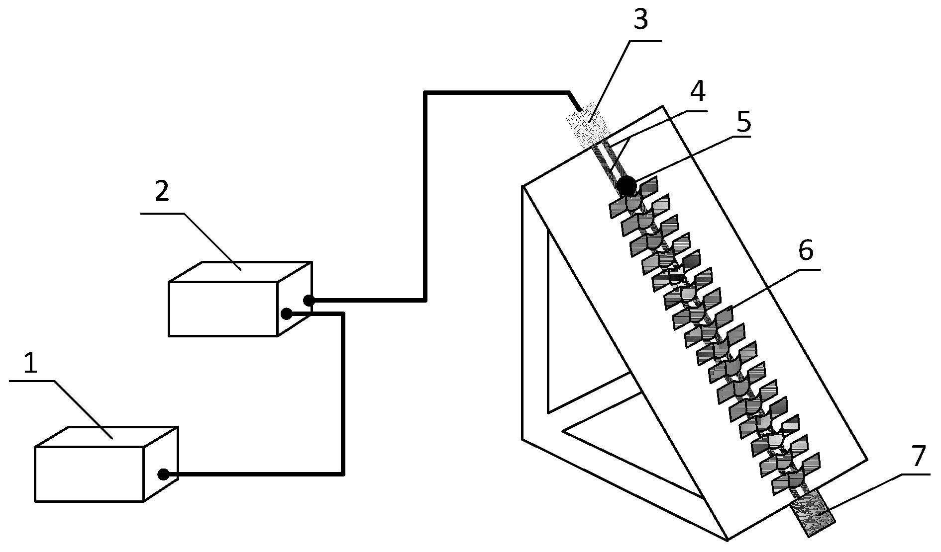
Celem zgłoszenia jest pomiar wilgotności pojedynczych nasion rzepaku. Urządzenie do pomiaru wilgotności pojedynczych nasion, zwłaszcza rzepaku posiadające linię transmisyjną z systemem blokad, charakteryzuje się tym, że składa się ze źródła sygnału mikrofalowego (1), który połączony jest poprzez układ do pomiaru zespolonego współczynnika odbicia (2) do złącza SMA (3) czujnika w postaci linii transmisyjnej (4) umiejscowionej na płycie PCB. Na linii transmisyjnej (4) ułożone są szeregowo blokady (6) i zakończona jest ona obciążeniem (7). Odległość pomiędzy falowodami linii transmisyjnej (4) wynosi od 0,5 do 0,75 średnicy nasion (5). Tudzież płytka pochylona jest względem podłoża o kąt od 15° do 80° zapewniający swobodne stoczenie się nasiona (5) do kolejnych blokad (6). Długość linii transmisyjnej (4) jest większa lub równa długości fali na częstotliwości, dla której przeprowadzany jest pomiar. Korzystnie odległość między skrajnymi blokadami zapewnia obrót nasiona (5) o 360°. Sposób pomiaru wilgotności pojedynczych nasion, zwłaszcza rzepaku (5), polega na tym, że nasiono (5) umieszcza się w czujniku zbudowanym z mikrofalowej linii transmisyjnej (4) w pierwszym położeniu oraz dokonuje się pomiaru współczynnika odbicia a następnie obraca się nasiono (5) o zadany kąt i powtarza się pomiar powtarzając sekwencję zadaną ilość. Zmierzone współczynniki odbicia zapisuje się na płaszczyźnie liczb zespolonych oraz wyznaczana jest największa odległość A między dwoma dowolnymi zmierzonymi współczynnikami odbicia. Tudzież odległość A jest skorelowana za pomocą funkcji matematycznej z wilgotnością nasion rzepaku (5).
Date of filing with the Polish Patent Office or with the competent office abroad
2022-09-12
Date of publication in ‘WUP’ or equivalent foreign bulletin
2023-05-15
Exclusive right number
Pat.242923
Statistics
Majcher, J., Staszek, K., Kafarski, M., Szypłowska, A., Wilczek, A., Skierucha, W., & Lewandowski, A. (2022). Urządzenie i sposób pomiaru wilgotności, zwłaszcza pojedynczych nasion rzepaku. Urząd Patentowy Rzeczypospolitej Polskiej. https://hdl.handle.net/20.500.14629/17600

Loading...
Files
miniaturka.jpg
JPG 158.56 KB
Licence
Accessibility issue?Request a WCAG-compliant file
Publication available in collections: