Wytłaczarka do tworzyw polimerowych
Alternative title
Extrusion moulding machine for polymeric materials
Type
Patent
Subtype
Invention
Authors/Creators
Publisher
Urząd Patentowy Rzeczypospolitej Polskiej
Date
2001
Abstract PL
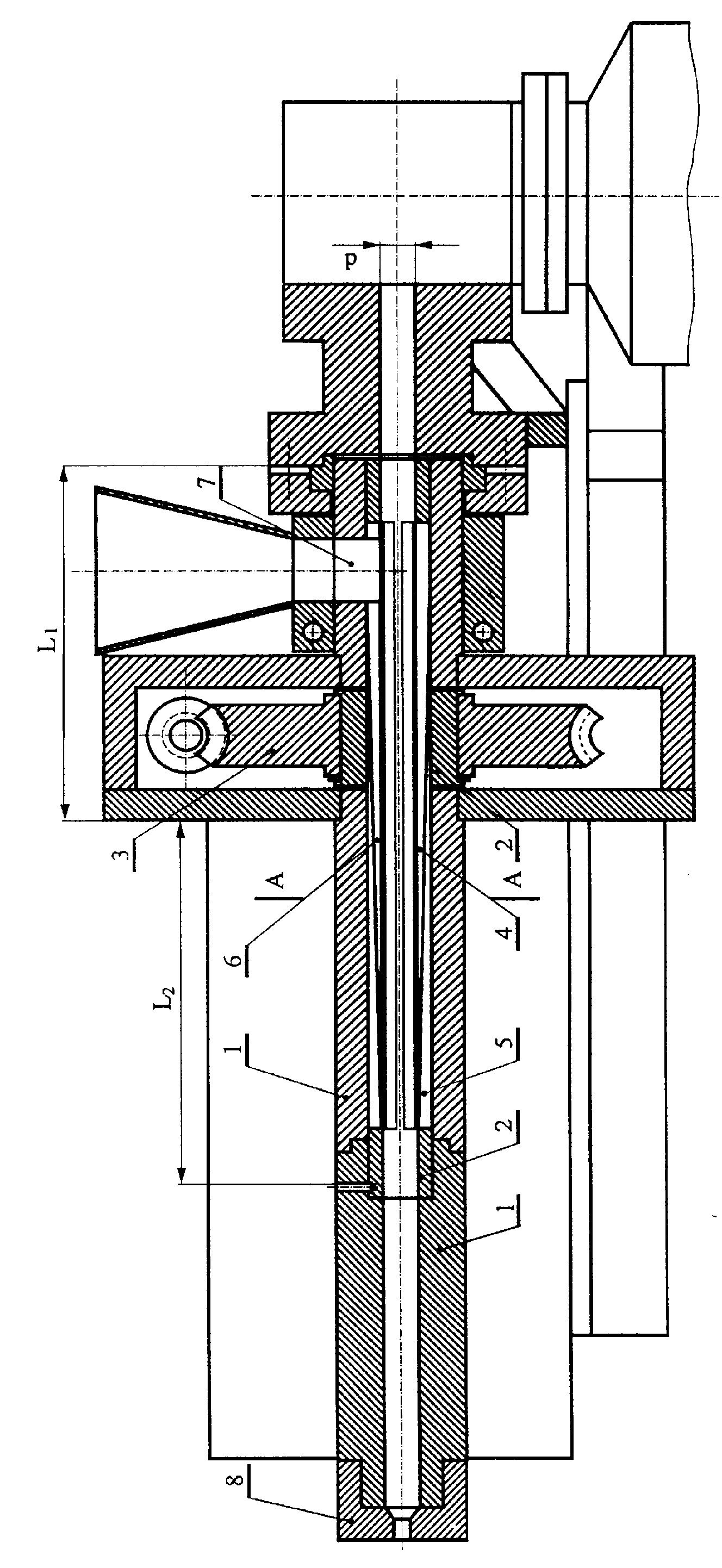
Wytłaczarka do tworzyw polimerowych, mająca układ uplastyczniający z cylindrem rowkowanym, zwłaszcza z rowkami śrubowymi, korzystnie w strefie zasypu, zasilania, przemiany oraz dozowania układu uplastyczniającego, zaopatrzony w rowkowaną tuleję skrętną mocowaną jednym końcem na stałe do cylindra wytłaczarki oraz pasowaną obrotowo-suwliwie z cylindrem na całej długości współdziałania z cylindrem i drugim końcem znajdującym się poza strefą zasypu układu uplastyczniającego, wyposażony w mechanizm umożliwiający skręcanie tulei w obrębie odkształcenia sprężystego materiału tulei, odpornego na zużywanie tribologiczne, w lewą bądź w prawą stronę w zależności od potrzeby, mającą wykonane na przeważającej części swojej długości szczeliny wzdłużne, w których są umieszczone kliny o dużej smukłości, tworzące wraz ze szczelinami wzdłużnymi rowki o zmiennej głębokości i stałym kształcie przekroju poprzecznego wzdłuż długości tulei, charakteryzuje się tym, że mechanizm (3) umożliwiający skręcanie tulei (2), znajduje się między otworem (7) zasypowym układu uplastyczniającego, a końcem wytłaczarki, zaopatrzonym w głowicę wytłaczarską. Odcinek rowkowanej tulei (2) skrętnej o długości od 5d do 15d, obejmujący koniec tulei (2), znajdujący się poza strefą zasypu uplastyczniającego i obejmujący szerokość mechanizmu (3) skręcającego jest obracany, natomiast odcinek tulei (2) o długości od 5d do 30d od mechanizmu (3) skręcającego do końca tulei (2), mocowanej do cylindra (1) wytłaczarki jest skręcany.
Date of filing with the Polish Patent Office or with the competent office abroad
2001-12-03
Date of publication in ‘WUP’ or equivalent foreign bulletin
2008-08-29
Exclusive right number
Pat.199019
Statistics
Sikora, R., Sikora, J., & Lakutowicz, J. (2001). Wytłaczarka do tworzyw polimerowych. Urząd Patentowy Rzeczypospolitej Polskiej. https://hdl.handle.net/20.500.14629/17051

Files
miniaturka.jpg
JPG 700.91 KB
Licence
Accessibility issue?Request a WCAG-compliant file
Publication available in collections: