Sposób i urządzenie do oceny nagniatania dynamicznego przedmiotów cienkościennych przez pomiar prędkości elementu nagniatającego
Alternative title
Method and the device for the assessment of dynamic burnishing of thin-walled objects through the measurement of speed of the burnishing element
Type
Patent
Subtype
Invention
Authors/Creators
Publisher
Urząd Patentowy Rzeczypospolitej Polskiej
Date
2014
Abstract PL
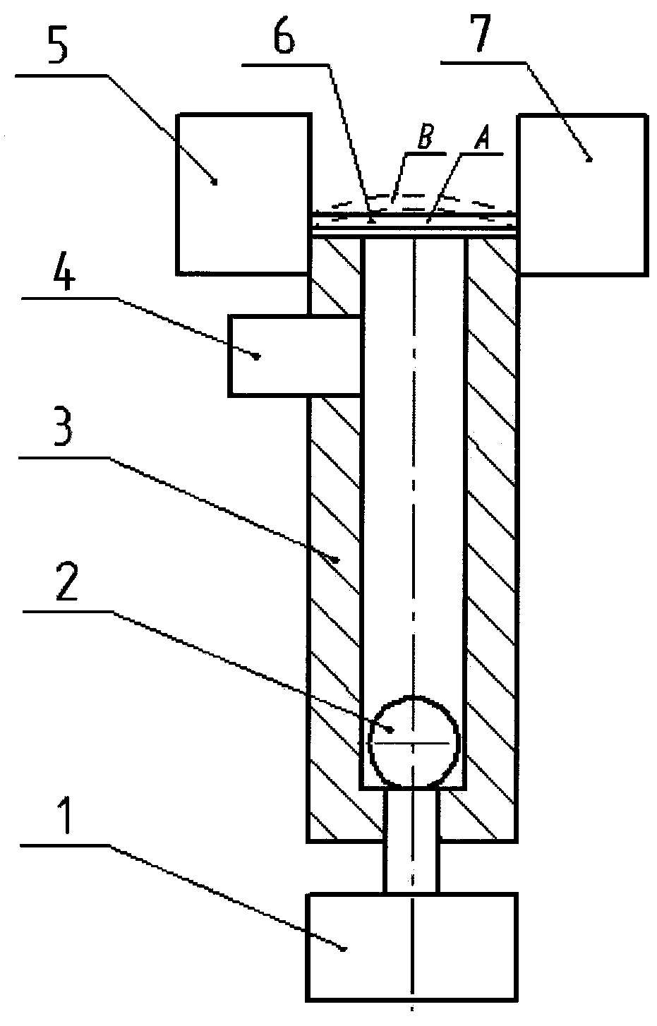
Sposób oceny nagniatania dynamicznego przedmiotów cienkościennych przez pomiar prędkości elementu nagniatającego polega na tym, że element (2) nagniatający wprawia się w ruch prostoliniowy i doprowadza się do uderzenia, z prędkością uderzenia o określonej wartości z zakresu od 0,5 m/s do 300 m/s, w powierzchnię przedmiotu (6) cienkościennego, a następnie w powierzchnię przedmiotu (8) o dużej sztywności, po czym mierzy się prędkość odskoku elementu nagniatającego. 0cenę skutków nagniatania dynamicznego przedmiotu (6) cienkościennego dokonuje się przez porównanie prędkości odskoku elementu nagniatającego od przedmiotu (6) cienkościennego oraz przedmiotu (8) o dużej sztywności.
Date of filing with the Polish Patent Office or with the competent office abroad
2014-06-23
Date of publication in ‘WUP’ or equivalent foreign bulletin
2017-08-31
Exclusive right number
Pat.226642
Statistics
Zaleski, K., & Bławucki, S. (2014). Sposób i urządzenie do oceny nagniatania dynamicznego przedmiotów cienkościennych przez pomiar prędkości elementu nagniatającego. Urząd Patentowy Rzeczypospolitej Polskiej. https://hdl.handle.net/20.500.14629/17124

Files
miniaturka.jpg
JPG 101.3 KB
Licence
Accessibility issue?Request a WCAG-compliant file
Publication available in collections: