Przyłbica z dyszą nadmuchową i sterowanym nadmuchem
Alternative title
Head screen with blowing nozzle and controlled airflow
Type
Patent
Subtype
Invention
Authors/Creators
Publisher
Urząd Patentowy Rzeczypospolitej Polskiej
Date
2020
Abstract PL
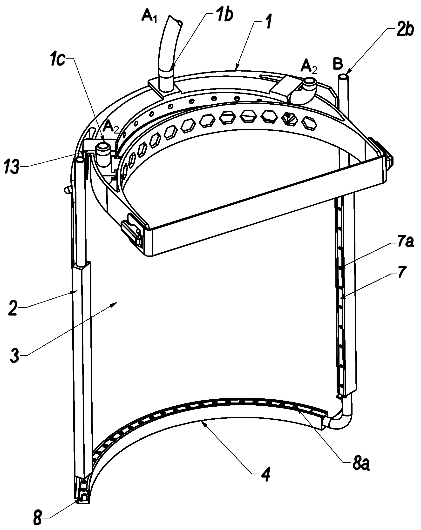
Przedmiotem wynalazku jest przyłbica z dyszą nadmuchową i sterowanym nadmuchem posiadająca opaskę nadmuchową. Składa się ona z opaski nadmuchowej posiadającej korpus (1) opasujący czoło użytkownika oraz z bocznych dysz posiadających korpusy (2) zamocowane do boków przeźroczystej części twarzowej przyłbicy (3). Składa się także z dolnej dyszy posiadającej korpus (4) zamocowany do dolnej przeźroczystej części twarzowej przyłbicy (3). W korpusie (1) opaski znajduje się kanał z przewodem (1b, 1c). W ścianie kanału znajdują się przelotowe otwory. Na ścianie korpusu (1) opaski znajduje się prowadnica; w której znajduje się przesłona z przelotowymi otworami. W korpusach (2) bocznych dysz znajdują się kanały z drugimi przewodami (2b). W bocznych ścianach kanałów korpusów (2) bocznych dysz znajdują się przelotowe otwory skierowane w stronę nosa i ust użytkownika, a na bocznych ścianach korpusów (2) bocznych dysz znajdują się prowadnice, w których znajdują się przesłony (7) z przelotowymi otworami (7a). W korpusie (4) dolnej dyszy znajduje się kanał połączony z kanałami korpusów (2) bocznych dysz. W górnej ścianie kanału korpusu (4) dolnej dyszy znajdują się przelotowe otwory. W górnej ścianie korpusu (4) dolnej dyszy znajduje się prowadnica w której znajduje się przesłona (8) z przelotowymi otworami (8a). Przewód (1b, 1c) podłączony jest do pierwszego złącza zaworu czterodrożnego przełączającego, który swoim drugim złączem połączony jest z przewodem. Trzecie złącze zaworu czterodrożnego przełączającego połączone jest poprzez filtr z wentylatorem nadmuchowym. Czwarte złącze zaworu czterodrożnego przełączającego połączone jest z wentylatorem wyciągowym.
Date of filing with the Polish Patent Office or with the competent office abroad
2020-08-12
Date of publication in ‘WUP’ or equivalent foreign bulletin
2021-12-27
Exclusive right number
Pat.239714
Statistics
Połednik, B., Nowicki, M., Ciecieląg, K., & Stępniewski, W. (2020). Przyłbica z dyszą nadmuchową i sterowanym nadmuchem. Urząd Patentowy Rzeczypospolitej Polskiej. https://hdl.handle.net/20.500.14629/17336

Loading...
Files
miniaturka.jpg
JPG 329.63 KB
Licence
Accessibility issue?Request a WCAG-compliant file
Publication available in collections: