Sposób walcowania poprzecznego dwoma walcami wyrobów typu kula metodą styczną
Alternative title
Method for cross rolling of ball type products with two rolls using a tangential rolling method
Type
Patent
Subtype
Invention
Authors/Creators
Publisher
Urząd Patentowy Rzeczypospolitej Polskiej
Date
2011
Abstract PL
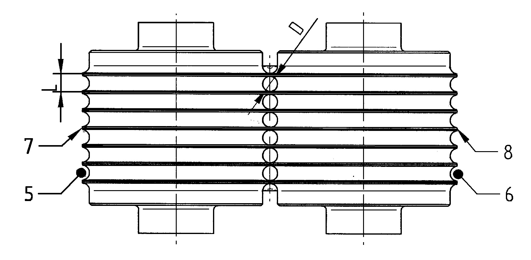
Sposób walcowania poprzecznego dwoma walcami wyrobów typu kula metodą styczną, charakteryzuje się tym, że półfabrykat w kształcie odcinka pręta o średnicy mniejszej od średnicy (D) kształtowanej kuli (2) umieszcza się we wgłębieniu utworzonym przez dwa walce (3) i (4), o jednakowych średnicach (Dw) oraz osiach równoległych do siebie i leżących w płaszczyźnie poziomej, które posiadają na obwodzie bruzdy (5) i (6) pierścieniowe rozmieszczone w odległości (L) większej od średnicy (D) kuli (2), następnie walce (3) i (4) wprawia się w ruch obrotowy w tym samym kierunku, przy czym prędkość obrotowa jednego z walców (3) lub (4) jest większa od prędkości obrotowej drugiego walca (3) lub (4), po czym w wyniku obracania się walców (3) i (4), na których umieszczone są występy (7) i (8), rozdzielające bruzdy (5) i (6) pierścieniowe, wprawia się półfabrykat w ruch obrotowy, w efekcie czego wciąga się go między walce (3) oraz (4) i redukuje jego średnicę, a następnie rozcina się go na części o objętości równej objętości kuli (2), zaś w wyniku oddziaływania wklęsłych powierzchni bocznych występów (7) oraz (8) spęcza się materiał, w efekcie czego otrzymuje się kule (2) o średnicy (D) większej od średnicy półfabrykatu. Sposób realizowany jest w układzie, w którym walce (3) i (4) obracają się w tym samym kierunku z taką samą prędkością obrotową (n), przy czym średnica walca (3) lub (4) obracającego się od strony półfabrykatu do dołu jest większa od średnicy walca (3) lub (4) obracającego się od strony półfabrykatu do góry.
Date of filing with the Polish Patent Office or with the competent office abroad
2011-05-11
Date of publication in ‘WUP’ or equivalent foreign bulletin
2015-04-30
Exclusive right number
Pat.219263
Pater, Z. (2011). Sposób walcowania poprzecznego dwoma walcami wyrobów typu kula metodą styczną. Urząd Patentowy Rzeczypospolitej Polskiej. https://hdl.handle.net/20.500.14629/16930

Files
miniaturka.jpg
JPG 141.81 KB
Licence
Accessibility issue?Request a WCAG-compliant file
Publication available in collections: