Szybkoobrotowe elektrowrzeciono szlifierskie
Alternative title
High speed electric grinding spindle
Type
Patent
Subtype
Invention
Authors/Creators
Publisher
Urząd Patentowy Rzeczypospolitej Polskiej
Date
1989
Abstract PL
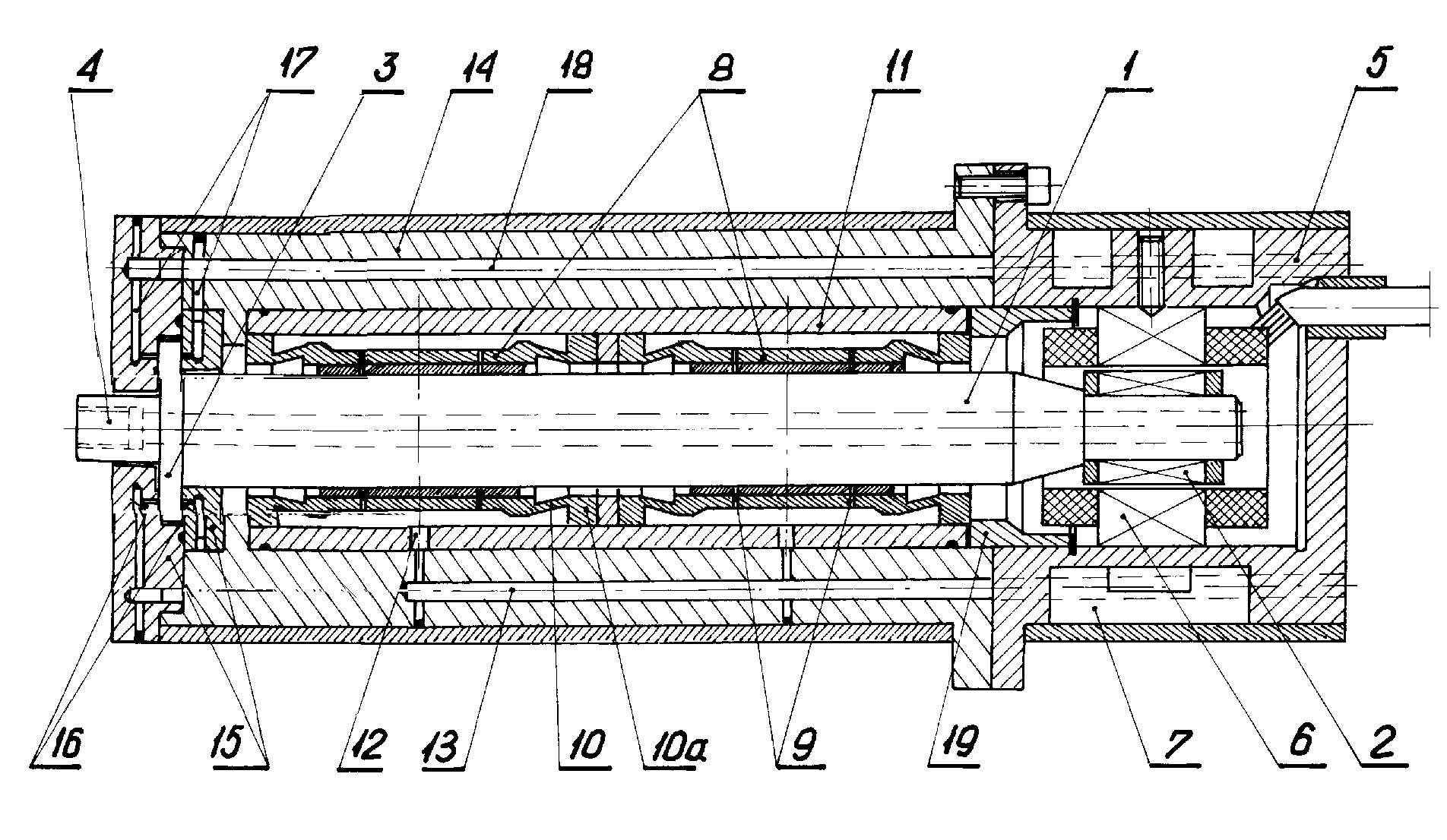
Szybkoobrotowe elektrowrzeciono charakteryzuje się tym, że część cylindryczna wałka (1) wrzeciona jest obudowana panewkami (8) dwóch poprzecznych łożysk gazowych, zasilanych od strony panewek otworkami (9). Panewki (8) podparte są sprężyście poprzez stożkowe elementy sprężyste (10), łączące się z pierścieniami (10a) podparcia panewki w tulei (11) łożysk poprzecznych i zaciskane poprzez tuleję (19) zaciskową śrubami mocowania korpusu (5) silnika elektrycznego do korpusu (14) elektrowrzeciona.
Date of filing with the Polish Patent Office or with the competent office abroad
1989-12-30
Date of publication in ‘WUP’ or equivalent foreign bulletin
1993-07-30
Exclusive right number
Pat.161645
Statistics
Fijałkowski, S., Lutek, K., Adach, T., Rubaszko, S., Czubiński, K., & Milczek, T. (1989). Szybkoobrotowe elektrowrzeciono szlifierskie. Urząd Patentowy Rzeczypospolitej Polskiej. https://hdl.handle.net/20.500.14629/17356

Loading...
Files
miniaturka.jpg
JPG 506.69 KB
Licence
Accessibility issue?Request a WCAG-compliant file
Publication available in collections: