Impulsowa głowica wkręcająca
Alternative title
Screwing-in head of pulsatory operating mode
Type
Patent
Subtype
Invention
Authors/Creators
Publisher
Urząd Patentowy Rzeczypospolitej Polskiej
Date
1998
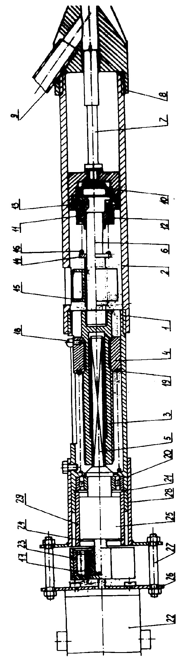
Abstract PL
Impulsowa głowica wkręcająca, zwłaszcza do wkręcania śrub i wkrętów, składa się z silnika napędowego (22), połączonego ze sprzęgłem jednokierunkowym (17), którego wałek wyjściowy łączy się z elementami układu roboczego głowicy, umieszczonymi w korpusie, składającym się z dwóch skręconych ze sobą korpusów (1, 2). Silnik (22) z korpusem (1) połączony jest za pomocą tulei (28) i tarczy (26), pomiędzy którymi znajdują się trzpienie (27), wchodzące w otwory, wykonane na ich obwodach. Zębata przekładnia planetarna (25) umieszczona jest w tulei (29) i unieruchomiona w niej za pomocą pierścieni sprężynujących, wewnętrznych (21, 24). Napęd z przekładni przenoszony jest poprzez ułożyskowany w korpusie zabierak (5) za pomocą łożyska tocznego (20).
Date of filing with the Polish Patent Office or with the competent office abroad
1998-10-09
Date of publication in ‘WUP’ or equivalent foreign bulletin
2004-05-31
Exclusive right number
Pat.187109
Statistics
Wituszyński, K., & Nieoczym, A. (1998). Impulsowa głowica wkręcająca. Urząd Patentowy Rzeczypospolitej Polskiej. https://hdl.handle.net/20.500.14629/17443

Loading...
Files
miniaturka.jpg
JPG 280.32 KB
Licence
Accessibility issue?Request a WCAG-compliant file
Publication available in collections: