Mechanizm synchronicznego obrotu tablic reklamowych w dwóch osiach oraz podnoszenia i opuszczania konstrukcji
Alternative title
Mechanism of synchronous rotation of advertising boards in two axes and lifting and lowering of the structure
Type
Patent
Subtype
Invention
Authors/Creators
Publisher
Urząd Patentowy Rzeczypospolitej Polskiej
Date
2023
Abstract PL
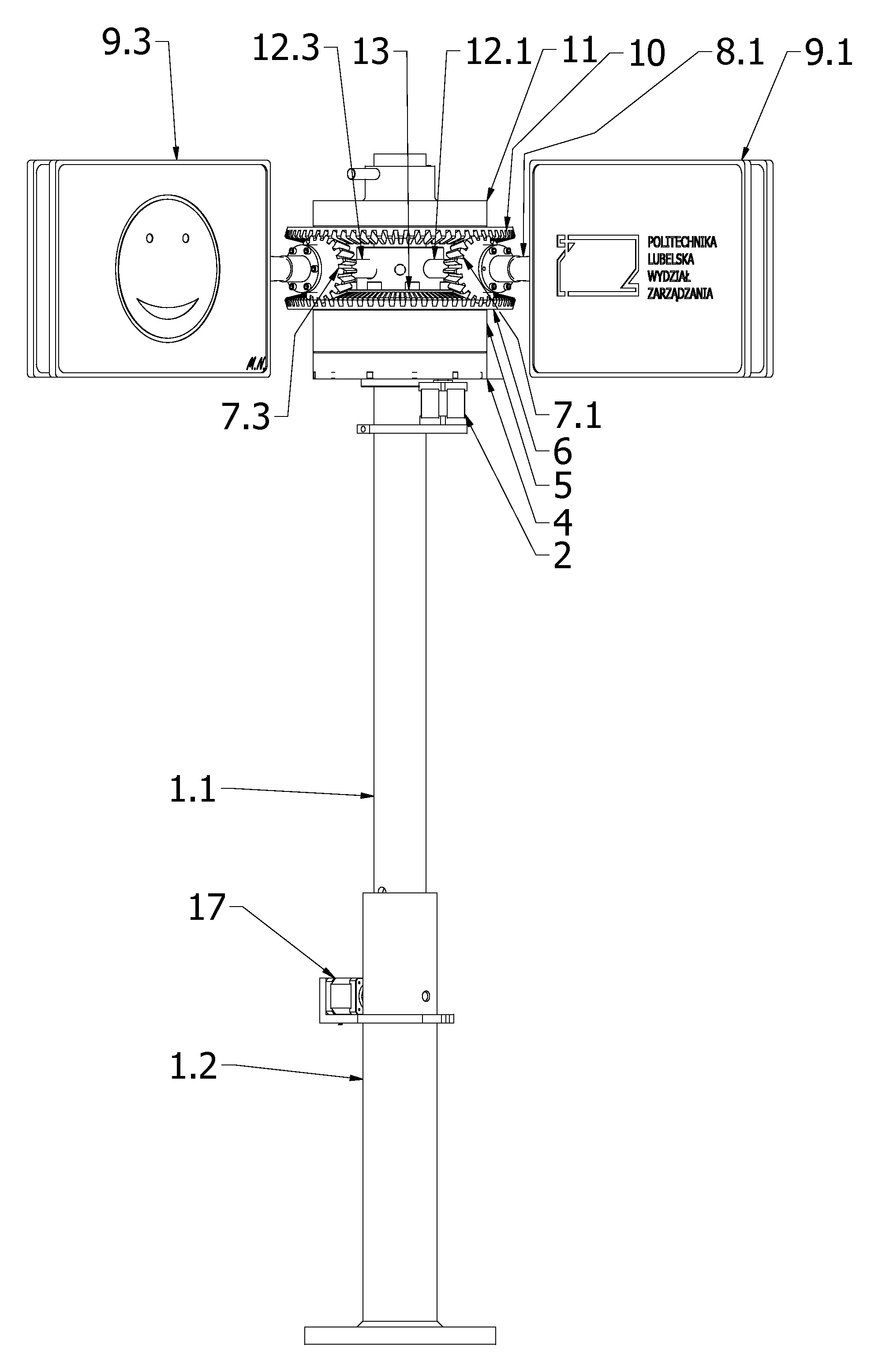
Przedmiotem zgłoszenia jest mechanizm synchronicznego obrotu tablic reklamowych w dwóch osiach oraz podnoszenia i opuszczania konstrukcji, zamocowany na słupie (1.1), do którego zamocowany jest silnik elektryczny (2). Charakteryzuje się on tym, że na wale silnika elektrycznego (2), ułożonego równolegle do słupa (1.1) zamocowane jest pierwsze koło zębate zazębione z wewnętrznym kołem zębatym (4), w osi którego znajduje się słup (1.1). Wewnętrzne koło zębate (4) połączone jest swoją górną podstawą z dolną podstawą pierwszej tulei (5) ułożyskowanej na słupie (1.1), której górna podstawa połączona jest z dolną podstawą pierwszego stożkowego koła zębatego (6), w osi którego znajduje się słup (1.1). Z pierwszym stożkowym kołem zębatym (6) zazębione jest drugie stożkowe koło zębate (7.1, 7.3) o osi obrotu ułożonej prostopadle do osi obrotu pierwszego stożkowego koła zębatego (6). Do zewnętrznej podstawy stożkowego koła zębatego (7.1, 7.3), w jego osi, zamocowany jest pręt (8.3), na którego końcu zamocowana jest tablica reklamowa (9.1, 9.3). Drugie stożkowe koło zębate (7.1, 7.3) zazębione jest od góry z trzecim stożkowym kołem zębatym (10), nad którego górną podstawą znajduje się druga tuleja (11), w osi której znajduje się słup (1.1), do którego zamocowana jest nieobrotowo i nieprzesuwnie. Każde drugie stożkowe koło zębate (7.1, 7.3) ułożyskowane jest obrotowo na osobnym wale (12.1, 12.3), którego koniec osadzony jest w trzeciej tulei (13), osadzonej nieobrotowo i nieprzesuwnie na słupie (1.1). Tablica reklamowa (9.1, 9.3) składa się z tablicy środkowej, do której po obydwu stronach przymocowane są obrotowo, w ich centralnej części, tablice informacyjne, do których dolnych części zamocowane są obciążniki. Słup (1.1) zamocowany jest współosiowo i przesuwnie w dolnym słupie (1.2), do którego zamocowany jest drugi silnik elektryczny (17) o osi wału ułożonej prostopadle do osi dolnego słupa (1.2) i przechodzącego przez otwór znajdujący się w nim. Na wale drugiego silnika elektrycznego (17), wewnątrz dolnego słupa (1.2) zamocowana jest krzywka, której powierzchnia krzywkowa styka się z podstawą słupa (1.1). Dodatkowo silnik elektryczny (2) i drugi silnik elektryczny (17) są silnikami krokowymi połączonymi z modułem sterującym, który podłączony jest do czujnika ruchu.
Date of filing with the Polish Patent Office or with the competent office abroad
2023-10-24
Date of publication in ‘WUP’ or equivalent foreign bulletin
2025-06-23
Exclusive right number
Pat.247383
Statistics
Skowron, Ł., Gąsior, M., Zakrzewska-Bielawska, A., & Dudek, M. (2023). Mechanizm synchronicznego obrotu tablic reklamowych w dwóch osiach oraz podnoszenia i opuszczania konstrukcji. Urząd Patentowy Rzeczypospolitej Polskiej. https://hdl.handle.net/20.500.14629/18575

Files
miniaturka.jpg
JPG 255.93 KB
Licence
Accessibility issue?Request a WCAG-compliant file
Publication available in collections: