Czujnik i sposób wyznaczania zawilgocenia w składowej stałej izolacji celulozowo-olejowej transformatora elektroenergetycznego
Alternative title
Sensor and method for determinination of moisture content level in the solid component of cellulose-oil insulation of a power transformer
Type
Patent
Subtype
Invention
Authors/Creators
Publisher
Urząd Patentowy Rzeczypospolitej Polskiej
Date
2022
Abstract PL
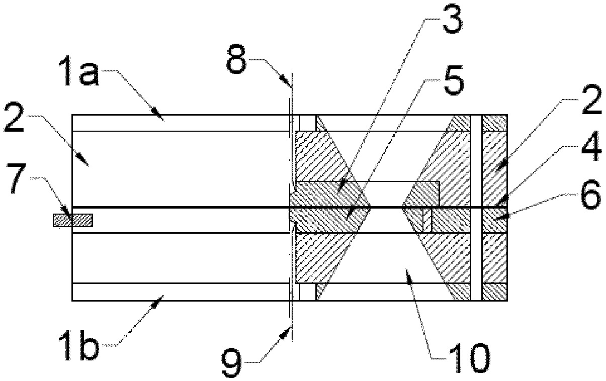
Czujnik do wyznaczania zawilgocenia w składowej stałej izolacji celulozowo - olejowej transformatora elektroenergetycznego charakteryzuje się tym, że składa się z obudowy górnej (1a) w kształcie walca i obudowy dolnej (1b) w kształcie walca, pomiędzy którymi znajduje się izolator (2), wewnątrz którego znajduje się elektroda napięciowa (3), pod którą znajduje się płytka preszpanu (4) o grubości 1 mm. Pod płytką preszpanu (4) znajduje się układ składający się z elektrody pomiarowej (5) i elektrody ochronnej (6). Na zewnętrznej części elektrody ochronnej (6) zamocowany jest na stałe czujnik temperatury (7). Do elektrody napięciowej (3) podłączony jest przewód napięciowy (8), a do elektrody pomiarowej (5) podłączony jest przewód pomiarowy (9). W czujniku znajdują się cztery pary otworów (10) w kształcie uciętych stożków. Sposób wyznaczania zawilgocenia w składowej stałej izolacji celulozowo - olejowej transformatora elektroenergetycznego polega na tym, że wykonuje się pomiary temperatury czujnika oraz tangensa kąta strat dla częstotliwości 1 Hz poprzez odczyt z płytki preszpanu (4) umieszczonej w czujniku zamontowanym w kadzi transformatora elektroenergetycznego. Następnie na podstawie uzyskanej wartości tangensa kąta strat wyznacza się procentową zawartość wody zgromadzoną w objętości elementów stałych izolacji transformatora z charakterystyk odniesienia wyznaczonych dla czujnika dla temperatury, przy której dokonano pomiaru tangensa kąta strat.
Date of filing with the Polish Patent Office or with the competent office abroad
2022-01-27
Date of publication in ‘WUP’ or equivalent foreign bulletin
2024-01-29
Exclusive right number
Pat.244481
Statistics
Żukowski, P., Rogalski, P., Kołtunowicz, T., Kierczyński, K., Bondariev, V., Okal, P., & Zenker, M. (2022). Czujnik i sposób wyznaczania zawilgocenia w składowej stałej izolacji celulozowo-olejowej transformatora elektroenergetycznego. Urząd Patentowy Rzeczypospolitej Polskiej. https://hdl.handle.net/20.500.14629/17490

Files
miniaturka.jpg
JPG 138.33 KB
Licence
Accessibility issue?Request a WCAG-compliant file
Publication available in collections: