Uchwyt do ściskania, zwłaszcza zębów
Alternative title
Squeezing brackets, in particular for teeth
Type
Patent
Subtype
Invention
Authors/Creators
Publisher
Urząd Patentowy Rzeczypospolitej Polskiej
Date
2018
Abstract PL
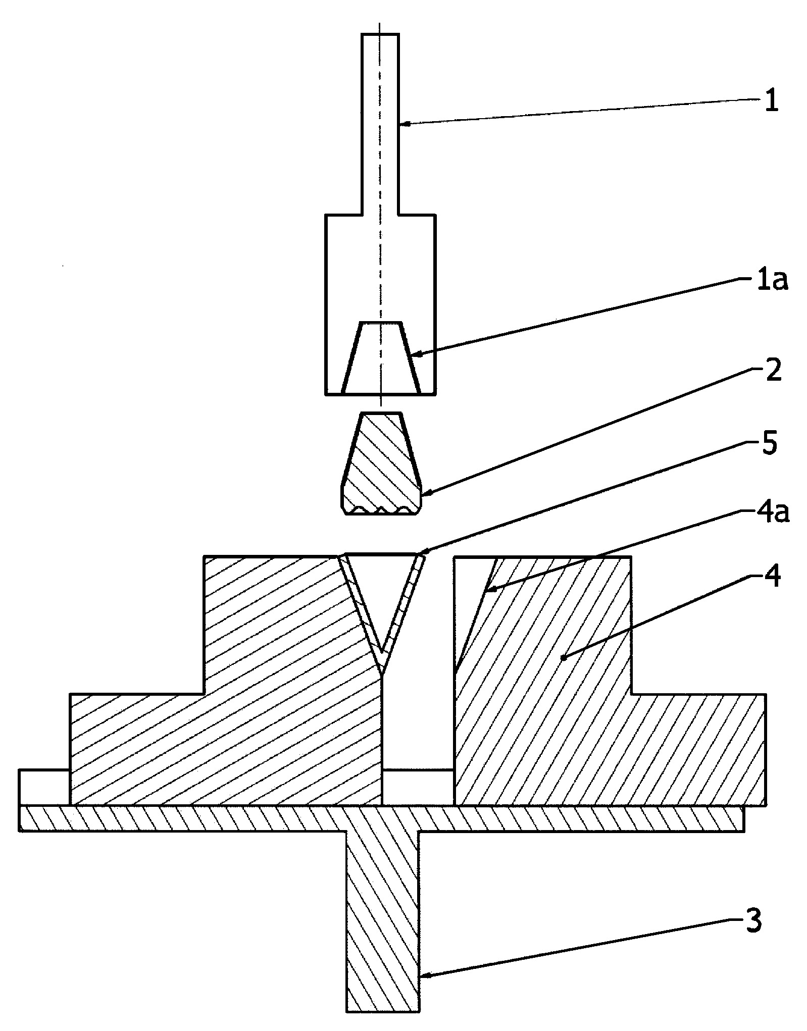
Celem wynalazku jest zbadanie wytrzymałości na ściskanie wypełnień stomatologicznych oraz połączenia wypełnienia z tkankami zęba. Uchwyt do ściskania, zwłaszcza zębów charakteryzuje się tym, że składa się z pierwszej części uchwytu w postaci elementu mocowanego w maszynie (1), w którego dolnej powierzchni znajduje się otwór gwintowany (1a) z wkręconym elementem ściskającym (2), korzystnie o dolnej powierzchni w kształcie odpowiadającej kształtowi zęba. Druga część uchwytu składa się ze stołu (3), na którym znajdują się części matrycy rozsuwanej (4) z otworem stożkowym (4a) znajdującym się w górnej powierzchni części matrycy rozsuwanej (4) na połączeniu części matrycy rozsuwanej (4).
Date of filing with the Polish Patent Office or with the competent office abroad
2018-11-13
Date of publication in ‘WUP’ or equivalent foreign bulletin
2021-10-11
Exclusive right number
Pat.238844
Statistics
Ostapiuk, M., Surowska, B., Bieniaś, J., Tarczydło, B., & Śledź, R. (2018). Uchwyt do ściskania, zwłaszcza zębów. Urząd Patentowy Rzeczypospolitej Polskiej. https://hdl.handle.net/20.500.14629/17234

Files
miniaturka.jpg
JPG 325.28 KB
Licence
Accessibility issue?Request a WCAG-compliant file
Publication available in collections: