Wiatrak reklamowy z obracanymi tablicami i obracany, i podnoszony
Alternative title
Advertising windmill with rotating boards, rotating and lifting
Type
Patent
Subtype
Invention
Authors/Creators
Publisher
Urząd Patentowy Rzeczypospolitej Polskiej
Date
2023
Abstract PL
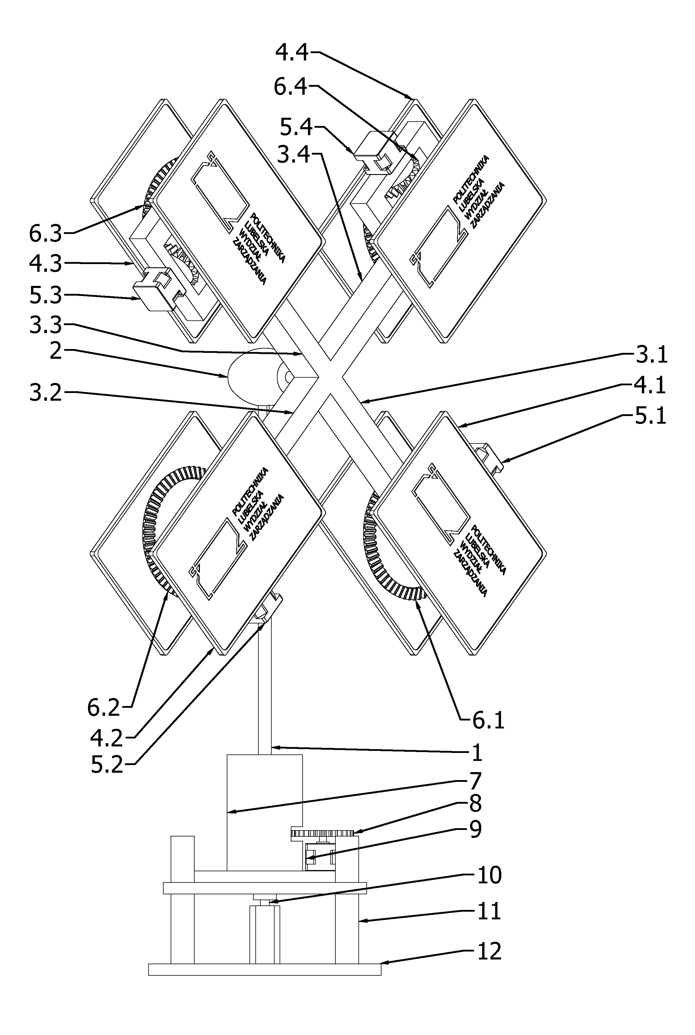
Przedmiotem zgłoszenia jest wiatrak reklamowy z obracanymi tablicami i obracany i podnoszony, zamocowany na słupie (1), do którego zamocowany jest silnik elektryczny (2). Charakteryzuje się on tym, że na wale pierwszego silnika elektrycznego (2), o osi ułożonej prostopadle do osi słupa (1) zamocowane są pierwszymi końcami ramiona (3.1, 3.2, 3.3, 3.4). Oś każdego z ramion (3.1, 3.2, 3.3, 3.4) ułożona jest prostopadle do osi silnika (2). W drugiej końcowej części każdego z ramion (3.1, 3.2, 3.3, 3.4) zamocowana jest obrotowo tablica reklamowa (4.1, 4.2, 4.3, 4.4), o osi obrotu ułożonej równolegle do osi pierwszego silnika elektrycznego (2). W drugiej końcowej części każdego z ramion (3.1, 3.2, 3.3, 3.4) zamocowana jest obrotowo, za pomocą osi i tulei tablica reklamowa (4.1, 4.2, 4.3, 4.4), o osi obrotu ułożonej równolegle do osi pierwszego silnika elektrycznego (2), tudzież do każdego z ramion (3.1, 3.2, 3.3, 3.4) zamocowany jest osobny drugi silnik elektryczny (5.1, 5.2, 5.3, 5.4), którego wał poprzez przekładnię (6.1, 6.2, 6.3, 6.4), korzystnie zębatą, kątową połączony jest z tuleją tablicy reklamowej (4.1, 4.2, 4.3, 4.4), przy czym tuleja osadzona jest na osi. Słup (1) zamocowany jest obrotowo w pierwszej podstawie (7) oraz słup (1) połączony jest za pomocą przekładni (8), korzystnie zębatej z wałem trzeciego silnika elektrycznego (9) zamocowanego do pierwszej podstawy (7). Pierwsza podstawa (7) zamocowana jest za pomocą siłownika (10) i słupów prowadzących (11) do drugiej podstawy (12).
Date of filing with the Polish Patent Office or with the competent office abroad
2023-10-27
Date of publication in ‘WUP’ or equivalent foreign bulletin
2024-12-23
Exclusive right number
Pat.246250
Statistics
Skowron, Ł., Gąsior, M., Kania, K., Piątek, R. K., Gliszczyński, G., Mieszajkina, E., & Walczak-Skałecka, A. (2023). Wiatrak reklamowy z obracanymi tablicami i obracany, i podnoszony. Urząd Patentowy Rzeczypospolitej Polskiej. https://hdl.handle.net/20.500.14629/18263

Loading...
Files
miniaturka.jpg
JPG 731.79 KB
Licence
Accessibility issue?Request a WCAG-compliant file
Publication available in collections: