Stanowisko do pomiaru momentu dokręcającego oraz siły osiowej
Alternative title
Measuring stand for tightening torque and axial force measurements
Type
Patent
Subtype
Utility model
Authors/Creators
Publisher
Urząd Patentowy Rzeczypospolitej Polskiej
Date
1996
Abstract PL
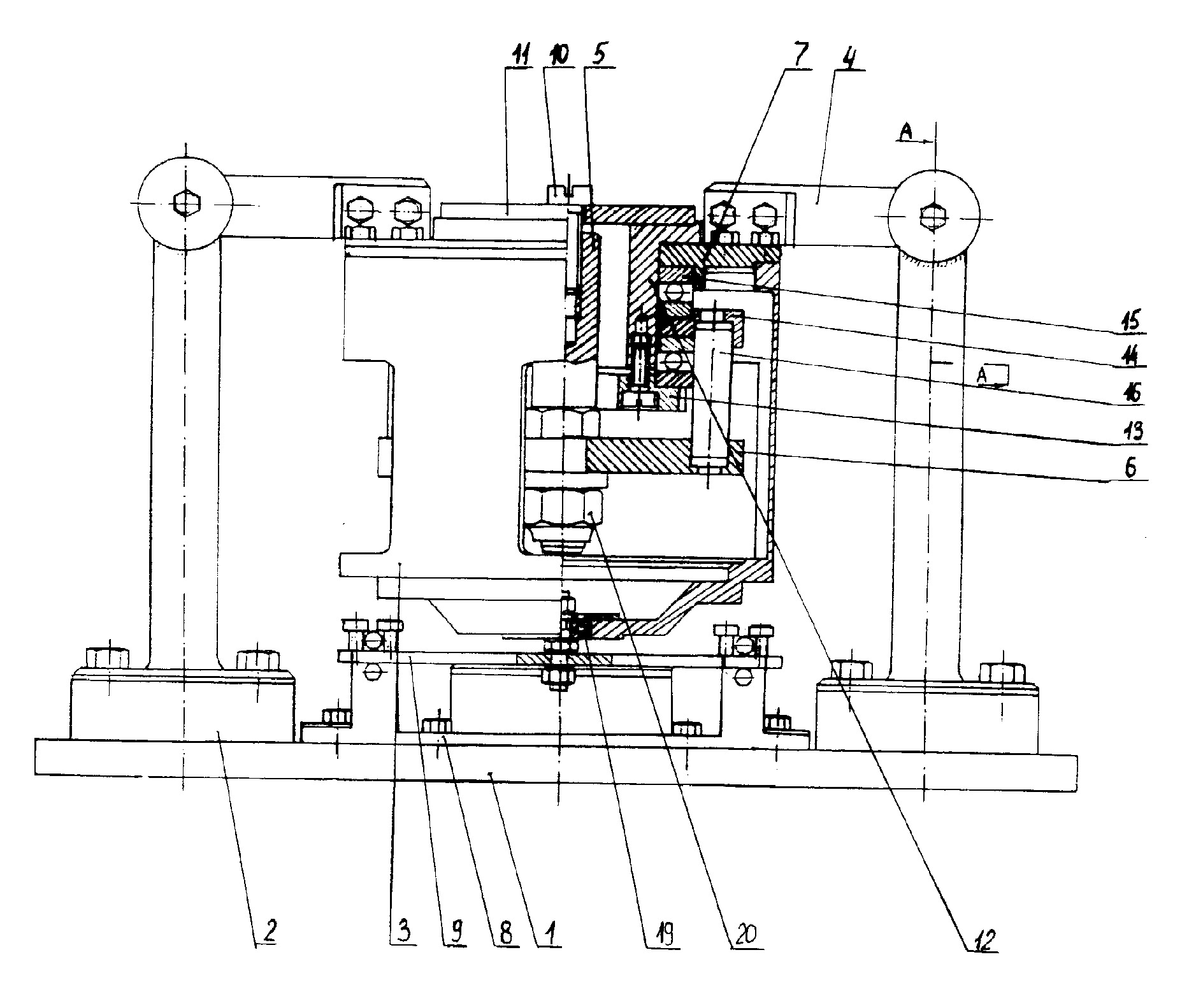
Stanowisko do pomiaru momentu dokręcającego oraz siły osiowej, zwłaszcza głowic wkręcających i wkrętarek, składa się z podstawy (1) na której zamocowane są w narożach cztery kolumny (2) złączone na górze parami z belkami (4), które poprzez tarczę (7) podtrzymują osiowo zamocowany korpus (3), który dolną swoją częścią opiera się na płytce (9) opartej na stojaku (8). Wewnątrz korpusu (3) w jego osi znajduje się trzpień (5) roboczy posiadający od góry otwór gwintowany, w który wkręcony jest badany wkręt (10) opierający się dolną częścią łba o pierścień (11) trący, leżący na tulei (12) trącej od dołu połączonej z pierścieniem (13) dociskowym dolnym, a swą boczną powierzchnią dotykający do tarczy (14) dwóch wzdłużnych łożysk (15), pomiędzy którymi znajduje się tarcza (14) łącząca się za pomocą trzpieni (16) z tarczą (6) trzpieni umocowaną w dolnej części trzpienia (5) roboczego, dwie dolne belki połączone z tarczą (6) opierającą się o dwie pionowe kolumny zamocowane symetrycznie względem kolumn (2) w osi podstawy (1), belki (4), płytka (9) oraz trzpień są czujnikami pomiarowymi sił.
Date of filing with the Polish Patent Office or with the competent office abroad
1996-11-15
Date of publication in ‘WUP’ or equivalent foreign bulletin
2001-02-28
Exclusive right number
Ru.058389
Statistics
Nieoczym, A., & Kisiel, J. (1996). Stanowisko do pomiaru momentu dokręcającego oraz siły osiowej. Urząd Patentowy Rzeczypospolitej Polskiej. https://hdl.handle.net/20.500.14629/18127

Files
miniaturka.jpg
JPG 330.86 KB
Licence
Accessibility issue?Request a WCAG-compliant file
Publication available in collections: