Uchwyt do badania nieliniowej dynamiki płyty osiowosymetrycznej na wzbudniku elektromechanicznym ze sprzężeniami termomechanicznymi
Alternative title
Holder for testing the non-linear dynamics of an axisymmetric plate on an electromechanical inductor with thermomechanical couplings
Type
Patent
Subtype
Invention
Authors/Creators
Publisher
Urząd Patentowy Rzeczypospolitej Polskiej
Date
2022
Abstract PL
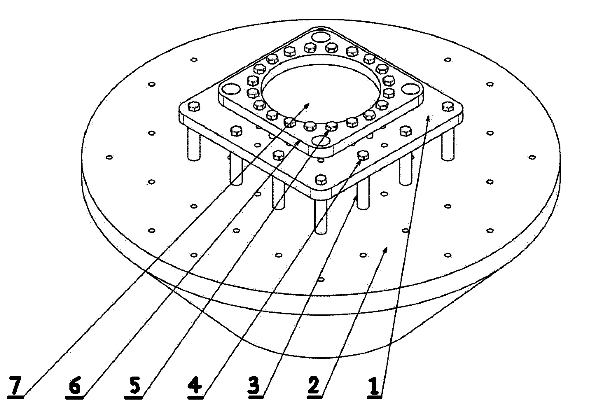
Przedmiotem zgłoszenia jest uchwyt do badania nieliniowej dynamiki płyty osiowosymetrycznej na wzbudniku elektromechanicznym ze sprzężeniami termomechanicznymi. Charakteryzuje się on tym, że składa się z płyty podstawy (1) z przelotowym otworem osiowosymetrycznym w jej centralnej części. Płyta podstawy (1) zamocowana jest do głowicy stołu wzbudnika elektromechanicznego (2) za pomocą tulei dystansujących (3), w których znajdują się śruby (4) w ten sposób, że tuleje dystansujące (3) znajdują się pomiędzy powierzchnią stołu wzbudnika elektromechanicznego (2) a dolną powierzchnią płyty podstawy (1). Śruby (4) znajdują się w pierwszych przelotowych otworach montażowych płyty podstawy (1), tulejach dystansujących (3) i wkręcone są w gwintowane otwory znajdujące się w stole wzbudnika elektromechanicznego (2). Płyta podstawy (1) połączona jest z płytą dociskową (6) za pomocą zestawu śrub zaciskowych (5) i nakrętek, które to śruby dociskowe (5) znajdują się w przelotowych otworach montażowych znajdujących się w płycie dociskowej (6) na obwodzie przelotowego otworu osiowosymetrycznego znajdującego się w jej centralnej części oraz śruby zaciskowe (5) znajdują się w drugich przelotowych otworach montażowych rozmieszczonych na obwodzie przelotowego otworu osiowosymetrycznego płyty podstawy (1) oraz śruby zaciskowe (5) zabezpieczone są nakrętkami tudzież badana próbka (7) jest osadzona pomiędzy płytą podstawy (1) a płytą dociskową (6) i osadzona jest współosiowo z przelotowym otworem osiowosymetrycznym płyty podstawy (1) i przelotowym otworem osiowosymetrycznym płyty dociskowej (6).
Date of filing with the Polish Patent Office or with the competent office abroad
2022-11-16
Date of publication in ‘WUP’ or equivalent foreign bulletin
2023-09-04
Exclusive right number
Pat.243538
Statistics
Kłoda, Ł., Bocheński, M. D., Kowalczuk, M., & Weremczuk, A. (2022). Uchwyt do badania nieliniowej dynamiki płyty osiowosymetrycznej na wzbudniku elektromechanicznym ze sprzężeniami termomechanicznymi. Urząd Patentowy Rzeczypospolitej Polskiej. https://hdl.handle.net/20.500.14629/17301

Loading...
Files
miniaturka.jpg
JPG 351.92 KB
Licence
Accessibility issue?Request a WCAG-compliant file
Publication available in collections: