Sposób kształtowania radiatora
Alternative title
Method for forming the heat sink
Type
Patent
Subtype
Invention
Authors/Creators
Publisher
Urząd Patentowy Rzeczypospolitej Polskiej
Date
2013
Abstract PL
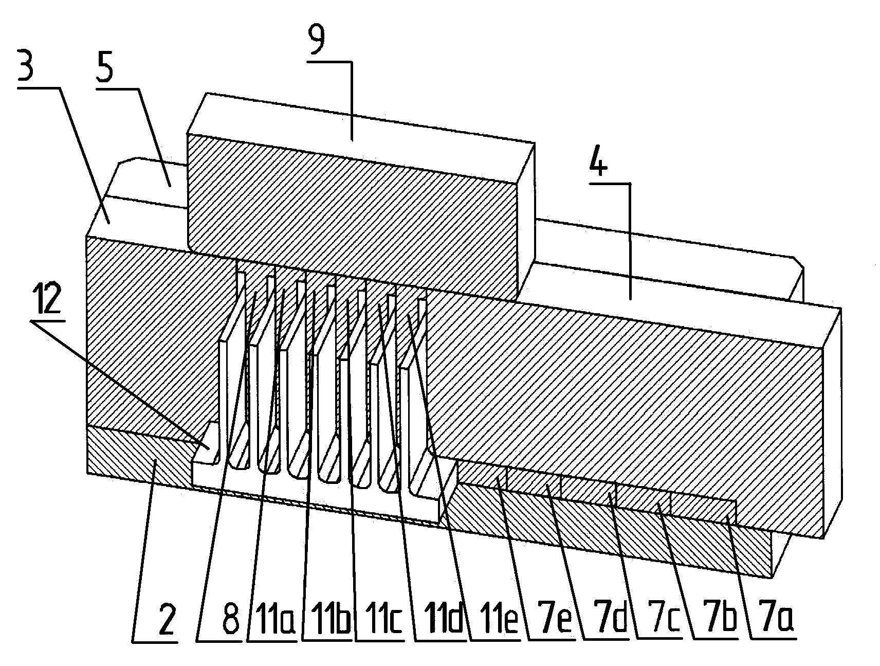
Sposób kształtowania radiatora, zwłaszcza metodą kucia na gorąco charakteryzuje się tym, że półfabrykat (1) w kształcie płyty nagrzewa się w piecu do temperatury kucia na gorąco, następnie nagrzany półfabrykat umieszcza się w wykroju zamkniętym, który utworzony jest przez płytę (2) dolną, matrycę (3) stałą, matrycę (4) przesuwną i dwie płyty (5) oporowe boczne, po czym wprawia się matrycę (4) przesuwną w ruch postępowy ze stałą prędkością (V1) w kierunku matrycy (3) stałej i spęcza się odcinek półfabrykatu oraz kształtuje się żebro, następnie zmienia się ruch matrycy (4) przesuwnej na przeciwny i wycofuje się z ukształtowanego półfabrykatu matrycę (4) przesuwną, następnie dogrzewa się półfabrykat, po czym powtórnie umieszcza się ukształtowany półfabrykat w przestrzeni roboczej i umieszcza się bloczek (7a) uzupełniający pomiędzy ukształtowanym półfabrykatem i matrycą (4) przesuwną, z kolei przy bocznej ścianie ukształtowanego żebra umieszcza się przekładkę (8), po czym przemieszcza się stempel (9) górny ruchem postępowym ze stałą prędkością (V2) w kierunku płyty (2) dolnej i dociska się przekładkę (8) do półfabrykatu, następnie wprawia się matrycę (4) przesuwną w ruch postępowy ze stałą prędkością (V1) w kierunku matrycy (3) stałej i spęcza się kolejny odcinek półfabrykatu w górną część przestrzeni wykroju i kształtuje się drugie żebro.
Date of filing with the Polish Patent Office or with the competent office abroad
2013-06-10
Date of publication in ‘WUP’ or equivalent foreign bulletin
2015-04-30
Exclusive right number
Pat.219445
Statistics
Dziubińska, A., & Gontarz, A. (2013). Sposób kształtowania radiatora. Urząd Patentowy Rzeczypospolitej Polskiej. https://hdl.handle.net/20.500.14629/16894

Loading...
Files
miniaturka.jpg
JPG 662.94 KB
Licence
Accessibility issue?Request a WCAG-compliant file
Publication available in collections: