Głowica z płytką piezoelektryczną
Alternative title
Piezoelectric plate device
Type
Patent
Subtype
Utility model
Authors/Creators
Publisher
Urząd Patentowy Rzeczypospolitej Polskiej
Date
2018
Abstract PL
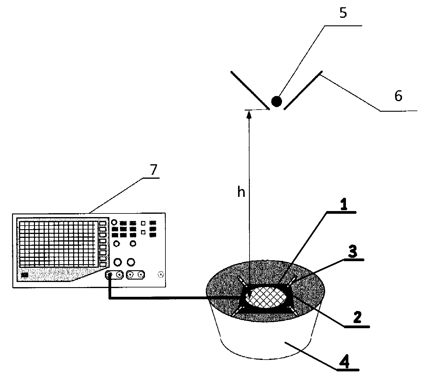
Urządzenie z płytką piezoelektryczną, posiadający płytkę piezoelektryczną (1), która zamocowana jest podstawą za pomocą połączenia klejowego do mosiężnej podstawy (2). Oba te elementy zawieszone są za pomocą amortyzatorów (3) w kształcie walca wykonanych z gumy do obudowy ekranującej (4).
Date of filing with the Polish Patent Office or with the competent office abroad
2018-01-31
Date of publication in ‘WUP’ or equivalent foreign bulletin
2024-03-04
Exclusive right number
Ru.073378
Boguta, A. M., & Majcher, J. (2018). Głowica z płytką piezoelektryczną. Urząd Patentowy Rzeczypospolitej Polskiej. https://hdl.handle.net/20.500.14629/18140

Loading...
Files
miniaturka.jpg
JPG 151.92 KB
Licence
Accessibility issue?Request a WCAG-compliant file
Publication available in collections: