Wiatrak reklamowy wychylany i obracany
Alternative title
Tilting and rotating advertising wind turbine
Type
Patent
Subtype
Invention
Authors/Creators
Publisher
Urząd Patentowy Rzeczypospolitej Polskiej
Date
2023
Abstract PL
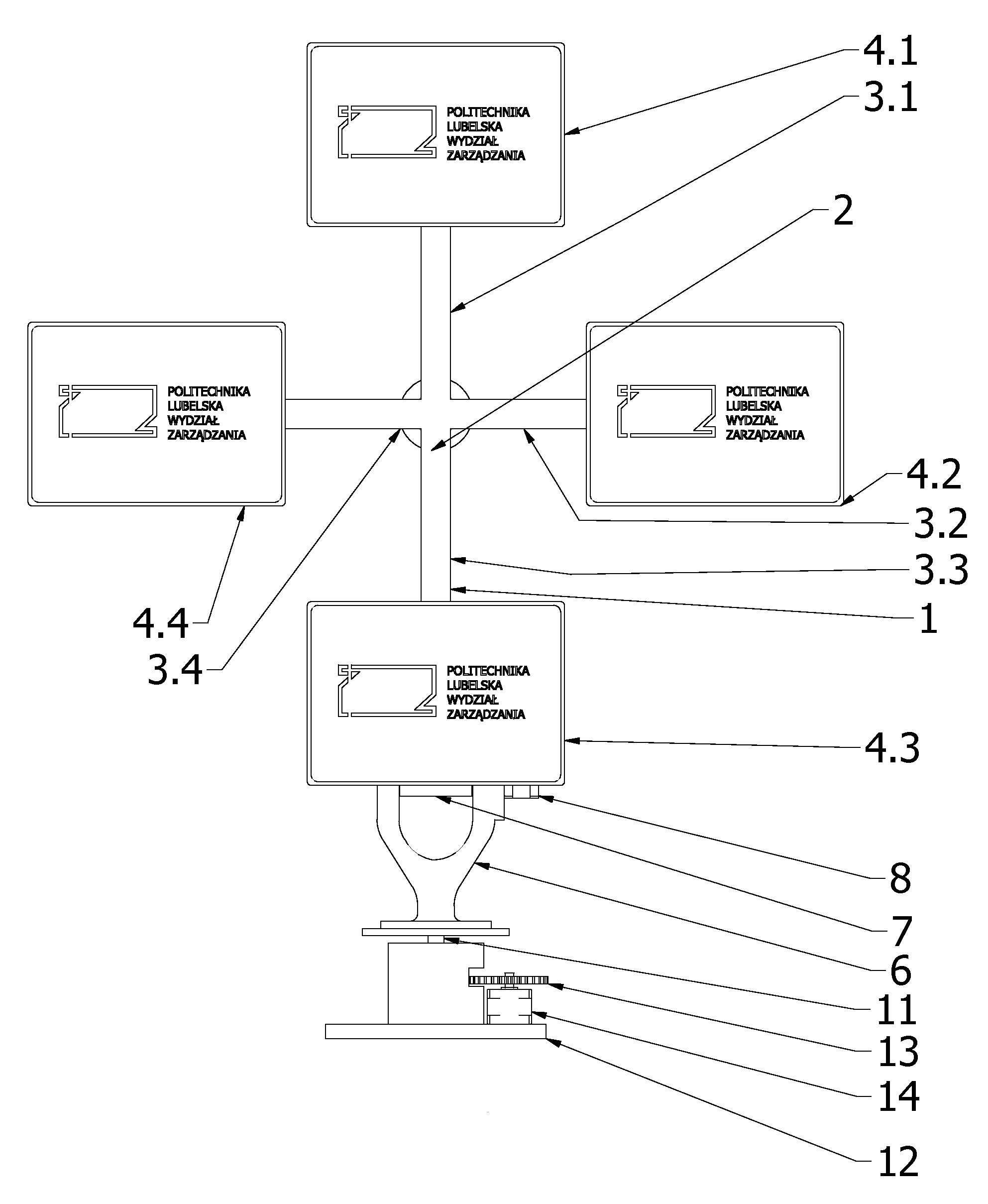
Przedmiotem zgłoszenia jest wychylany i obracany wiatrak reklamowy, zamocowany na słupie (1), do którego zamocowany jest pierwszy silnik elektryczny (2). Charakteryzuje się on tym, że na wale pierwszego silnika elektrycznego (2), o osi ułożonej prostopadle do osi słupa (1) zamocowane są pierwszymi końcami ramiona wiatraka (3.1, 3.2, 3.3, 3.4). Oś każdego z ramion wiatraka (3.1, 3.2, 3.3, 3.4) ułożona jest prostopadle do osi silnika (2). W drugiej końcowej części każdego z ramion wiatraka (3.1, 3.2, 3.3, 3.4) zamocowana jest obrotowo tablica reklamowa (4.1, 4.2, 4.3, 4.4), o osi obrotu ułożonej równolegle do osi pierwszego silnika elektrycznego (2). W dolnej części każdej z tablic reklamowych (4.1, 4.2, 4.3, 4.4) zamocowany jest obciążnik. Słup (1) zamocowany jest w podstawie (6) mechanizmu posiadającej dwa równoległe ramiona, pomiędzy którymi zamocowany jest uchylnie uchwyt (7), który połączony jest z podstawą (6) za pomocą trzpieni zamocowanych współosiowo w bocznych ścianach uchwytu (7) i zamocowanych obrotowo w otworach znajdujących się w podstawie (6). Do bocznej ściany podstawy (6) zamocowany jest drugi silnik elektryczny (8) z wałem znajdującym się w wybraniu ściany bocznej podstawy (6). Do wału drugiego silnika elektrycznego (8) zamocowane jest koło ze znajdującym się od strony jego podstawy trzpieniem, ułożonym niewspółosiowo do osi koła. Trzpień znajduje się w rowku prowadzącym znajdującym się w ścianie bocznej uchwytu (7), zaś dłuższe ściany rowka prowadzącego są ułożone wzdłuż osi słupa (1). Podstawa (6) słupa (1) zamocowana jest na płycie zamocowanej do górnej części drugiego słupa (11), który zamocowany jest obrotowo w dolnej części w drugiej podstawie (12) tudzież drugi słup (11) połączony jest za pomocą przekładni (13) z wałem trzeciego silnika elektrycznego (14) zamocowanego do drugiej podstawy (12).
Date of filing with the Polish Patent Office or with the competent office abroad
2023-10-27
Date of publication in ‘WUP’ or equivalent foreign bulletin
2024-10-14
Exclusive right number
Pat.245804
Statistics
Skowron, Ł., Gąsior, M., Bis, J., Witkowski, J., Jusiuk, P., Szymoniuk, B., & Cieplak, T. (2023). Wiatrak reklamowy wychylany i obracany. Urząd Patentowy Rzeczypospolitej Polskiej. https://hdl.handle.net/20.500.14629/17941

Files
miniaturka.jpg
JPG 254.65 KB
Licence
Accessibility issue?Request a WCAG-compliant file
Publication available in collections: