Sposób i urządzenie do kalibrowania kul dyskami płasko-spiralnymi
Alternative title
Method and apparatus for calibrating balls with flat and spiral disks
Type
Patent
Subtype
Invention
Authors/Creators
Publisher
Urząd Patentowy Rzeczypospolitej Polskiej
Date
2013
Abstract PL
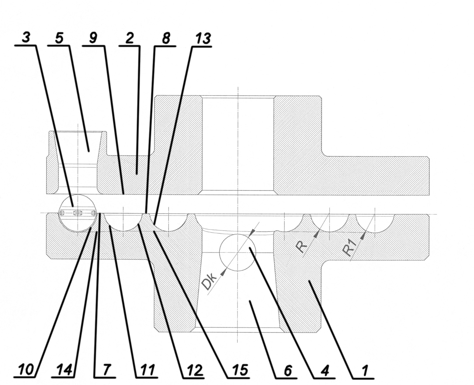
Sposób kalibrowania kul dyskami płasko - spiralnymi, zwłaszcza kul kutych z główek złomowanych szyn, charakteryzuje się tym, że półfabrykat (3) kuli umieszcza się w przestrzeni roboczej urządzenia, utworzonej przez dolną tarczę (1) roboczą, na powierzchni której znajdują się spiralne występy robocze oraz górną tarczę (2) roboczą o płaskiej powierzchni (9) roboczej, przy czym półfabrykat (3) podaje się do przestrzeni roboczej urządzenia przez otwór (5) umieszczony w górnej tarczy (2) roboczej, następnie uruchamia się ruch obrotowy dolnej tarczy (1) roboczej i górnej tarczy (2) roboczej w przeciwnych do siebie kierunkach oraz z taką samą prędkością n1 i zgniata się na półfabrykat (3) kuli wklęsłymi powierzchniami (10) i (11) bocznymi spiralnych występów (7) oraz płaską powierzchnią (9) roboczą, w wyniku czego wprawia się półfabrykat (3) kuli w ruch obrotowy ze stałą prędkością w kierunku przeciwnym do kierunku obrotów dolnej tarczy (1) roboczej i górnej tarczy (2) roboczej, następnie przemieszcza się półfabrykat (3) kuli między płaską powierzchnią (9) roboczą, a spiralnymi występami (7), (8) o wklęsłych powierzchniach (10), (11), (12), (13) bocznych i kalibruje się kształt półfabrykatu (3) kuli, w wyniku czego uzyskuje się kulę (4), którą odbiera się z przestrzeni roboczej urządzenia przez otwór (6), który znajduje się centralnie w osi dolnej tarczy (1) roboczej. Przedmiotem zgłoszenia jest również urządzenie do kalibrowania kul dyskami płasko-spiralnymi.
Date of filing with the Polish Patent Office or with the competent office abroad
2013-05-21
Date of publication in ‘WUP’ or equivalent foreign bulletin
2016-12-30
Exclusive right number
Pat.224259
Pater, Z., & Tomczak, J. (2013). Sposób i urządzenie do kalibrowania kul dyskami płasko-spiralnymi. Urząd Patentowy Rzeczypospolitej Polskiej. https://hdl.handle.net/20.500.14629/16911

Loading...
Files
miniaturka.jpg
JPG 329.88 KB
Licence
Accessibility issue?Request a WCAG-compliant file
Publication available in collections: