Połączenie hybrydowe i sposób jego wykonania
Alternative title
Hybrid connection and how to make it
Type
Patent
Subtype
Invention
Authors/Creators
Publisher
Urząd Patentowy Rzeczypospolitej Polskiej
Date
2021
Abstract PL
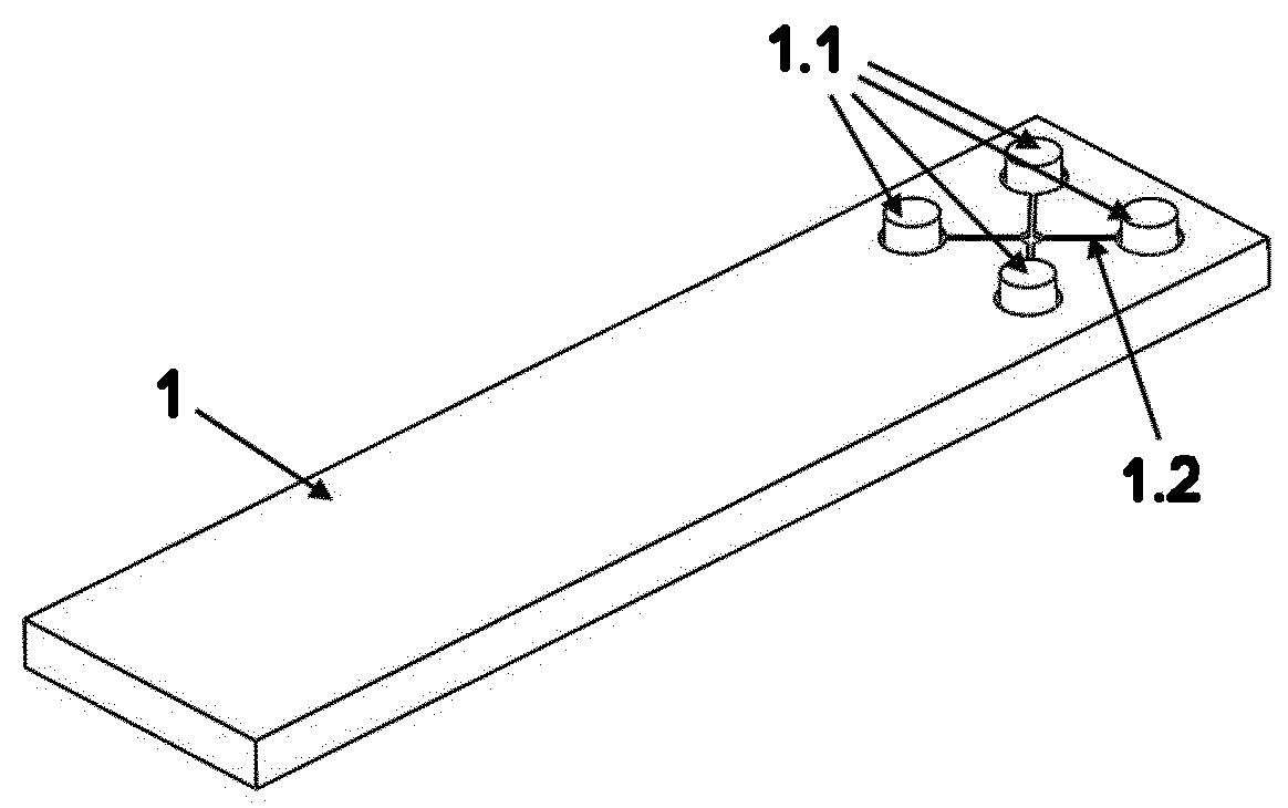
Połączenie hybrydowe pierwszego elementu (1) z tworzywa polimerowego oraz drugiego elementu metalowego albo kompozytowego z wykorzystaniem dwustronnej taśmy adhezyjnej z otworami, w których znajduje się klej epoksydowy albo żywica epoksydowa charakteryzuje się tym, że pierwszy element (1) posiada na swojej roboczej powierzchni wypusty (1.1), na około których znajdują się rowki (1.2), połączone ze sobą. Na roboczej powierzchni pierwszego elementu (1) naklejona jest pierwsza powierzchnia klejowa dwustronnej taśmy adhezyjnej o grubości w zakresie od 0,09 mm do 1,6 mm, w której znajdują się otwory o wymiarach wypustów (1.1) powiększonych o zadaną wartość. W dwustronnej taśmie adhezyjnej znajduje się również przelotowy otwór wtryskowy znajdujący się na wysokości rowków (1.2). Do drugiej powierzchni klejowej dwustronnej taśmy adhezyjnej przyklejona jest powierzchnia robocza drugiego elementu posiadającego na swojej roboczej powierzchni otwory przelotowe o wymiarach wypustów (1.1). W drugim elemencie znajduje się przelotowy otwór wtryskowy. W rowkach (1.2) pierwszego elementu (1), otworach dwustronnej taśmy adhezyjnej oraz w wolnych przestrzeniach otworów i przelotowym otworze wtryskowym drugiego elementu znajduje się klej epoksydowy albo żywica epoksydowa. Sposób wykonania połączenia hybrydowego pierwszego elementu (1) z tworzywa polimerowego oraz drugiego elementu metalowego albo kompozytowego z wykorzystaniem dwustronnej taśmy adhezyjnej z otworami, w których znajduje się klej epoksydowy albo żywica epoksydowa polega na tym, że na powierzchnie roboczą pierwszego elementu (1), który posiada na swojej roboczej powierzchni wypusty (1.1), na około których znajdują się rowki (1.2), połączone ze sobą nakleja się pierwszą powierzchnią klejową dwustronną taśmę adhezyjną, w której znajdują się otwory o wymiarach wypustów (1.1) powiększonych o zadaną wartość oraz przelotowy otwór wtryskowy, w ten sposób aby wypusty (1.1) pierwszego elementu (1) znajdowały się w otworach dwustronnej taśmy adhezyjnej oraz aby pierwszy otwór wtryskowy znajdował się na wysokości połączenia rowków (1.2) pierwszego elementu (1). Następnie na drugą powierzchnię klejową dwustronnej taśmy adhezyjnej nakleja się powierzchnię roboczą drugiego elementu z otworami przelotowymi i przelotowym otworem wtryskowym w ten sposób aby wypusty (1.1) pierwszego elementu (1) znajdowały się w otworach przelotowych drugiego elementu oraz otwór wtryskowy drugiego elementu znajdował się na wysokości otworu wtryskowego dwustronnej taśmy adhezyjnej a następnie poprzez otwór wtryskowy drugiego elementu wtryskuje się klej epoksydowy albo żywicę epoksydową z ciśnieniem pozwalającym na wypełnienie pustej przestrzeni.
Date of filing with the Polish Patent Office or with the competent office abroad
2021-11-05
Date of publication in ‘WUP’ or equivalent foreign bulletin
2024-04-02
Exclusive right number
Pat.244931
Golewski, P. (2021). Połączenie hybrydowe i sposób jego wykonania. Urząd Patentowy Rzeczypospolitej Polskiej. https://hdl.handle.net/20.500.14629/17477

Loading...
Files
miniaturka.jpg
JPG 78.22 KB
Licence
Accessibility issue?Request a WCAG-compliant file
Publication available in collections: