Przyłbica ze sterowaną wentylacją
Alternative title
Head screen with controlled ventilation
Type
Patent
Subtype
Invention
Authors/Creators
Publisher
Urząd Patentowy Rzeczypospolitej Polskiej
Date
2020
Abstract PL
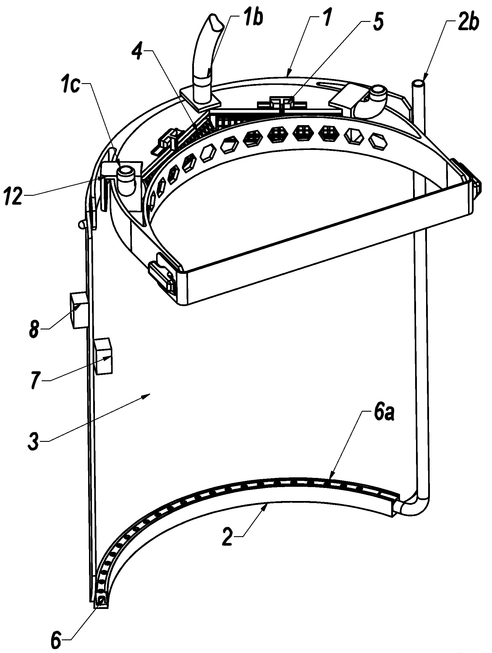
Przedmiotem wynalazku jest przyłbica ze sterowaną wentylacją posiadająca opaskę nadmuchową. Składa się ona z opaski nadmuchowej posiadającej korpus (1) opasujący czoło użytkownika oraz z dyszy posiadającej korpus (2) zamocowany do dolnej przeźroczystej części twarzowej przyłbicy (3). W korpusie (1) opaski znajduje się kanał z wlotem (1b, 1c). Na otwartej ścianie kanału znajdują się żaluzje (4) połączone za pomocą uchwytu (5). W korpusie (2) dyszy znajduje się kanał z przewodem (2b). W górnej ścianie kanału dyszy znajdują się przelotowe otwory. Na górnej ścianie korpusu (2) dyszy znajduje się prowadnica, w której znajduje się przesłona (6) z przelotowymi otworami (6a). Na wewnętrznej i zewnętrznej powierzchni przeźroczystej części twarzowej przyłbicy (3) znajdują się zespoły czujników wilgotności i temperatury powietrza (7, 8), które połączone są z modułem sterującym zamocowanym do obudowy wentylatora nadmuchowego, który połączony jest przewodem poprzez filtr powietrza z wlotem (1b, 1c) kanału korpusu (1) opaski oraz z przewodem (2b) korpusu (2) dyszy.
Date of filing with the Polish Patent Office or with the competent office abroad
2020-08-12
Date of publication in ‘WUP’ or equivalent foreign bulletin
2021-12-27
Exclusive right number
Pat.239703
Statistics
Połednik, B., Nowicki, M., Przystupa, K., & Ciecieląg, K. (2020). Przyłbica ze sterowaną wentylacją. Urząd Patentowy Rzeczypospolitej Polskiej. https://hdl.handle.net/20.500.14629/17327

Files
miniaturka.jpg
JPG 309.15 KB
Licence
Accessibility issue?Request a WCAG-compliant file
Publication available in collections: