Szczotka walcowa do usuwania zadziorów
Alternative title
Roller brush for deburring
Type
Patent
Subtype
Invention
Authors/Creators
Publisher
Urząd Patentowy Rzeczypospolitej Polskiej
Date
2011
Abstract PL
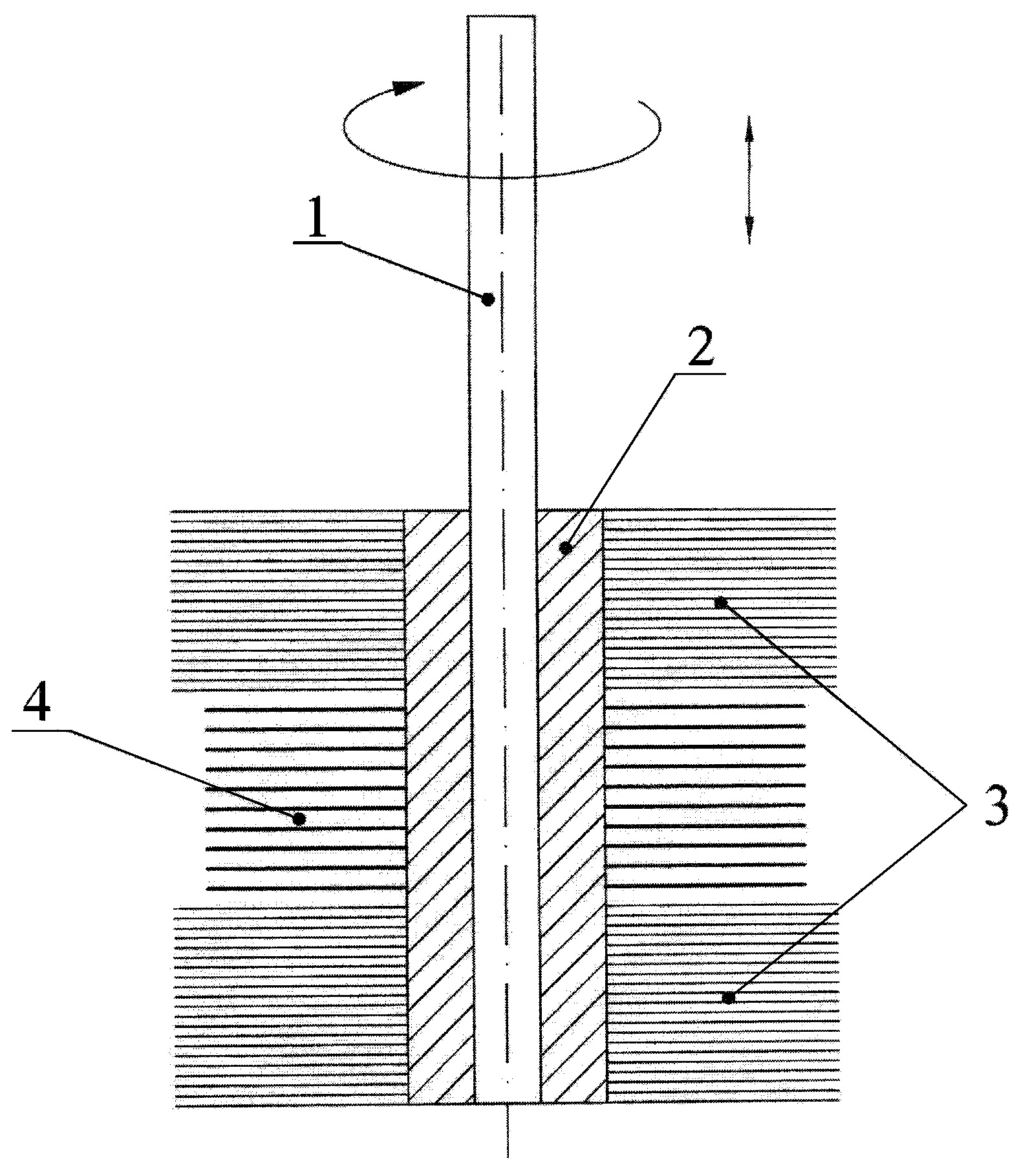
Wynalazek dotyczy szczotki walcowej do usuwania zadziorów, zwłaszcza po obróbce skrawaniem i obróbce plastycznej. Szczotka zbudowana jest z trzpienia (1), służącego do zamocowania we wrzecionie maszyny technologicznej, tulei (2) oraz rozmieszczonych na tulei włókien roboczych, które składają się na część (4) usuwającą, przeznaczoną do usuwania zadziorów i część (3) wygładzającą, przeznaczoną do poprawy gładkości powierzchni. Włókna w części wygładzającej mają mniejszą średnicę i większą długość niż włókna w części usuwającej, a odległości między włóknami mierzone w kierunku osiowym są mniejsze w części wygładzającej niż w części usuwającej.
Date of filing with the Polish Patent Office or with the competent office abroad
2011-05-23
Date of publication in ‘WUP’ or equivalent foreign bulletin
2015-11-30
Exclusive right number
Pat.220516
Zaleski, K., & Matuszak, J. (2011). Szczotka walcowa do usuwania zadziorów. Urząd Patentowy Rzeczypospolitej Polskiej. https://hdl.handle.net/20.500.14629/16934

Loading...
Files
miniaturka.jpg
JPG 531.85 KB
Licence
Accessibility issue?Request a WCAG-compliant file
Publication available in collections: