Wiatrak reklamowy
Alternative title
Advertising wind turbine
Type
Patent
Subtype
Invention
Authors/Creators
Publisher
Urząd Patentowy Rzeczypospolitej Polskiej
Date
2023
Abstract PL
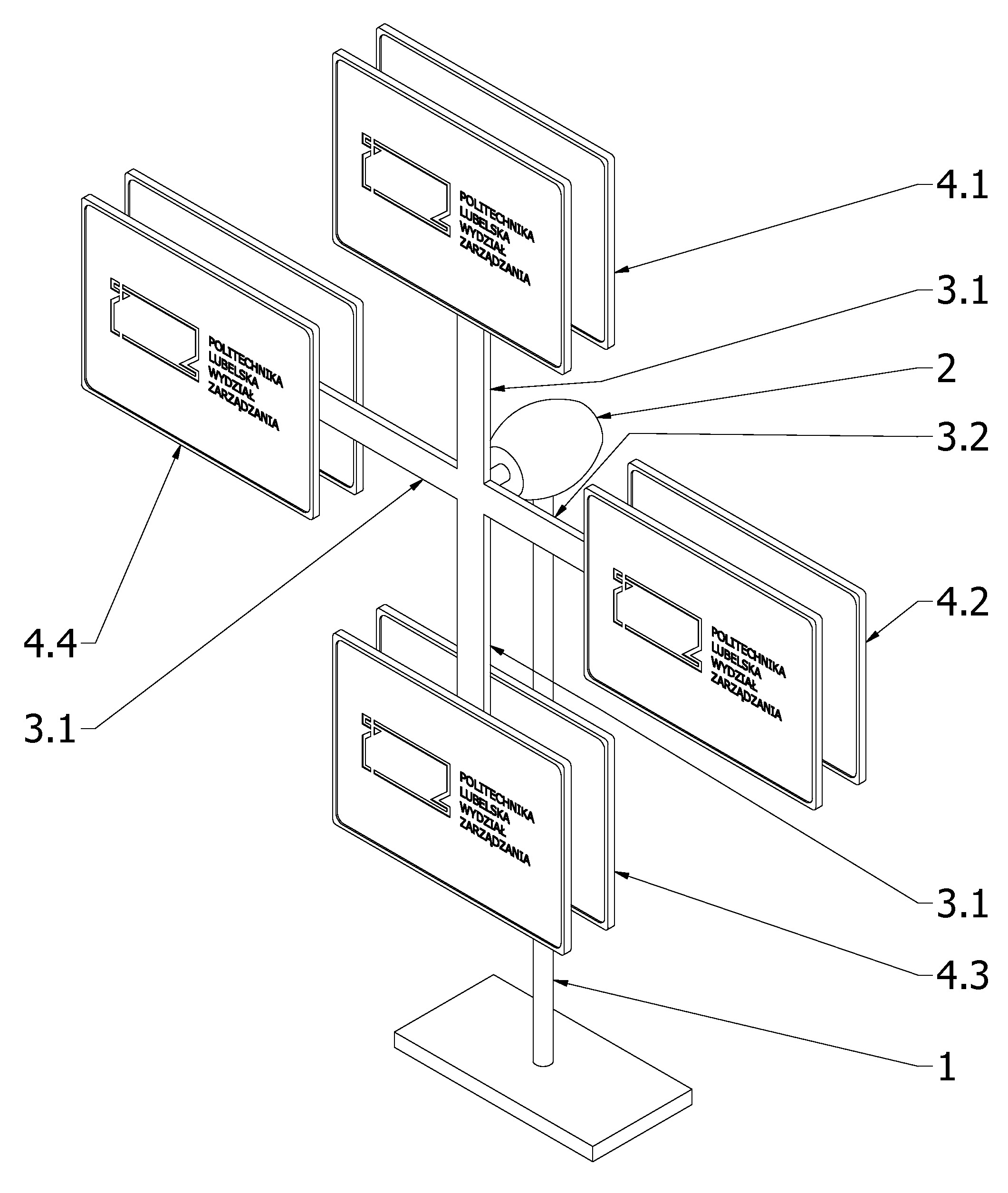
Przedmiotem zgłoszenia jest wiatrak reklamowy, zamocowany na słupie (1), do którego zamocowany jest silnik elektryczny (2). Charakteryzuje się on tym, że na wale silnika elektrycznego (2), o osi ułożonej prostopadle do osi słupa (1) zamocowane są pierwszymi końcami ramiona (3.1, 3.2). Oś każdego z ramion (3.1, 3.2) ułożona jest prostopadle do osi silnika elektrycznego (2). W drugiej końcowej części każdego z ramion (3.1, 3.2) zamocowana jest obrotowo wokół osi równoległej do osi silnika elektrycznego (2) tablica reklamowa (4.1, 4.2, 4.3, 4.4). W dolnej części każdej z tablic reklamowych (4.1, 4.2, 4.3, 4.4) zamocowany jest obciążnik.
Date of filing with the Polish Patent Office or with the competent office abroad
2023-10-27
Date of publication in ‘WUP’ or equivalent foreign bulletin
2024-10-14
Exclusive right number
Pat.245825
Statistics
Skowron, Ł., Gąsior, M., Gola, A., Rzepka, A., Cholewa-Wiktor, M., Sulimierska, A., & Przysucha, B. (2023). Wiatrak reklamowy. Urząd Patentowy Rzeczypospolitej Polskiej. https://hdl.handle.net/20.500.14629/17943

Files
miniaturka.jpg
JPG 416.44 KB
Licence
Accessibility issue?Request a WCAG-compliant file
Publication available in collections: