Wytłaczarka do tworzyw polimerowych
Alternative title
Extruder for polymer materials
Type
Patent
Subtype
Invention
Authors/Creators
Publisher
Urząd Patentowy Rzeczypospolitej Polskiej
Date
2012
Abstract PL
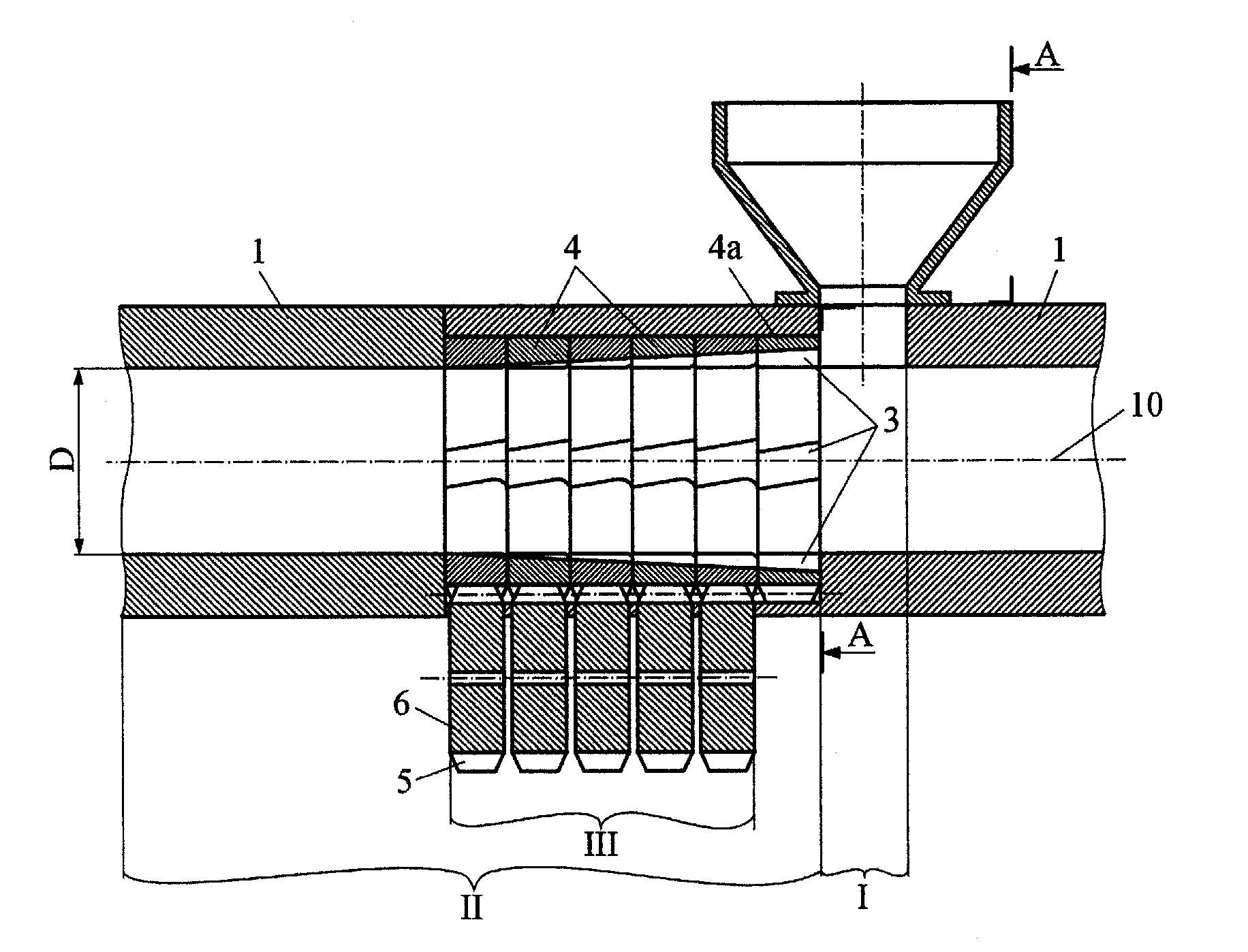
Wytłaczarka do tworzyw polimerowych, mająca układ uplastyczniający z aktywnym cylindrem rowkowanym z rowkami wzdłużnymi w strefie zasypu i w części strefy przemiany układu uplastyczniającego, następującej bezpośrednio po strefie zasypu, zaopatrzony w tuleję rowkowaną, skręcaną za pomocą mechanizmu skręcającego i pasowaną suwliwie, obrotowo w cylindrze na całej długości współpracy z cylindrem charakteryzuje się tym, że układ uplastyczniający składa się z cylindra (1), w którym w strefie (I) zasypu i w części strefy (II) przemiany układu uplastyczniającego, następującej bezpośrednio po strefie zasypu, znajduje się rowkowana segmentowa tuleja (III) składana stopniowo-obrotowa z rowkami (3) wzdłużnymi, składająca się z poprzecznych segmentów (4) pierścieniowych, pasowanych suwliwie, obrotowo względem siebie oraz względem cylindra (1) na całej powierzchni współpracy z segmentem (4) i cylindrem (1).
Date of filing with the Polish Patent Office or with the competent office abroad
2012-12-10
Date of publication in ‘WUP’ or equivalent foreign bulletin
2015-08-31
Exclusive right number
Pat.219984
Statistics
Sikora, J. W., Suberlach, O., & Greškovič, F. (2012). Wytłaczarka do tworzyw polimerowych. Urząd Patentowy Rzeczypospolitej Polskiej. https://hdl.handle.net/20.500.14629/17751

Loading...
Files
miniaturka.jpg
JPG 397.81 KB
Licence
Accessibility issue?Request a WCAG-compliant file
Publication available in collections: