Łącznik płyt
Alternative title
Coupler for jointing together panel-like members
Type
Patent
Subtype
Invention
Authors/Creators
Publisher
Urząd Patentowy Rzeczypospolitej Polskiej
Date
1995
Abstract PL
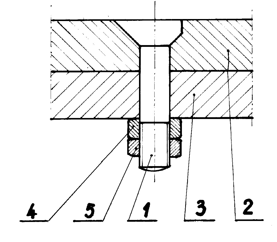
Łącznik płyt, zwłaszcza chłodnika rusztowego klinkieru cementowego, pracującego w temperaturach 500 - 900°C przy piecach obrotowych do wypalania klinkieru cementowego, ma śrubę (1) z łbem stożkowym lub soczewkowym, ściętym, płaskim o średnicy nieco mniejszej od średnicy otworów w łączonych płytach (2, 3), z gwintem wykonanym nieco poza przekrojem płyt. Z gwintem śruby współpracują co najmniej dwie nakrętki (4, 5) dotykające do dolnej płyty (3) i do siebie, wykonane z materiału o co najmniej półtora raza mniejszym współczynniku rozszerzalności liniowej od współczynnika rozszerzalności liniowej materiału śruby.
Date of filing with the Polish Patent Office or with the competent office abroad
1995-04-12
Date of publication in ‘WUP’ or equivalent foreign bulletin
1998-09-30
Exclusive right number
Pat.174715
Weroński, A., Miącz, A., Kasietczuk, J., & Szewczyk, S. (1995). Łącznik płyt. Urząd Patentowy Rzeczypospolitej Polskiej. https://hdl.handle.net/20.500.14629/17410

Loading...
Files
miniaturka.jpg
JPG 137.08 KB
Licence
Accessibility issue?Request a WCAG-compliant file
Publication available in collections: