Sposób wykonywania płyt budowlanych i płyta budowlana
Alternative title
Method of making panel-type building unit and panel-type building units made thereby
Type
Patent
Subtype
Invention
Authors/Creators
Publisher
Urząd Patentowy Rzeczypospolitej Polskiej
Date
1996
Abstract PL
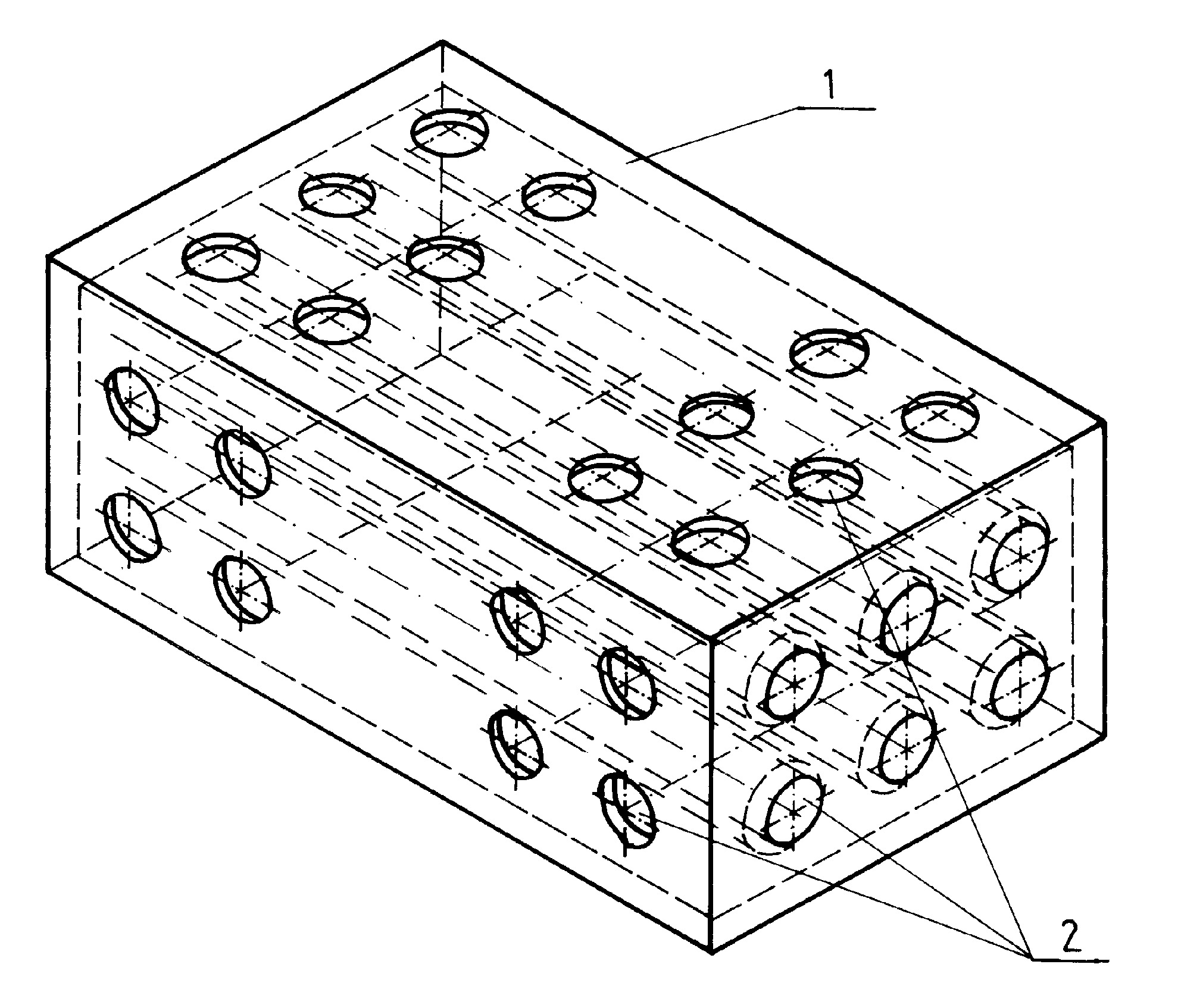
Wynalazek dotyczy sposobu wykonania płyt budowlanych i płyty budowlane z zastosowaniem tworzyw sztucznych, zwłaszcza do konstrukcji budynków mieszkalnych. Sposób polega na tym, że na powłoki zewnętrzne, ograniczające płytę, od wewnątrz płytę i na rury, wypełniające przestrzeń płyty, od zewnątrz nanosi się włókna, najkorzystniej polipropylenu, o długości 20 - 50 mm i zagęszczeniu 5 - 20 szt./cm2 w zmiennym polu elektrycznym i przy doprowadzeniu do ich powierzchni skoncentrowanego strumienia ultradźwięków, najkorzystniej pneumatycznie lub okleja się te powierzchnie tkaniną o zbliżonym parametrach geometrycznych i fizycznych. Płyta budowlana jest ograniczona od zewnątrz płytami (1) tworzywowymi, kompozytowymi, wewnątrz w każdym z trzech kierunków płyta posiada co najmniej po dwa przenikające się kanały (2) przelotowe w kształcie najkorzystniej cylindrycznych rur, powierzchnie wewnętrzne płyt i zewnętrzne rur uzbrojone są włóknami, najkorzystniej z polipropylenu o długości 20 - 50 mm i zagęszczeniu 5 - 20 szt./cm2, a przestrzeń wewnętrzna wypełniona jest betonem lub gipsem albo zaprawą klejowo-cementową lub strukturami pianowymi, twardymi.
Date of filing with the Polish Patent Office or with the competent office abroad
1996-11-21
Date of publication in ‘WUP’ or equivalent foreign bulletin
2002-06-28
Exclusive right number
Pat.183195
Statistics
Wójcik, W. (1996). Sposób wykonywania płyt budowlanych i płyta budowlana. Urząd Patentowy Rzeczypospolitej Polskiej. https://hdl.handle.net/20.500.14629/17472

Files
miniaturka.jpg
JPG 550.71 KB
Licence
Accessibility issue?Request a WCAG-compliant file
Publication available in collections: