Głowica wytłaczarska do rur
Alternative title
Extrusion head for making pipes
Type
Patent
Subtype
Invention
Authors/Creators
Publisher
Urząd Patentowy Rzeczypospolitej Polskiej
Date
1996
Abstract PL
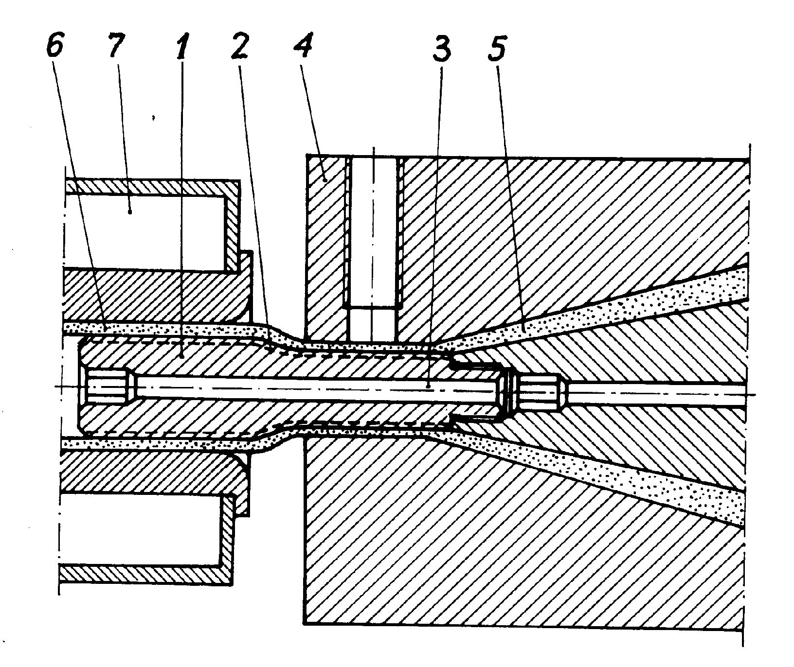
Głowica wytłaczarska do rur z termoplastycznych tworzyw sztucznych charakteryzuje się tym, że w głowicy (4) wytłaczarskiej znajduje się trzpień (1) kształtowy z centralnym otworem (3) chłodzącym, zewnętrznie dwuśrednicowy z łagodnym przejściem między powierzchniami tworzącymi, posiadający rowki (2) wzdłużne równomiernie rozmieszczone na obwodach trzpienia (1) kształtowego, przy czym część trzpienia (1) kształtowego o większej średnicy wystaje poza czoło głowicy (4) wytłaczarskiej od ułamka do kilku średnic, korzystnie 1-3 średnice wytłaczanej na gotowo rury (6) i znajduje się wewnątrz kalibratora (7).
Date of filing with the Polish Patent Office or with the competent office abroad
1996-06-12
Date of publication in ‘WUP’ or equivalent foreign bulletin
2000-12-29
Exclusive right number
Pat.180032
Statistics
Sikora, J. (1996). Głowica wytłaczarska do rur. Urząd Patentowy Rzeczypospolitej Polskiej. https://hdl.handle.net/20.500.14629/17465

Files
miniaturka.jpg
JPG 604.17 KB
Licence
Accessibility issue?Request a WCAG-compliant file
Publication available in collections: