Układ uplastyczniający wytłaczarki
Alternative title
Plasticizing system of an extruder
Type
Patent
Subtype
Invention
Authors/Creators
Publisher
Urząd Patentowy Rzeczypospolitej Polskiej
Date
2019
Abstract PL
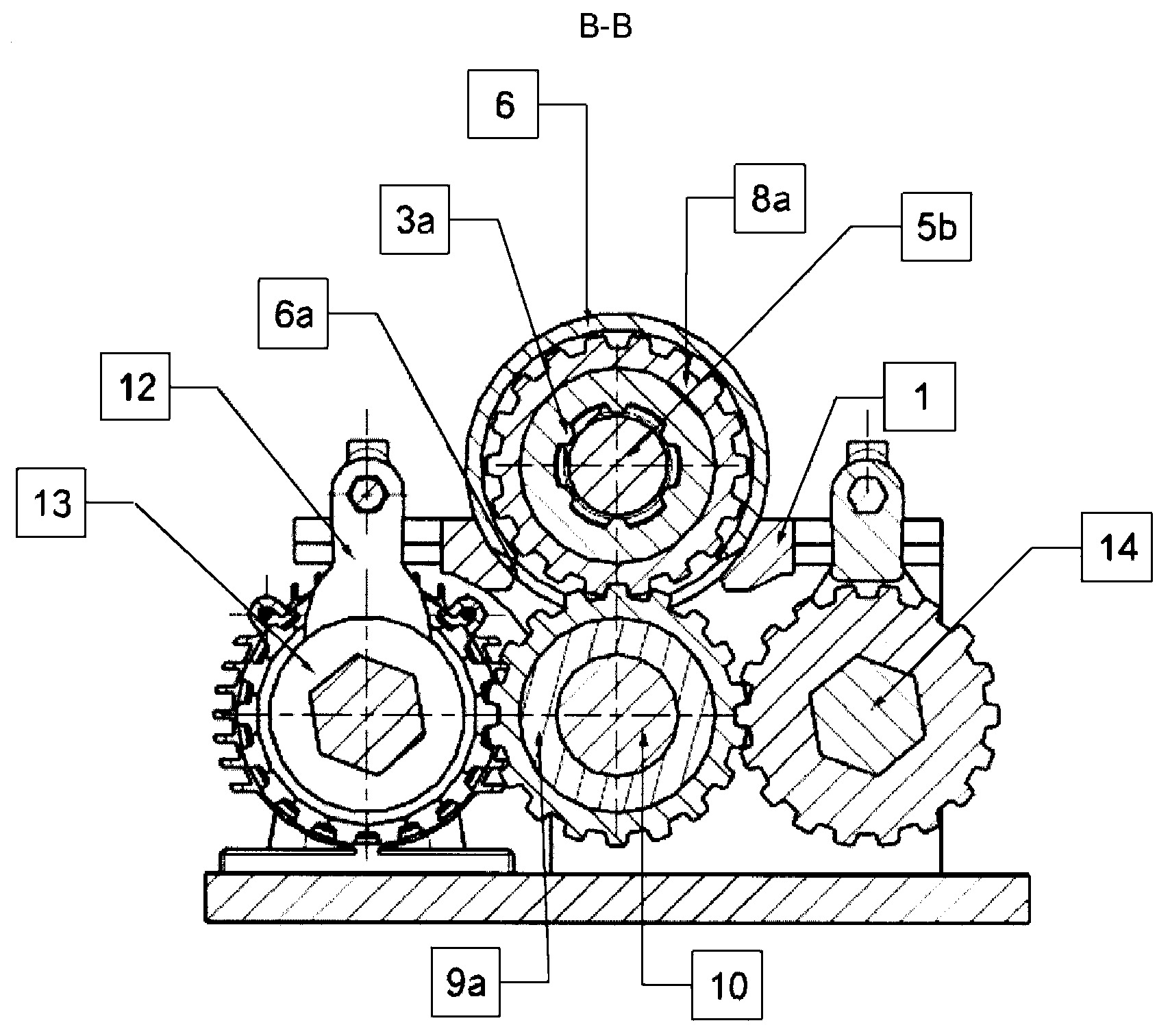
Układ uplastyczniający wytłaczarki, który posiada podstawę (1), na której znajduje się część cylindryczna składająca się z pierwszej nieruchomej części cylindra, z ułożoną z nią współosiowo drugą nieruchomą częścią cylindra, połączonych za pomocą cylindrycznej obudowy (6), pomiędzy którymi znajdujecie co najmniej dwie tuleje obrotowe napędzane przez koło zębate, zaś wewnątrz części cylindrycznej znajduje się ślimak, charakteryzuje się tym, że pierwsza nieruchoma część cylindra oraz druga nieruchoma część cylindra połączone są cylindryczną obudową (6) posiadającą co najmniej dwa rowki przelotowe (6a) usytuowane poprzecznie do osi cylindrycznej obudowy (6). Wewnątrz cylindrycznej obudowy (6), w miejscu rowków przelotowych (6a), pomiędzy nieruchomymi częściami cylindra znajdują się co najmniej dwie tuleje obrotowe, z co najmniej dwoma wypustami (3a), rozmieszczonymi symetrycznie na obwodzie tulei obrotowej w co najmniej dwóch rzędach, które posiadają kształt zbliżony do odcinka kuli, natomiast ślimak w części znajdującej się wewnątrz tulei obrotowych posiada gładką torpedę (5b) o średnicy mniejszej niż średnica zwoju ślimaka. Każda z tulei na swoim zewnętrznym obwodzie posiada uzębienie (8a) zazębione z pośrednim kołem zębatym (9a). Na obydwu końcach podstawy (1) zamocowane są siłowniki, a na końcu każdego siłownika zamocowany jest hak (12), który w środkowej części posiada pustą przestrzeń. Boczne części haka zaczepione są o ścianki rowków znajdujących się po obydwu stronach napędzającego koła zębatego (13) osadzonego przesuwnie na wale napędowym (14) silnika, a napędzające koło zębate (13) zazębiane jest z pośrednim kołem zębatym (9a).
Date of filing with the Polish Patent Office or with the competent office abroad
2019-04-08
Date of publication in ‘WUP’ or equivalent foreign bulletin
2020-05-18
Exclusive right number
Pat.235008
Statistics
Majewski, Ł., Sikora, J., & Dulebová, L. (2019). Układ uplastyczniający wytłaczarki. Urząd Patentowy Rzeczypospolitej Polskiej. https://hdl.handle.net/20.500.14629/17677

Loading...
Files
miniaturka.jpg
JPG 391.33 KB
Licence
Accessibility issue?Request a WCAG-compliant file
Publication available in collections: