Aparat do wydłużania kończyn
Alternative title
Limb elongating apparatus
Type
Patent
Subtype
Invention
Authors/Creators
Publisher
Urząd Patentowy Rzeczypospolitej Polskiej
Date
1993
Abstract PL
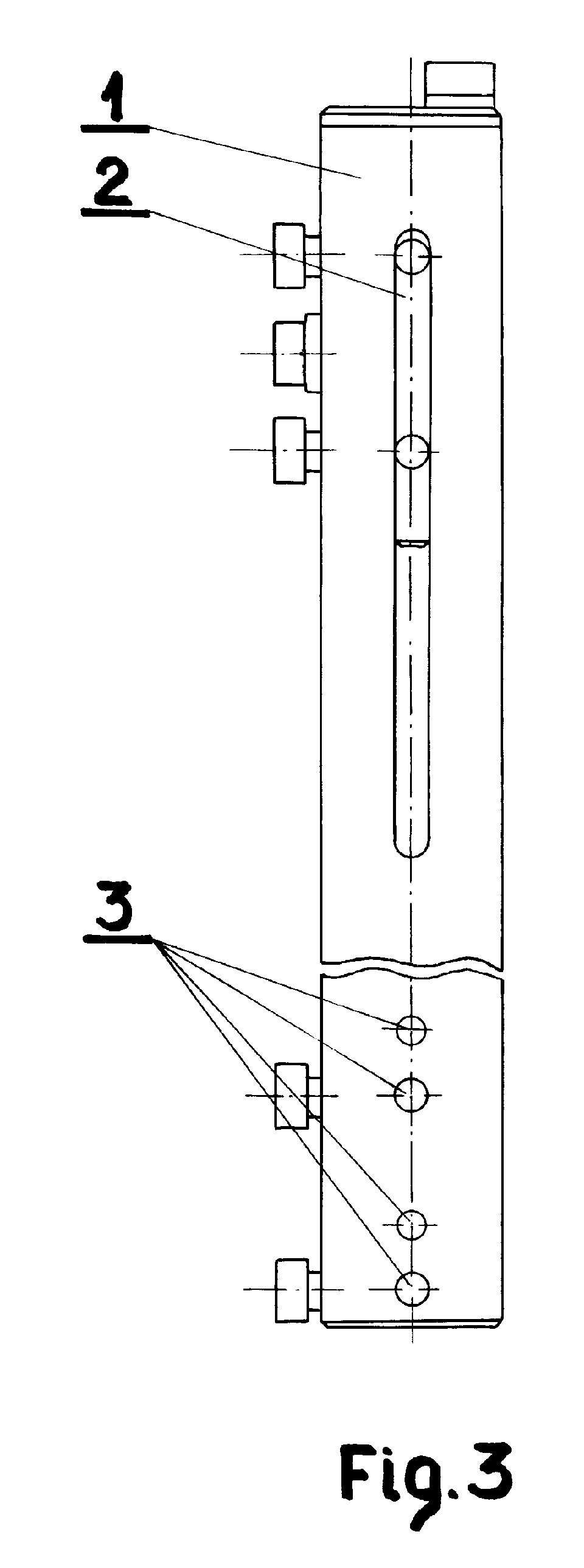
Aparat do wydłużania kończyn składa się z rurowej prowadnicy (1), na której od strony napędu wykonane są co 90° trzy wzdłużne, równoległe do osi prowadnicy wycięcia (2 i 2a), a od strony otwartej wykonane są wzdłuż osi wycięć trzy szeregi otworów (3 i 3a). Wewnątrz prowadnicy, od strony otwartej, umieszczony jest nieruchomy nasrawny uchwyt (4), z dwoma parami osiowymi, prostopadłych do siebie przelotowych otworów (5 i 6), z których jeden z pary (6) jest gwintowany, pokrywającymi się otworami (3 i 3a) w prowadnicy. W otworach (5) gładkich w uchwycie (4) nieruchomym i otworach (3) w prowadnicy umieszczone są wszczepy (7) kostne, a w otworach (6) gwintowanych i otworach (3a) umieszczone są śruby (8) ustalające, dotykające do wszczepów (7) od strony napędu w prowadnicy, wewnątrz znajduje się uchwyt (9) przesuwny, z trzema parami osiowych, przelotowych, prostopadłych do siebie otworów (10 i 11), z których jedne (10), równoległe do siebie, są gwintowane, pokrywających się z wzdłużnymi wycięciami (2 i 2a), przy czym w skrajnych otworach gładkich (11) i wycięciu (2) znajdują się wszczepy (7) kostne, a w skrajnych otworach (10) gwintowanych i wycięciu (2a) znajdują się śruby (8) ustalające wszczepy (7), dotykające do wszczepów, natomiast w środkowym otworze (10) gwintowanym i wycięciu (2a) znajduje się śruba (8a) z podkładką, ustalająca uchwyt (9) przesuwny względem prowadnicy (1). Aparat posiada też otwory ze śrubą napędzającą (14).
Date of filing with the Polish Patent Office or with the competent office abroad
1993-05-18
Date of publication in ‘WUP’ or equivalent foreign bulletin
1997-01-31
Exclusive right number
Pat.170631
Statistics
Dziubiński, F., Lenik, K., Gregosiewicz, A., Konera, W., & Snela, S. (1993). Aparat do wydłużania kończyn. Urząd Patentowy Rzeczypospolitej Polskiej. https://hdl.handle.net/20.500.14629/17456

Loading...
Files
miniaturka.jpg
JPG 130.65 KB
Licence
Accessibility issue?Request a WCAG-compliant file
Publication available in collections: