Sposób i urządzenie do napawania warstw o zmiennym składzie chemicznym
Alternative title
Method and device designed for pad welding with layers of variable chemical composition
Type
Patent
Subtype
Invention
Authors/Creators
Publisher
Urząd Patentowy Rzeczypospolitej Polskiej
Date
1994
Abstract PL
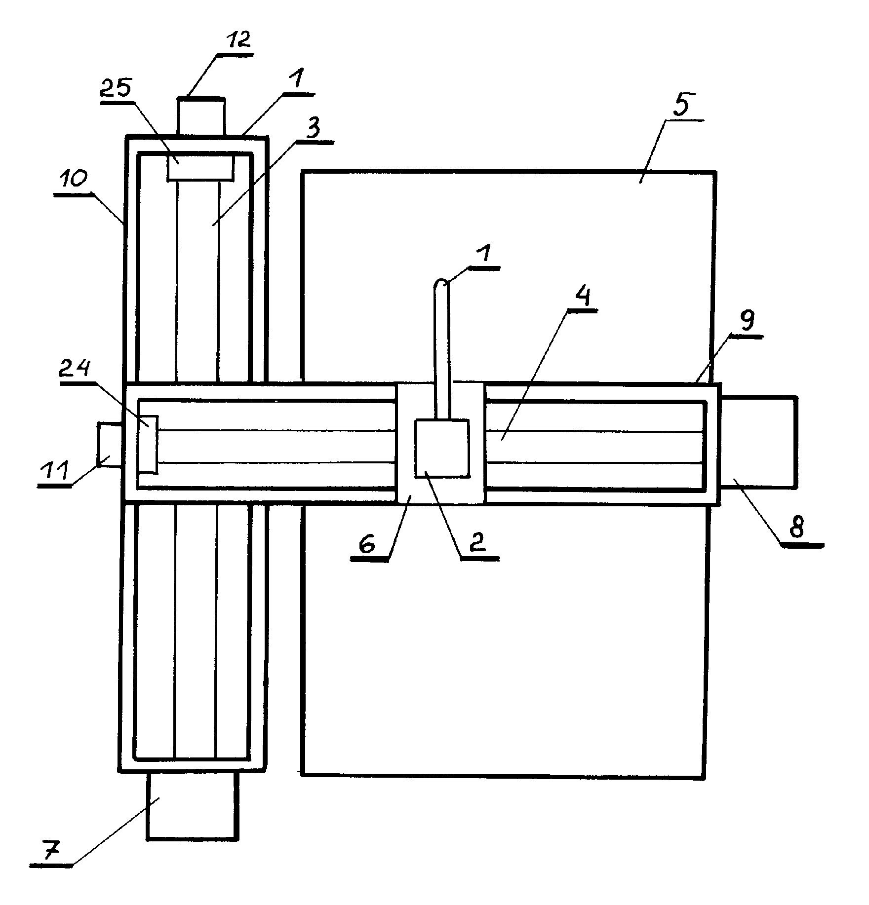
Sposób napawania warstw o zmiennym składzie chemicznym, w którym proszek wytworzony w układzie dozowania proszków zawierającym dozowniki podające różne rodzaje proszków podawany jest ze zbiorników z szybkością określoną przez prędkości kątowe wirników dozowników, polega na tym, że prędkości kątowe wirników dozowników są zmieniane według ustalonego algorytmu określającego zależności składu chemicznego proszku podawanego do dyszy palnika. Urządzenie zawiera palnik (1) do napawania wraz z układem dozowania (2) proszków, umieszczony na suwaku (6), którego położenie względem krawędzi napawanego przedmiotu zmienia się przy pomocy śrub (3 i 4) napędzanych silnikami (7 i 8) przymocowanymi do obudów (9, 10), zaś kąt obrotu śrub (3 i 4) jest mierzony przetwornikami (11 i 12), a sygnał z przetworników (11, i 12) określa położenie dyszy palnika (1) i służy do określania składu chemicznego proszku podawanego do dyszy palnika (1) przy pomocy układu dozującego (2).
Date of filing with the Polish Patent Office or with the competent office abroad
1994-11-07
Date of publication in ‘WUP’ or equivalent foreign bulletin
1999-04-30
Exclusive right number
Pat.176204
Statistics
Weroński, A., & Hejwowski, T. (1994). Sposób i urządzenie do napawania warstw o zmiennym składzie chemicznym. Urząd Patentowy Rzeczypospolitej Polskiej. https://hdl.handle.net/20.500.14629/17446

Loading...
Files
miniaturka.jpg
JPG 166.17 KB
Licence
Accessibility issue?Request a WCAG-compliant file
Publication available in collections: