Wiatrak reklamowy wychylany i obracany i podnoszony
Alternative title
Tilting, rotating and lifting advertising wind turbine
Type
Patent
Subtype
Invention
Authors/Creators
Publisher
Urząd Patentowy Rzeczypospolitej Polskiej
Date
2023
Abstract PL
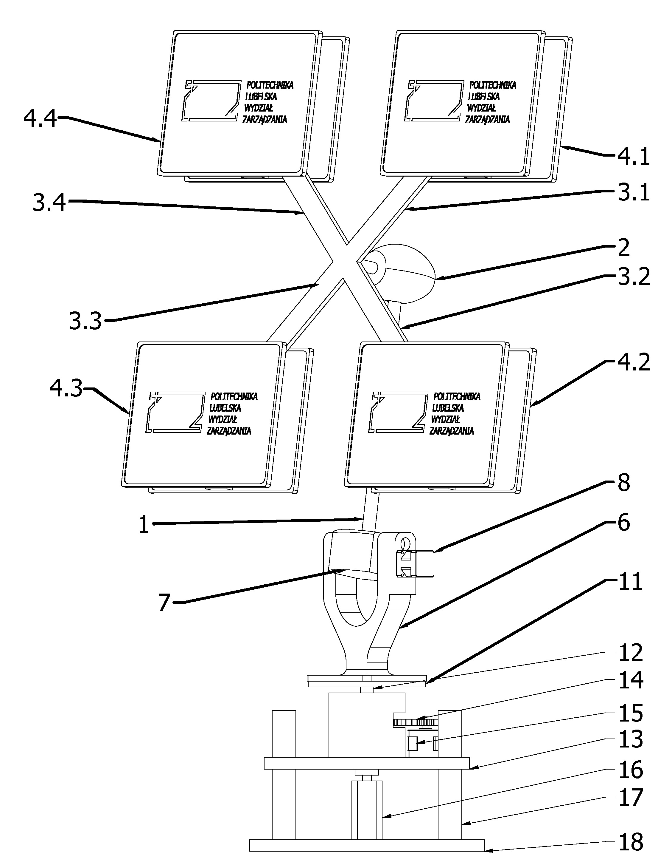
Przedmiotem zgłoszenia jest wiatrak reklamowy wychylany i obracany, i podnoszony, zamocowany na słupie (1), do którego zamocowany jest pierwszy silnik elektryczny (2). Charakteryzuje się on tym, że na wale pierwszego silnika elektrycznego (2), o osi ułożonej prostopadle do osi słupa (1) zamocowane są pierwszymi końcami ramiona (3.1, 3.2, 3.3, 3.4). Oś każdego z ramion (3.1, 3.2, 3.3, 3.4) ułożona jest prostopadle do osi silnika elektrycznego (2). W drugiej końcowej części każdego z ramion (3.1, 3.2, 3.3, 3.4) zamocowana jest obrotowo tablica reklamowa (4.1, 4.2, 4.3, 4.4), o osi obrotu ułożonej równolegle do osi pierwszego silnika elektrycznego (2). W dolnej części każdej z tablic reklamowych (4.1, 4.2, 4.3, 4.4) zamocowany jest obciążnik. Słup (1) zamocowany jest obrotowo w dolnej części w pierwszej podstawie (6) oraz słup (1) połączony jest za pomocą przekładni (7) z wałem drugiego silnika elektrycznego (8) zamocowanego do pierwszej podstawy (6). Pierwsza podstawa (6) zamocowana jest za pomocą siłownika i słupy prowadzące do drugiej podstawy (11).
Date of filing with the Polish Patent Office or with the competent office abroad
2023-10-27
Date of publication in ‘WUP’ or equivalent foreign bulletin
2024-12-16
Exclusive right number
Pat.246220
Statistics
Skowron, Ł., Gąsior, M., Bis, J., Jusiuk, P., Wyrwisz, J., Kozłowski, E., & Dziwulski, J. (2023). Wiatrak reklamowy wychylany i obracany i podnoszony. Urząd Patentowy Rzeczypospolitej Polskiej. https://hdl.handle.net/20.500.14629/18087

Files
miniaturka.jpg
JPG 492.19 KB
Licence
Accessibility issue?Request a WCAG-compliant file
Publication available in collections: