Ramka reklamowa
Alternative title
Advertising frame
Type
Patent
Subtype
Utility model
Authors/Creators
Publisher
Urząd Patentowy Rzeczypospolitej Polskiej
Date
2019
Abstract PL
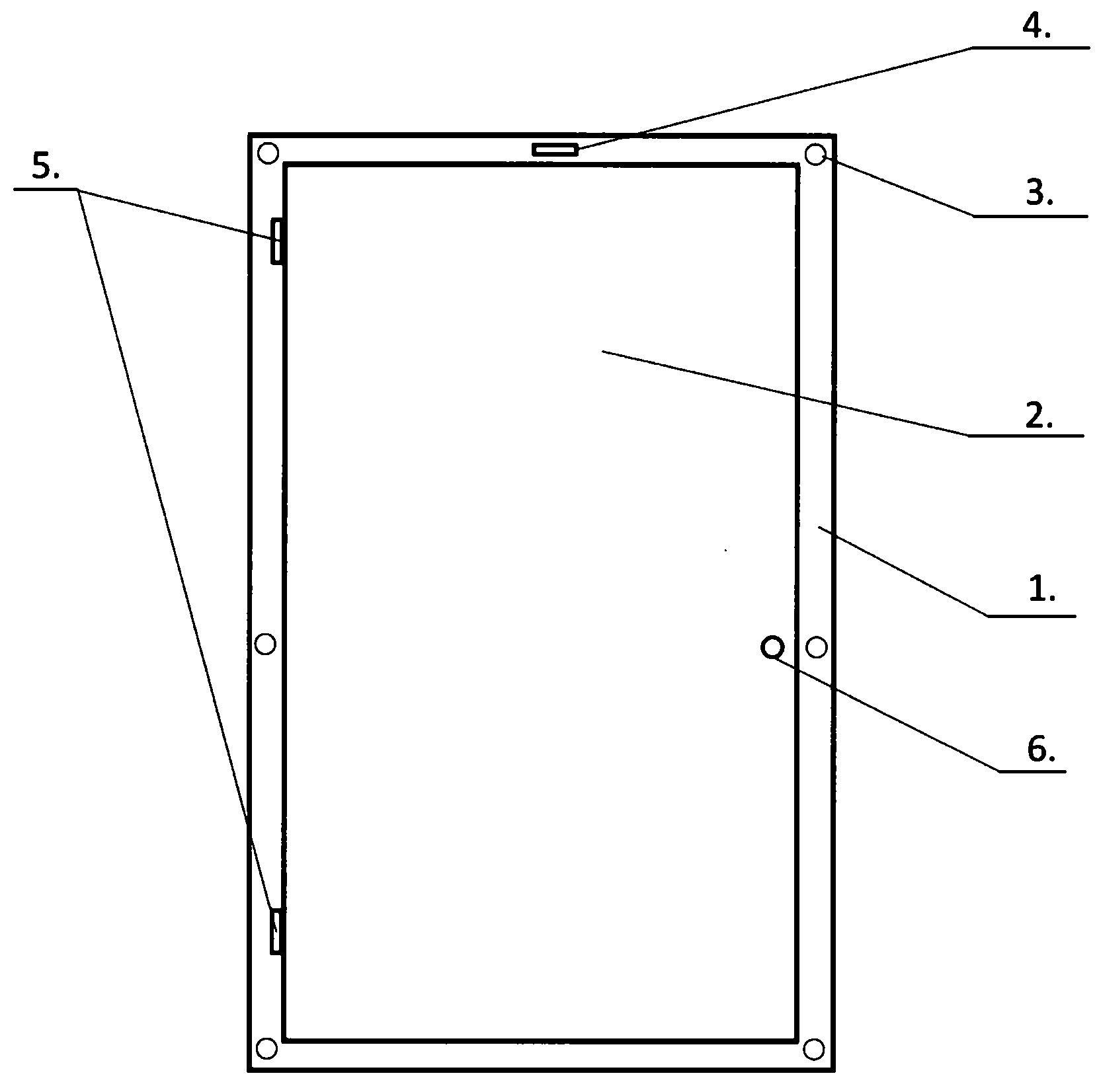
Przedmiotem zgłoszenia jest ramka reklamowa posiadająca prostokątną obudowę (1), która charakteryzuje się tym, że wewnątrz prostokątnej obudowy (1) zamocowana jest na zawiasach (5) szyba (2) ze szkła akrylowego posiadająca po przeciwnej stronie zawiasów (5) zamknięcie na zamek (6), która zamocowana jest w prostokątnej obudowie (1) za pomocą zawiasów (5) oraz po przeciwnej stronie zawiasów (5) w części środkowej przy obudowie (1) posiada zamek (6) umieszczone w szybie (2) ze szkła akrylowego przy krawędzi w części środkowej, zaś w narożach i w częściach środkowych dłuższych boków prostokątnej obudowy (1) zamocowane są głośniki (3), a w środkowej części górnej krótszego boku prostokątnej obudowy (1) zamocowana jest fotokomórka (4).
Date of filing with the Polish Patent Office or with the competent office abroad
2019-12-20
Date of publication in ‘WUP’ or equivalent foreign bulletin
2021-06-14
Exclusive right number
Ru.072007
Statistics
Skowron, Ł., Gąsior, M., Rzemieniak, M., & Wyrwisz, J. (2019). Ramka reklamowa. Urząd Patentowy Rzeczypospolitej Polskiej. https://hdl.handle.net/20.500.14629/18167

Loading...
Files
miniaturka.jpg
JPG 93.77 KB
Licence
Accessibility issue?Request a WCAG-compliant file
Publication available in collections: