Uchwyt do badań wytrzymałości na ściskanie
Alternative title
Grip for strength tests
Type
Patent
Subtype
Invention
Authors/Creators
Publisher
Urząd Patentowy Rzeczypospolitej Polskiej
Date
2014
Abstract PL
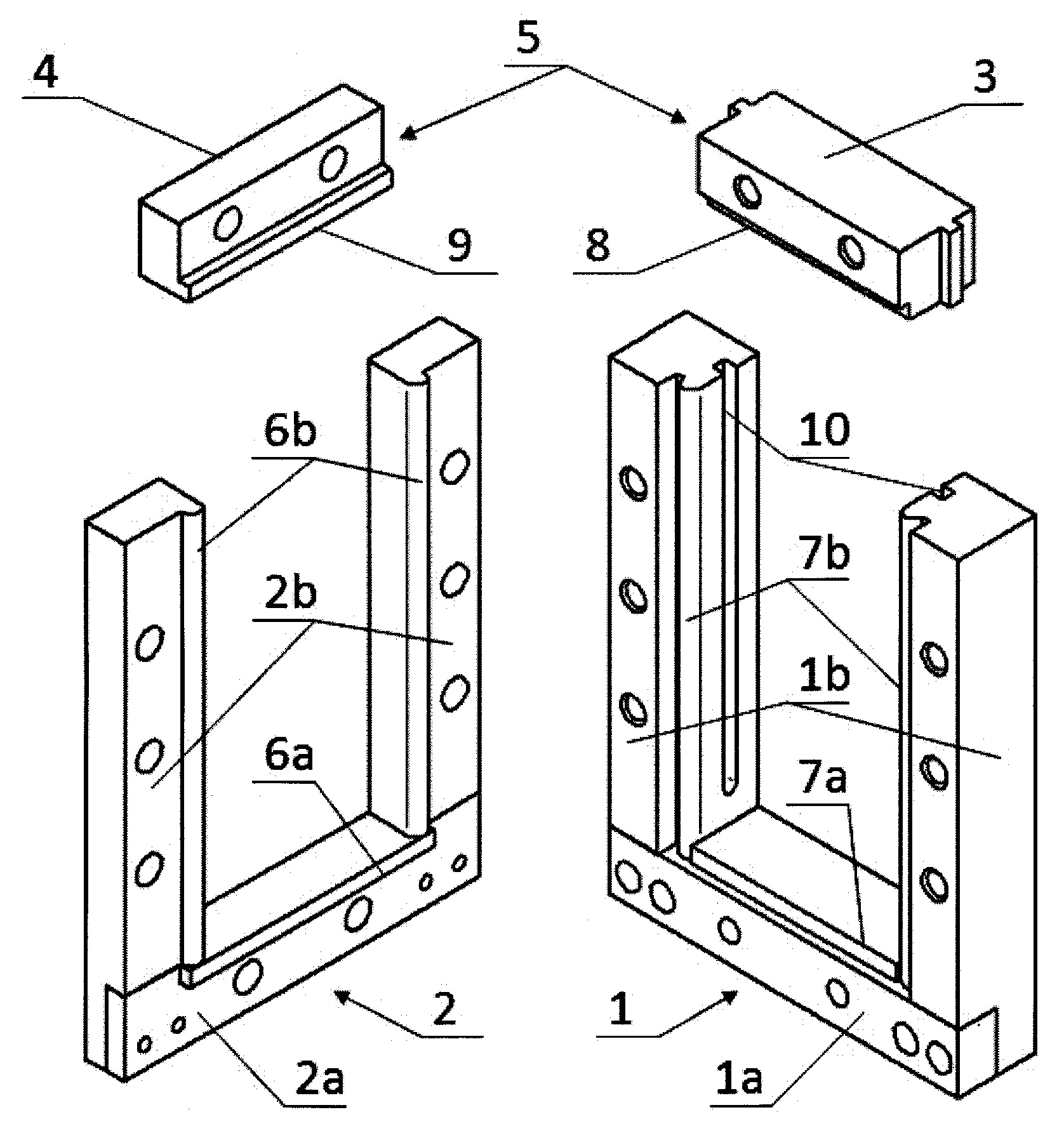
Uchwyt do badań wytrzymałościowych posiadający korpus (1), element (2) dociskający i stempel (5) charakteryzuje się tym, że korpus (1) posiada podstawę (1a) z dwoma ramionami (1b) zwróconymi w jedną stronę, prostopadle do podstawy (1a) oraz z elementu (2) dociskającego, posiadającego podstawę (2a) z dwoma ramionami (2b) zwróconymi w jedną stronę, prostopadle do podstawy (2a) elementu (2) dociskającego. Korpus (1) połączony jest rozłącznie z elementem (2) dociskającym w ten sposób, że podstawa (1a) korpusu (1) i podstawa (2a) elementu (2) dociskającego oraz ramiona (1b) korpusu (1) i ramiona (2b) elementu (2) dociskającego przylegają do siebie. Pomiędzy ramionami (1b) korpusu oraz ramionami (2b) elementu dociskającego (2) znajduje się stempel (5), który składa się z podstawy (3) stempla (5) i elementu (4) dociskającego stempla (5), połączonych ze sobą rozłącznie i posiadającego szerokość mniejszą od odległości pomiędzy ramionami (1b) korpusu (1).
Date of filing with the Polish Patent Office or with the competent office abroad
2014-05-12
Date of publication in ‘WUP’ or equivalent foreign bulletin
2020-12-14
Exclusive right number
Pat.236154
Statistics
Surowska, B., Bieniaś, J., Jakubczak, P., & Dadej, K. (2014). Uchwyt do badań wytrzymałości na ściskanie. Urząd Patentowy Rzeczypospolitej Polskiej. https://hdl.handle.net/20.500.14629/17755

Loading...
Files
miniaturka.jpg
JPG 440.13 KB
Licence
Accessibility issue?Request a WCAG-compliant file
Publication available in collections: