Kotwa odspajająca
Alternative title
Breaking anchor
Type
Patent
Subtype
Invention
Authors/Creators
Publisher
Urząd Patentowy Rzeczypospolitej Polskiej
Date
2022
Abstract PL
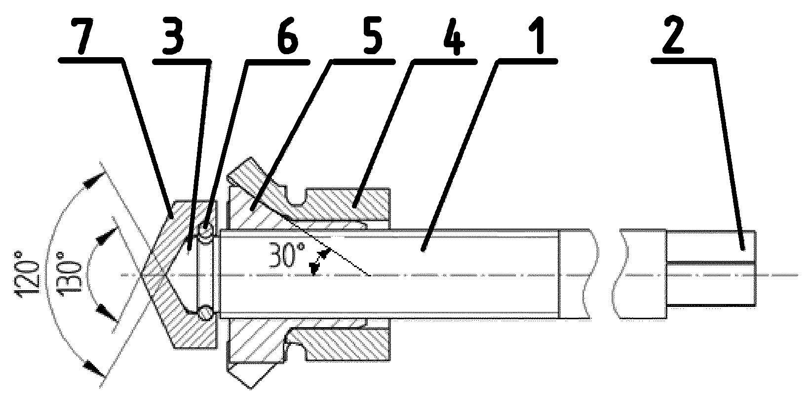
Przedmiotem zgłoszenia jest kotwa odspajająca posiadająca śrubę napędową (1) z zakończeniem kwadratowym (2) z jednej strony i z zakończeniem stożkowym (3) o kącie stożka 120° z drugiej strony, przy czym na śrubie napędowej (1) od strony zakończenia stożkowego (3) znajduje się tuleja sprężysto-rozprężna (4) z wewnętrznym podcięciem stożkowym pod kątem 30° do osi tulei sprężysto-rozprężnej (4) i nakręcona jest nakrętka stożkowa (5) o kącie tworzącej 30°. Kotwa charakteryzuje się tym, że do zakończenia stożkowego (3) śruby napędowej (1) zamocowany jest za pomocą dwóch kołków (6) stożkowy element podporowy (7) o kącie zewnętrznego stożka 130°.
Date of filing with the Polish Patent Office or with the competent office abroad
2022-11-04
Date of publication in ‘WUP’ or equivalent foreign bulletin
2024-02-19
Exclusive right number
Pat.244682
Jonak, J., Karpiński, R., & Wójcik, A. (2022). Kotwa odspajająca. Urząd Patentowy Rzeczypospolitej Polskiej. https://hdl.handle.net/20.500.14629/17483

Loading...
Files
miniaturka.jpg
JPG 196.46 KB
Licence
Accessibility issue?Request a WCAG-compliant file
Publication available in collections: